Мишин Александр Михайлович
Начала высшей физики

Самиздат: [Регистрация] [Найти] [Рейтинги] [Обсуждения] [Новинки] [Обзоры] [Помощь|Техвопросы]
Ссылки:
Школа кожевенного мастерства: сумки, ремни своими руками Типография Новый формат: Издать свою книгу
Оценка: 4.86*15  Ваша оценка:
  • Аннотация:
    В сборник включены авторские работы, содержащие оригинальные материалы исследований многомерных и фрактальных свойств простран-ствавремени - мирового эфира. Научный поиск основан на результатах лабораторных экспериментов и натурных наблюдений. Разработана новая эмпирическая концепция с использованием приборов с искусственным биополем и метода "физической сенсорики". Открыты неизвестные законы эфиродинамики. Дано эмпирическое описание квазивещественных структур, не принадлежащих нашему Миру ("темного" вещества в параллельных мирах). Экспериментально доказано существование пятой физической силы. Модель Мироздания представлена пространственно четырехмерным Единым Полем Эфира. В рамках фрактально многомерной динамики по нетрадиционному излучению определены точные координаты Центра Вселенной и его активные свойства. Доказано влияние излучения Центра на активность Солнца и земные процессы. Найдено объяснение ряду астрофизических и геофизических явлений. Изложенные в книге эмпирические начала высшей физики будут полезны всем, кого интересуют перспективы развития и недостающие звенья общепризнанной научной парадигмы, кого влекут неизведанные области естествознания.


  
  
  
  
  
  
  
  

А.М. МИШИН

  
  

НАЧАЛА

ВЫСШЕЙ ФИЗИКИ


  
  
  
  
  

А.М. МИШИН

  
  
  
  

НАЧАЛА

ВЫСШЕЙ ФИЗИКИ

Сборник статей

  
  
  
  
  
  
  
  
  
  
  
  
  
  
  
  

Санкт-Петербург

2009

  
  
   УДК 53+52+001.94.53
   ББК 63
   М 711
  
  
   Мишин А.М.
   Начала высшей физики. Сборник статей. - СПб.:
   АНО "НТЦ им. Л.Т. Тучкова", 2009. - 276 с.
  
   ISBN 978-5-98905-011-6
  
   В сборник включены авторские работы, содержащие оригинальные материалы исследований многомерных и фрактальных свойств пространства-времени - мирового эфира. Научный поиск основан на результатах лабораторных экспериментов и натурных наблюдений. Разработана новая эмпирическая концепция с использованием приборов с искусственным биополем и метода "физической сенсорики". Открыты неизвестные законы эфиродинамики. Дано эмпирическое описание квазивещественных структур, не принадлежащих нашему Миру ("темного" вещества в параллельных мирах). Экспериментально доказано существование пятой физической силы. Модель Мироздания представлена пространственно четырехмерным Единым Полем Эфира. В рамках фрактально многомерной динамики по нетрадиционному излучению определены точные координаты Центра Вселенной и его активные свойства. Доказано влияние излучения Центра на активность Солнца и земные процессы. Найдено объяснение ряду астрофизических и геофизических явлений.
   Изложенные в книге эмпирические начала высшей физики будут полезны всем, кого интересуют перспективы развития и недостающие звенья общепризнанной научной парадигмы, кого влекут неизведанные области естествознания.
  
  
  
  
  
  
  
  
  
  
   ISBN 978-5-98905-011-6 No А.М. Мишин, 2009
  
  
  
  
   Верной спутнице всей моей жизни
   Светлане и родственной душе Алине
   с любовью посвящаю
  
   Автор
  
  

 []



  
  
  

СОДЕРЖАНИЕ

  
  
  
  
  
  
  
  
  
  
  
  
  
  
  
  
  
  
  
  
  
  
  
  
  
  
  
  
  
  
  
  
  
   "Гипотез не измышляю..."
  
   Исаак Ньютон
  
  

От автора

  
   Эта книга предназначена для всех, кто хочет расширить свое мировоззрение за пределы официальных курсов физики и понять причины идейного перекоса в фундаменте современного естествознания. Название "Начала высшей физики" (сверхфизики), на мой взгляд, наиболее точно отражает перспективы развития и недостающие звенья в научной парадигме общепризнанной элементарной (классической) физики.
   Перед Вами, уважаемый читатель, мои избранные научные труды по физике эфира, многомерного пространства-времени и параллельных миров. Это брошюра, доклады, прочитанные на международных научных форумах, и статьи, опубликованные в различных изданиях с 1987 по 2009 г. Основной материал расположен в хронологическом порядке.
   В этих публикациях отражено последовательное движение к более детальному и точному описанию новых свойств пространства-эфира и неизвестных видов материи на основе оригинальных эмпирических результатов с поиском наиболее приемлемой научной терминологии. Идейная многоплановость исследуемых задач настолько обширна, что автор счел возможным включить в сборник ряд статей, освещающих под различными ракурсами материальность пространства, используя единую базу эмпирических исследований. Это полезно как для уточнения новой терминологии, так и для более глубокого понимания физики изучаемых явлений. Впрочем, читать книгу можно с любой заинтересовавшей Вас статьи.
   Неполноценность концептуальных основ современной физики экспериментально доказана мной в 1985 г., чему посвящена брошюра "О новых свойствах физического вакуума, гравитационного поля и массы" (1988). Эта брошюра открывает настоящий сборник и является развернутой программой исследований, базирующейся на первых открытиях. В последующих публикациях физическое пространство представлено более детально проработанной качественной эмпирической моделью Единого Поля Эфира.
   Новые явления и эффекты специально проверялись на достоверность с использованием независимых экспериментальных методов. Вполне естественно, что в моих работах нет математики, как не было ее в трудах Галилея, Ньютона, Ломоносова, Фарадея и других основоположников классической физики. С качественного эмпирического уровня правильнее начать изучение основ высшей физики, имеющей определенную связь с эзотерическими науками.
   Предмет исследования заслуживает особого внимания, потому что с физическим пространством более всего связано противоречивых мнений, недомолвок и откровенного невежества. Да и сама история науки, освещая феномены творческого поиска, часто их искажает. В угоду ученому обывателю общественное мнение создает идеализированные, приглаженные идейные стереотипы, приписывая, например, Ньютону, который ввел в физику понятия абсолютного пространства и времени, отрицание концепции мирового эфира. Однако в действительности все обстоит иначе, - для одних сложнее, для других прозрачнее. И гениальный Ньютон, и другой величайший физик А. Эйнштейн неоднократно меняли свое отношение к эфиру, никогда не отбрасывая напрочь этот фундамент Мироздания. В то же время доподлинно известно, что не менее талантливые ученые Декарт, Фарадей, Максвелл и другие никогда не сомневались в существовании эфира. И только современная официальная (академическая) физика, пытаясь уйти от исторической ответственности и пренебрегая мнением великих предшественников, дипломатично подменила эфир расплывчатым понятием "физического вакуума".
   Чтобы окончательно разобраться с проблемой пространства-эфира, мне пришлось более 20-ти лет ежедневно непредвзято, в добровольной творческой изоляции изучать единую всемирную материю, - основу пространства, - путем необычных наблюдений и опытов. Для этого была разработана специальная методика, позволившая преодолеть чувственный "дальтонизм" и развить клеточное осязание (шестое чувство) до такой степени, что состояния эфира стали восприниматься более отчетливо, чем окружающий воздух. В итоге была создана экспериментальная методология как синтез сверхфизических и традиционных методов. Эта новая эмпирическая концепция открыла пути изучения многомерных свойств сверхтекучего эфира с его фазовыми состояниями ("стихиями") и многочисленными подпространствами.
  
   К сожалению, специальной монографии написать не удалось. Этот сборник - первая и последняя книга с важнейшими итогами моей неофициальной, глубоко личной научно-исследовательской работы. Естественно, по мере получения новых результатов эфиродинамические модели уточнялись, поэтому можно встретить разночтения в статьях, написанных в разное время. Самое ценное в книге - это полученные эмпирическим путем новые научные факты, доказывающие вещественную многомерность материи Вселенной ( реальность параллельных миров) и связывающие познавательным мостом официальную физику с эзотерическими концепциями.
   Примите благодарность, Высшие Силы, одарившие меня физическим мышлением, экспериментальным чутьем и допустившие в свои Владения. Только по Вашей воле написана эта не просто книга, а отчет очевидца, исследовавшего тонкие эфирные миры без распространенного ныне насилия над собственным воображением. Пусть и Вас, проницательный читатель, поведет к истине моя Заповедь:
   О, Интуиция! Дай мне крылья,
   Чтобы перелететь через Хаос бесплодных теорий
   И опуститься в долине Открытий!
   По-настоящему прочитанное понимает тот, кто удобно чувствует себя в кресле автора. Пусть таким "креслом" для читателя будут мои откровение и прямодушие, не отягощенные псевдоученостью, влиянием научных авторитетов и стремлением к коммерческому успеху.
  
   Выражаю глубокую признательность с пожеланием земных благ моим единомышленникам, оказавшим идейную поддержку и помощь на различных этапах работы: рецензенту брошюры проф. Фатееву В.Ф., президенту Международной Федерации "Шейпинг" проф. Прохорцеву И.В. председателю Международного конгресса "Фундаментальные проблемы естествознания и техники" проф. Смирнову А.П., главному редактору журнала "New Energy Technologies" Фролову В.А., редактору газеты "Аномалия" Сырченко Т.М., сотруднику ГАО РАН в Пулково Шпитальной А.А., и к.т.н. Кривошей М.И..
   Научные исследования и выход в свет этой книги я никогда бы не осуществил без душевного участия и реальной помощи близких мне людей. Моя особая благодарность к.т.н. Мишину С.А. за информационное обеспечение, компьютерную верстку и организацию издания книги, Мишину М.А. за содействие в обеспечении экспериментальных работ и ученому секретарю Сочинского центра РАН к.ф-м.н. Рыбак Е.А. за редактирование и публикацию моих статей.
  
  
   29 июля 2008 г. Александр Мишин
  
   Санкт-Петербург
   "Во Вселенной нет ничего, кроме
   эфира и его вихрей"
  
   Рене Декарт
  

Введение

  
   Высшей физикой будем называть науку, изучающую эмпирическими и только во вторую очередь теоретическими методами многомерные свойства пространства-времени и различные виды материи параллельных миров. Фундаментальным понятием начал высшей физики является многомерное Единое Поле Эфира, которое в ортодоксальной науке представлено категориями трехмерного геометрического пространства, классического вещества и времени. Многовековая практика раздельного восприятия и изучения пространства и вещества привела к тому, что первое считается простым вместилищем материальных объектов. Однако в действительности вещество - это всего лишь совокупность особых динамических вихревых процессов самого пространства-эфира. Субъективное невосприятие материальности пространства, содержащего вихри эфира всевозможных размеров, легло в основу традиционного физического мировоззрения, в сети которого попал даже Эйнштейн, так и не создавший теорию единого поля.
   В реальном пространстве Мироздания, вмещающем множество вселенных-эксавихрей, едино и материально все: наше подпространство (физический вакуум), гравитационные и электрические поля, вещество нашего мира в любом состоянии и различные формы невидимого, "темного" вещества в иных подпространствах. Время - это особая "фазовая" категория, и о его материальности, на мой взгляд, говорить некорректно. К понятию Единого Поля Эфира имеет прямое отношение приводимый в моих публикациях гениальный постулат Рене Декарта: "Во Вселенной нет ничего, кроме эфира и его вихрей". На этом постулате, как на фундаменте, стоят изложенные в книге начала высшей физики, но теперь уже доказанные экспериментально.
   В турбулентном поле Мирового сверхтекучего эфира существует множество разномасштабных вихре-волновых структур, образующих стереодинамически многомерное фрактальное физическое пространство, допускающее существование параллельных материальных миров. По определению параллельный мир - это вещественная вихревая форма, названная "квазивеществом" и принадлежащая другому масштабу пространства-времени (другому уровню "вибраций"). В моих исследованиях рассматриваются также потенциальные параллельные миры - подпространства, заполненные протовеществом как виртуальной формой материи (эфира в состоянии первичного вихревого возмущения - виртуальной "пены"). Классическим аналогом потенциального мира является электрон-позитронный и протон-антипротонный физический вакуум. Вещественные формы параллельных миров (эфироний и другие виды квазивещества) по сравнению с виртуальным протовеществом являются организованными и долгоживущими вихревыми образованиями.
   Чем отличаются мои научные результаты от большого числа теорий других современных авторов, также пытающихся выйти за рамки классической физики? Все дело в методологии эмпирических наблюдений и экспериментальных исследований - этой матери любой достоверной науки. Если автор создает теорию, опираясь на чужие научные факты, а сам не способен наблюдать новые природные явления, то его выводы всегда будут околонаучны и в лучшем случае полудостоверны. Такими результатами, если говорить о фундаментальных науках, более чем на 90% заполнены наши научные библиотеки.
   Особенность моей экспериментальной методологии заключается в использовании шестого сенсорного чувства, способного воспринимать и оценивать физические характеристики квазивещественных эфиродинамических структур в широком вихревом спектре. При этом определяется плотность и направление движения эфирных потоков, а также градиенты плотности и анизотропные свойства статических не воспринимаемых обычными средствами нетрадиционных полей. Таким образом, не составляет труда обнаружить и качественно, но достоверно оценить некоторые физические характеристики невидимой "темной" материи, которая в последнее время все больше беспокоит традиционную науку при решении астрофизических проблем.
   Полученную через шестое чувство (клеточное осязание) информацию способен объективно интерпретировать только физик по призванию, так как на обывательском уровне указанный информационный канал стал источником далекой от науки деятельности в виде оккультных спекуляций или околомедицинского шарлатанства. Но последнее обстоятельство не должно служить поводом для огульного отбрасывания экстрасенсорной информации как лженаучной. Здесь целесообразно отмежеваться от обычных экстрасенсов введением понятия "физической" сенсорики, отличающейся собственной методологией и не требующей от экспериментатора особых сверхчувственных способностей.
   Главная задача ученого новой формации, - кстати, очень сложная, - как перевести на общедоступный физический язык научные результаты, полученные в процессе нетрадиционного наблюдения. Понимая недоверие научной общественности к моим открытиям, я взял за правило каждое новое природное явление воспроизводить в лаборатории с помощью известных технических средств. Однако здесь возникли проблемы с терминологией и объяснением необычных режимов работы физических приборов. Для понимания новых технических принципов необходимо смотреть на мои опыты не с позиций "плоской" элементарной науки, а с позиций многомерного Единого Поля Эфира. Эта многомерность по физическому смыслу соответствует 4-му пространственному (фрактальному) измерению "внутри" трехмерного пространства, т. е. пространственно-временной масштабной координате в "направлении" изменения размера вихрей вещественных и квазивещественных состояний эфира. Четвертое измерение трехмерного пространства древние ученые называли "глубиной". На этот фундаментальный идейный прорыв будет обращено внимание в представленных ниже более поздних докладах и статьях.
   Ключевым в новой экспериментальной методологии является понятие "искусственного биополя", введенное по аналогии с известным термином "искусственный интеллект". Сущность нового понятия заключается в невидимом неклассическом виде квазивещественного вихревого поля эфира, которое плотнее окружающего эфира и содержится во всех физических телах и приборах как присоединенная "жидкая" масса. Например, за пределы любого твердого тела выходят вихревые возмущения эфира ("топологические" гармоники и субгармоники), создаваемые элементарными частицами, атомами и молекулами этого тела. Обычно, подчиняясь принципу наименьшего действия, полевая "темная" материя занимает минимальный объем.
   Однако можно создать электромагнитный прибор с использованием усилителя (трансформатора) и специфической пространственной обратной связи, который будет окружен нетрадиционным полем в радиусе, значительно превышающем размеры прибора. Именно такая область возмущенного пространства названа искусственным биополем, потому что она, как и эфирное поле биосистемы, создается внутренними автоколебательными процессами как на атомно-молекулярном, так и на макроуровне. Вихри эфира в искусственном биополе имеют вид торов, нитей и отражают вещественный состав создавшей его аппаратуры.
   Малоизученные вихре-волновые структуры эфира, отличающиеся от искусственного биополя более широким спектральным составом, "излучаются" космическими телами, разряженной материей и заполняют межзвездное пространство. Такие структуры подчиняются принципу дуализма волна-частица, и также относятся к квазивеществу, т.е. к "темной" материи и протовеществу (первичным материальным подпространствам).
   Следует заметить, что экспериментальная регистрация нетрадиционных процессов по методу искусственного биополя - это тонкая технология, учитывающая сверхтекучие и особые информационные свойства эфира. Как станет ясно из дальнейшего изложения, серия приборов, реализующих этот метод, дала возможность изучать невидимый ранее Мир, совершенно адекватный моим физикосенсорным наблюдениям, экспериментально доказать факт существования новой физической реальности и открыть фундаментальные законы Вселенной.
  
   Исследования по физике мирового пространства-эфира начаты мной в 1982 г. Экспериментируя с гидродинамическими системами, я открыл пространственную анизотропию диффузионных процессов, обусловленную вращением Земли. Открыл макроскопические вихри эфира (гидродинамический парадокс) и изучил их свойства (1985 г.). Разработал различные типы эфирных флюгеров, в том числе с использованием силы Магнуса. В лабораторных условиях воспроизвел явление суперротации (вращение жидкости быстрее сосуда, 1987 г.). Ввел научное понятие "жидкой" массы физического тела (квазивещества) и доказал, что вихри эфира независимо от размера обладают вещественными свойствами, т.e. собственной массой.
   Выполнил эксперимент по передаче момента импульса на расстояние. Экспериментально доказал, что механика эфира как сверхтекучей квантовой жидкости (газа) подчиняется фундаментальному принципу наименьшего возмущения и что реакция физических тел на воздействия свободного эфира (пятая физическая сила) блокируется адаптационным, энергоинформационным барьером, проницаемость которого в низкочастотной области изменяется по закону фликкер-шумов. Ввел научные понятия самоскомпенсированных эфирных потоков (полей), "мерцающих" физических законов. На основе проведенных экспериментов доказал, что физическое пространство является стереодинамически, фрактально многомерным, расслоенным на фазы материальным эфиром (1990 г.).
   Опираясь на открытые законы эфиродинамики, разработал новую эмпирическую концепцию и создал лабораторный физический прибор, имитирующий биосистемы на уровне эфирных восприятий (эфирный робот). Ввел понятие многомерной физической системы с искусственным биополем (1991 г.). С помощью этого прибора исследовал анизотропные свойства пространства-эфира. Зафиксировал эфирный ветер, возникающий при движении Земли по солнечной и галактической орбитам, анизотропию Баурова-Ефимова-Шпитальной (анизотропию БЕШ) и другие анизотропные направления. Обнаружил зависимость вихревого спектра набегающего эфирного потока от скорости движения тела. Открыл узкие каналы "жидкой" массы (плотного эфира) между космическими телами, что позволило зарегистрировать эфирное "излучение" Солнца, Центра Галактики, Луны, Юпитера и кометы Хакутаке (1996 г.).
   Открыл "красный" и "фиолетовый" сверхфизические энергокаскады - квазиядерные термодинамические процессы в турбулентном поле эфира. Уточнил модель эфира: ввел понятие сверхтекучей вихревой среды, одновременно пребывающей в плазменном, "твердом", жидком и газообразном состояниях (фазах, или "стихиях"). Фрактальное направление (изменение размера самоподобных вихрей-корпускул) определил как 4-ю пространственную координату, проходящую через параллельные миры (1997 г.).
   Разработал эфирную модель гравитационного поля Земли и экспериментально открыл явление антигравитации электронов и гравитационный термоэлектрический эффект (1998 г.). Оба явления объяснил существованием в околоземном пространстве вихревой "решетки" с размером ячейки (вихря), обратно пропорциональной плотности эфира. Экспериментально доказал, что вертикальное движение в таком подпространстве сопровождается явлением антигравитации и новыми энергетическими процессами. Пришел к выводу, что электрическое поле Земли создается градиентом плотности эфира. Объяснил суточные вариации этого поля.
   В 1999 г. открыл основной закон эфиродинамики - закон возмущения эфира телами и динамическими процессами нашего мира. Ввел понятие невидимого, "темного" вещества, такого же антивещества и соответствующих им вихревых волн типа де Бройля (в неклассических подпространствах). В лаборатории при соединении вещественной и антивещественной вихре-волновых структур получил невидимое вещество - эфироний (аналог позитрония), способное к самоподдерживающейся реакции "горения" при соприкосновении с открытым пламенем. Ввел понятие "топологических" гармоник классического вещества. Теоретически предсказал и экспериментально изучил продольный термомагнитный эффект, объясняющий температурные различия Северного и Южного полушарий Земли и Солнца (2001 г.).
   Используя основной закон, результаты собственных наблюдений и известные координаты анизотропии БЕШ, построил эмпирическую модель вращающейся Вселенной со Звездой Абсолюта в Центре. Прибором с искусственным биополем определил точные координаты и характер нетрадиционного излучения Центра Вселенной. Совместно с А.А. Шпитальной, используя Большой пулковский радиотелескоп, обнаружили влияние излучения Звезды Абсолюта, Центра Галактики и анизотропии БЕШ на активность Солнца (2001 - 2004 г.г.). Совместно разработали методику краткосрочного прогноза солнечной активности (2005 г.).
   В 2005 г. открыл принцип билокального действия и спиральный детектор, позволившие создать регистрирующий прибор, который способен наблюдать процессы в параллельном мире через длительно открытое "окно" в энергоинформационном барьере. Новейшим открытием стал сверхфизический сигнал, доказавший реальность известной в астрологии "черной" Луны. В 2006 г. открыл квазинедельную периодичность активности Центра Вселенной и описал эфиродинамические источники энергии Солнца. По квазинедельному закону изменяется и амплитуда фликкер-шумов, регистрируемых наземными приборами. Этой закономерности подчиняются все геофизические, биологические и техногенные процессы.
   В 2007 г. сформулировал принцип "жерновов", по которому за счет энергии вращения Вселенной создаются главные вещественные уровни в Едином Поле Эфира. Подтвердилось, что классическое вещество рождается в масштабах звездной иерархии. Определил направление и особые свойства эфирного ветра, создаваемого вращением Вселенной, и доказал существование у нее своего "млечного пути".
   В 2008 г. ежедневно регистрировал направление эфирных потоков в процессе "дыхания" Солнца и интенсивность нетрадиционного излучения Центра Вселенной по 5-тибальной шкале с целью дальнейшей оценки влияния этого излучения на солнечные, геофизические процессы и биосферу Земли.
  
  
   "Применение математических методов не полезно,
   а вредно до тех пор, пока явление не освоено
   на доматематическом, гуманитарном уровне"
  
   Е. Вентцель
  

О новых свойствах физического вакуума,
гравитационного поля и массы

  
   В работе на основе оригинальных экспериментов и результа­тов наблюдений сформулированы постулаты, раскрывающие новые закономерности вакуума и уточняющие характеристики гравитацион­ного поля и массы. Доказано существование пятой фундаменталь­ной физической силы. Обнаружены и изучены тороидальные вихри вакуума (эфира); установлено образование у физических тел присоединен­ной вакуумной "жидкой" массы. Разработана качественная феноме­нологическая модель реального вакуума, предполагающая, что ха­рактеристики фликкер-шумов и сверхтекучих жидкостей отражают его макроскопические свойства. Найдено объяснение ряду явлений в геофизике и астрофизике.
  
   1. ВВЕДЕНИЕ
  
   Теория физического вакуума (мирового эфира) и тесно связан­ная с ней теория гравитации имеют сложную историю развития и да­леки от своего завершения. В настоящее время в физике, и в основ­ном в астрофизике, накопилось достаточно данных, убеждающих в необходимости "ревизии" фундаментальных результатов Ньютона и Эйнштейна. Имеются в виду исходные идеи новой теории гравитации А.А.Логунова [I], космогонические гипотезы Я.Б.Зельдовича [2], дискуссия о "скрытой" массе [ 3], но в еще большей мере "крамоль­ные" эксперименты Н.А.Козырева [4], С.Э.Шноля [5] и некоторые другие. При здравом рассуждении нетрудно заметить, что для ус­пешного развития фундаментальных основ физики явно не хватает более убедительных и научно достоверных экспериментальных фак­тов, которые устраняли бы противоречия в существующих физи­ческих моделях в рамках более общего подхода и могли бы лечь в основу действительно новой теории.
   История науки показывает, что всякая качественно новая теория строится на качественно новых (иногда известных, но до некоторого времени неправильно трактуемых) научных фактах, объективно отражающих те или иные свойства реального мира. Из­вестно, что классическая механика опирается на блестящие опыты (наблюдения) Кеплера, Галилея и самого Ньютона; фундамент элек­тромагнитной теории заложили выдающиеся физики-экспериментато­ры Эрстед, Ампер и Фарадей. Но далее, на рубеже двух веков, в физике макроскопических явлений взяли верх умозрительные, сугубо теоретические методы, и венец этой работы в виде теории относительности Эйнштейна затмил, на наш взгляд, своим матема­тическим блеском и кажущейся завершенностью существенные сторо­ны реальной действительности. Более того, среди современных ученых (не без влияния идей квантовой механики) стало распрост­раняться мнение, что дальнейшее развитие физики не совместимо с категориями "здравого смысла".
   С таким положением трудно согласиться, не возведя в абсо­лют возможности математического формализма. Настало время вспомнить эвристические методы классиков-естествоиспытателей прошлого века и снова повернуться лицом к природе; попытаться найти с ней общий язык, вооружившись терпеливым наблюдением и обращенными к первичной сущности материи простейшими опытами. По нашему убеждению, только такой путь может привести к ка­чественно новым знаниям о макромире, об основах физики и приблизить нас еще на один шаг к научной истине.
   Экспериментальная работа, о которой идет речь, должна быть направлена прежде всего на исследование состояний материи, представляющих фундамент классической физики, таких как ваку­ум (эфир), гравитационное поле и масса, причем в обычных, не­релятивистских условиях. Такие исследования, начатые в 1982г., проводятся автором данной работы.
   Анализ пройденного извилистого пути творческого процесса представляется здесь неуместным. Однако именно этот процесс, включающий в себя сотни перемежающихся актов наблюдений и опытов, позволил установить неизвестные ранее свойства вакуума, гравитационного поля и массы (новый вид силового взаимодейст­вия и отклонения от механики и теории гравитации Ньютона), вы­ходящие за рамки устоявшихся представлений, и построить вполне убедительную систему доказательств. На данном этапе исследова­ний речь идет только о качественной феноменологической модели изучаемых явлений, т.е. о создании экспериментальной и идейной основы новой теории, или физики макроскопического вакуума. Из­вестные микроскопические свойства последнего рассматриваются далее только для общности развиваемой концепции.
  
   2. ОСНОВНЫЕ ПОСТУЛАТЫ
  
   Чтобы сразу показать направление и главные результаты ра­боты, начнем изложение с постулатов, которые в дальнейшем бу­дут доказаны прямыми экспериментами, не исключая анализа из­вестных научных фактов, а также результатами наблюдений за при­родными явлениями. Постулаты и вытекающие из них следствия обобщают представления автора о реальном вакууме и предлагают модели неизвестных ранее явлений и свойств материального мира.
   Постулат 1. Общие свойства вакуума.
   Макроскопический физический вакуум, заполняющий все миро­вое пространство, является материальной средой в виде специфи­ческой квантовой, сверхтекучей жидкости, находящейся в турбу­лентном состоянии и отличающейся сильно выраженными нелинейны­ми ("реологическими") свойствами. Вихревые возмущения вакуума, характеризующие его массу (энергетическую плотность), в области микро- и мегамасштабов отличаются бсльшей энергией и бсльшей устойчивостью.
   Следствие 1. Физическое тело (вещество) представляет со­бой стабильную систему микроскопических вихрей вакуума; пос­ледние отличаются околосветовой скоростью вращения и способ­ностью к сильной "поляризации" вакуума в виде электромагнит­ных и других полей.
   Следствие 2. Взаимодействие физических тел с вакуумом ха­рактеризуется тремя принципами: принципом наименьшего возмуще­ния вакуума, принципом нулевого момента возмущенного количест­ва движения и принципом "индукционности" (взаимодействует с однородным вакуумом только ускоренное тело).
   Следствие 3. Гравитационное поле представляет собой осо­бое напряженное состояние вакуума, реализующее принцип наимень­шего возмущения последнего со стороны физических тел.
   Постулат 2. Взаимодействие вакуума с гравитационным по­лем.
   Энергия случайных вихревых движений вакуума (макроскопичес­ких "виртуальных частиц") распределена в пространстве пропор­ционально градиенту напряженности гравитационного поля; в ре­зультате этого любое макроскопическое тело, как и микрочастицы, обладают, помимо классической, присоединенной "жидкой" массой, зависящей от локального энергетического состояния (возбуждения) вакуума.
   Следствие 1. Наличие вакуумной жидкой массы у тел, состав­ляющей в среднем более 10% процентов от "твердой" массы, тре­бует введения соответствующих поправок в механику Ньютона (учет вакуумной "гидродинамики").
   Следствие 2. Масса макроскопической турбулентности ваку­ума является одной из форм "скрытой" массы во Вселенной.
   Следствие 3. Вакуумная жидкая масса деформируется при ус­корении и гравитационном взаимодействии тел, что в свою оче­редь приводит к частичной деформации самого гравитационного поля.
   Постулат 3. Квазиустойчивые макроскопические вихри ваку­ума.
   При определенной структуре гравитационного поля, создава­емого телами несферической формы, и наличии относительного движения тела и вакуума возникает квазиустойчивая система ва­куумных вихрей, пронизывающих тело и окружающее пространство. Самостоятельные вакуумные вихри вступают в силовое взаимодей­ствие между собой, притягиваясь или отталкиваясь в зависимос­ти от направления их взаимного вращения.
   Следствие 1. При определенных условиях сила взаимодейст­вия квазиустойчивых вакуумных вихрей, возбуждаемых в системе двух и более тел, может существенно превышать силу гравитаци­онного притяжения этих тел.
   Следствие 2. При вращении относительно оси круговой сим­метрии тел дискообразной формы, содержащих твердую и жидкую фазы, охватывающий такую систему тороидальный вакуумный вихрь при определенной скорости вращения вызывает явление суперротации (в жидкости).
   Следствие 3. Глобальные вакуумные вихри, образующиеся на физических телах, включая планеты, звезды, способствуют дис­сипации энергии вращательного движения и создают момент силы роторного торможения (вековой тормозящий момент).
   Заметим, что распределение смысловой (идейной) нагрузки между постулатами и следствиями, как при всякой классификации, носит отчасти ус­ловный характер.
  
   3. РЕЗУЛЬТАТЫ ЭКСПЕРИМЕНТОВ
  
   Под экспериментальным направлением следует понимать не только лабораторные опыты, но и результаты прямых наблюдений за природными явлениями в геофизике, астрофизике, а также кос­венные наблюдения с помощью специально сконструированных при­боров (детекторов). Чтобы проводить такие экспериментальные исследования и комплексный анализ полученных данных, нужна четкая методическая основа, которая базируется на приведенных выше постулатах и принципах, определяющих процесс взаимодей­ствия вакуума с физическими телами (процесс возмущения вакуума). Таким образом, получается замкнутый круг: постулаты вытекают из обобщенных экспериментальных данных, а получение и анализ последних по крайней мере интуитивно опирается на закономер­ности, зафиксированные в постулатах. В этом и заключается ос­новная трудность поисковой работы.
   На рассматриваемом этапе экспериментальные исследования проводились для изучения:
  -- условий возникновения и характеристик квазиустойчивых макроскопических вакуумных вихрей;
  -- явления отрицательной вязкости (суперротации);
  -- естественных макроскопических потоков вакуума (локаль­ных участков существующих в природе глобальных и космических вихрей) - "эфирного ветра";
  -- характеристик присоединенной вакуумной "жидкой" массы у твердых тел.
   В данном случае порядок перечисления экспериментальных задач в значительной мере отражает хронологию исследователь­ского процесса. При первом изложении ограничимся обзором полу­ченных результатов.
  
   3.1. Вакуумный тороидальный вихрь
  
   Возьмем не слишком высокий (высотой меньше диаметра) цилиндрический сосуд из металла (сталь, чугун, силумин), напол­ним его свежей водой из водопроводного крана комнатной температуры или чуть ниже (на несколь­ко градусов) и закроем прозрачной крышкой. Поставим сосуд на стол вдали от окна и источников тепла и дадим жидкости успоко­иться в течение 5...10 минут. Чтобы увидеть микропотоки в жид­кости, аккуратно снимем крышку и по возможности равномерно на­сыпем в воду мелкий порошок марганцевокислого калия KMnO4, поставив крышку на место. Кристаллики соли в первый момент да­дут яркие вертикальные следы, которые в дальнейшем начнут де­формироваться, отразив интересующую нас горизонтальную ско­рость микропотоков. Характерная картина следов (эпюр горизон­тальных скоростей), образующаяся в среднем через несколько ми­нут после начала индикации, показана на рисунке 1 (а - вид сбоку, б - вид сверху).
   Если опыт повторить (со свежей водой!), подложив под сосуд достаточно мас­сивный диск, например, из чугуна, то можно заметить, что ин­тенсивность сноса следов соли (скорость микропотоков) увели­чится, а форма эпюры горизонтальных скоростей изменится так, как если бы жидкость текла только от периферии к центру. Сле­дует также отметить, что от одного наблюдения к другому интен­сивность микротечения и его симметрия относительно центра со­суда сами по себе могут изменяться, что обусловлено влиянием космофизических факторов, зависящих от времени года и суток и состояния атмосферы (активности Солнца) [6].
   Описанный простой опыт имеет глубокий физический смысл, так как любые попытки интерпретировать наблюдаемую картину как первую моду конвективной ячейки Релея-Бенара оказываются не со­стоятельными. Для рассматриваемых условий (нагрев жидкости че­рез боковые стенки сосуда) классическое конвективное течение должно иметь S-образную эпюру вертикального профиля скорости, характеризующую равенство притока жидкости к центру сосуда и её оттока к периферии. В действительности же можно добиться такого положения, когда эпюра скорости имеет форму практически симметричной, выгнутой к центру параболы (сосуд на массивном диске), что соответствует "течению" основного потока жидкости только к центру. Таким образом, наблюдается парадоксальный факт, связанный с на­рушением законов гидродинамики.
  



 []

  

Рисунок 1. Схема установки для наблюдения аномальной конвек­ции (гидродинамического парадокса). Обозначения: 1 - ме­таллический сосуд; 2 - вода; 3 - прозрачная крышка;
4 -уплотнительная прокладка; 5 - след от кристалла
KMnO4 (вертикальный профиль "скорости")

  
  
   Если присмотреться внимательнее, используя в качестве инди­каторов легкие "флюгеры" и взвеси, то нетрудно заметить, что жидкость одновременно как бы течет и не течет, что очень похоже на опыты П.Л.Капицы со сверхтекучим гелием - II [7].
   Особая структура микротечений в цилиндрическом сосуде, за­висимость их интенсивности от малоизученных внешних факторов, от материала и толщины сосуда и ряда других причин находят убеди­тельное объяснение только в рамках модели вакуумного тороидаль­ного вихря, возникающего в двухфазной системе "твердое тело - жидкость". Такой вихрь охватывает обе фазы: в жидкости вакуум течет к центру, а в металлическом основании и в тонком придонном слое - от центра, как по­казано на рисунке 2. Надо полагать, что свойства сверхтекучих жид­костей предельно отражают физическую сущность самого вакуума.

 []

Рисунок 2. Схема установки для наблюдения вакуумного тороидаль­ного вихря. Обозначения: 1 - металлический сосуд; 2 - вода;
3 - прозрачная крышка; 4 - уплотнительное кольцо; 5 - повер­хность лабораторного стола; 6 - чугунный диск; 7 - след от кристалла KMnO4; 8 - линии тока вакуумного вихря.

  
   Поскольку взаимодействие (связь) вакуума с жидкостью, твер­дым телом, ионами соли имеет совсем не изученные специфические особенности, постольку и наблюдаемое "движение" жидкости, если судить по следам соли и другим индикаторам, производит на наблю­дателя необычное и странное впечатление. При этом факт увлечения ионов KMnO4 или твердых частиц (чернильной туши) вакуумным потоком демонстри­рует новый вид силового взаимодействия в природе (новую физичес­кую силу).
   Наибольшее взаимодействие с вакуумом испытывают неравновес­ные термодинамические системы, например, соль в процессе раство­рения, плазма и т.д. Зависимость интенсивности и структуры ваку­умного вихря от толщины основания сосуда дает основание предпо­лагать, что металл (масса) обладает специфической "проводимостью" для вакуума и что с увеличением массы увеличивается и "плотность" (локальная энергия) вакуума. Очевидно, за счет взаимодействия с веществом вакуумный вихрь расходует энергию.
   Как показывают измерения, линейная скорость вакуума (вер­нее, индикатора течения) в цилиндрическом сосуде в длительно су­ществующем тороидальном вихре не превышает 0,4 мм/с. Кратковре­менные потоки вакуума могут иметь скорость на порядок больше. Наибольшая интенсивность описанных эффектов наблюдается, если сосуд расположить на дне чугунной ванны, ориентированной по направлению запад - восток. Также может быть существенным, что все эксперименты проводились на 7 этаже крупнопанельного здания.
   Но почему возникает вакуумный вихрь?
   Наделяя вакуум свойствами, изложенными в первом постулате, необходимо представлять себе, что твердое тело дискообразной формы (сковорода с водой) погружено в вакуумную сверхтекучую "жидкость", для которой любое физическое тело достаточно "прозрачно". С другой стороны, по второму постулату вакуум обладает свойством концентрировать турбулентные вихри в гравитационном поле тел так, что плотность и масса этих вихрей пропорциональны градиен­ту напряженности поля. Само тело также обладает собственной "жидкой" массой.
   Если теперь обратиться к рисунку 2, то нетрудно заметить, что напряженность гравитационного поля дискообразного тела в направ­лении диаметра должна иметь большее значение, чем в перпендику­лярном направлении, особенно в центре. Следовательно, на пери­ферии диска (и в самом диске) вакуум оказывается в среднем "плот­нее". Поэтому при малейшем внешнем возмущении в несимметричной системе типа сосуда с жидкостью (жидкость легче материала осно­вания) возникает вакуумный тороидальный вихрь, направленный так, как показано на рисунке 2. В данном случае доминирующими возмущающими факторами являются внешние потоки вакуума, изменение во вре­мени его возбужденности (флуктуации энергии вакуумного турбулент­ного поля) и наличие термодинамических процессов в жидкости (испарение).
   Макроскопический вакуумный вихрь по приведенной схеме изу­чался длительное время в различных условиях [6,11]. Эта серия опытов позволила зафиксировать следующие результаты:
  -- интенсивность и структура вакуумного вихря зависят от ма­териала и формы сосуда, от уровня и температуры жидкости, а так­же от времени и места; однако среднее состояние системы соот­ветствует медленному вращению тора к центру (индикатора в жидкости) с ли­нейной скоростью порядка 0,1 мм/с;
  -- взаимодействие вакуумного вихря с веществом тем сильнее, чем в более нестационарном, неравновесном состоянии (механическом или термоди­намическом) находится это вещество; принцип наименьшего действия приводит систему в равновесие в среднем через три часа, после чего необходимо сменить воду;
  -- самостоятельное вихревое движение вакуума (как сверхтеку­чей "жидкости") в лабораторных условиях может существовать в строго определенном интервале линейных скоростей (ускорений), ограниченных сверху величиной порядка нескольких метров в секун­ду (максимальная кратковременная скорость индикатора в лабора­торных условиях без внешнего возбуждения составила 5,0 мм/с).
   Естественным было стремление проверить правильность предло­женной модели в других условиях с применением иных средств. С этой целью были изготовлены и испытаны диски из различных метал­лов и не проводящих материалов (керамика, цемент), которые подкладывались под сосуд. Но наиболее простой способ демонстрации возбуждения вакуумных вихрей и их взаимодействия состоит в следующем.
   Правой и левой рукой берутся две юбилейные монеты рублевого достоинства и легко зажимаются между большим и указательным паль­цами. Монеты располагаются в пространстве параллельно друг другу на расстоянии их диаметра и производится горизонтальное колебательное движение в диапазоне частот 1...4 Гц с амплитудой, близкой к ука­занному расстоянию (в обе стороны). Вскоре после начала таких манипуляций можно почувствовать уверенное отталкивание монет, вызванное взаимодействием возбужденных вакуумных вихрей. Некоторые участники эксперимента утверждают, что монеты притягиваются. Это и есть новая физическая сила, демонстрирующая эффективность метода физической сенсорики. А так как вихри и их отталкивание возникает в дисках из любого материала (пропорционально их массе) и через экраны, то это исключает объяснение наблюдаемого силового взаимодействия влиянием электромагнетизма.
   Явление макроскопического вакуумного вихря имеет универсаль­ный характер и, как будет показано ниже, оно наблюдается и на космических телах, исключая не вращающиеся тела строго сферичес­кой формы.
  
   3.2. Отрицательная вязкость (суперротация)
  
   Явление отрицательной вязкости надежно зафиксировано и уже не одно десятилетие изучается в геофизике и астрофизике [8,9]. К этому типу явлений относится и суперротация, в наиболее явном виде обнаруженная советскими и американскими космическими аппа­ратами в атмосфере планеты Венера [10,36]. Методы и средства сов­ременной науки не в состоянии объяснить подобные научные факты, и по этому поводу в наиболее откровенной форме сделал заявление В.Старр: "Мы многое знаем как оно (явление отрицательной вязкос­ти - прим. автора) происходит, но не знаем почему оно происходит". Однако в рамках нашей концепции нетрудно показать, что первопричина отрицательной вязкости и суперротации заключается в существовании планетарного, глобального вакуумного тороидаль­ного вихря, а вернее двух вихрей - в Северном и Южном полушариях планеты.
   Предпосылкой к постановке соответствующего эксперимента послужило соображение, что с помощью вращательного движения мож­но получить дополнительную информацию о характеристиках вакуум­ного вихря, описанного в предыдущем разделе. Непредвиденное зак­лючалось в том, что эти характеристики оказались уникальными в количественном отношении и наблюдались в строго ограниченном диапазоне угловых скоростей.
   Схема экспериментальной установки изображена на рисунке 3. Ме­таллический сосуд, термоизолированный пенопластовым чехлом, на­полненный водой, равномерно вращался с помощью электромотора с угловой скоростью
= 0,027 рад/с. Обеспечивалась долговремен­ная стабильность вращения
= Ђ 0,8%, стабильность температу­ры внутри сосуда
= Ђ 0,5®С и биение относительно оси мотора
= 0,5мм. В качестве индикатора скорости вращения жидкости использовалось устройство, состоящее из коромысла и двух легких плоских крыльев из диэлектрической пленки. С помощью размещенной в центре коромысла иглы такой индикатор устанавливался в центре сосуда на стойку с корундовым подпятником (см. рисунок 3). Наблюдение за индикатором осуществлялось через прозрачное окно в центре кры­шки.

 []

Рисунок 3. Схема установки для наблюдения явления суперротации. Обозначения: 1 - окна из прозрачного матери­ала; 2 - крышка из пенопласта; 3 - сосуд из мягкой стали; 4 - вертушка-индикатор;
5 - термочехол из пе­нопласта; 6 - стойка с корундовым подпятником; 7 -резиновые амортизаторы; 8 - вращающийся диск; 9 -электромотор с редуктором; 10 - основание; 11 - диск из чугуна.

   В этом эксперименте зафиксировано явление отрицательной вяз­кости в виде явной суперротации, которая проявлялась в том, что жидкость в среднем вращалась быстрее сосуда примерно с половин­ной угловой скоростью. (В лабораторной системе отсчета скорость индикатора изменялась в пределах
). Скорость суперротации оказалась прямо пропорциональной интенсивности торо­идального вихря и, следовательно, зависела от материала и массы основания сосуда, а также произвольно изменялась во времени (вли­яние космофизического фактора).
   Явление суперротации, на мой взгляд, объясняется тем, что вакуумный вихрь, обладающий собственной массой, при вращении ис­пытывает действие силы Кориолиса, которая в жидкости направлена в сторону вращения сосуда. Закрученный таким образом вакуумный вихрь увлекает и жидкость, взаимодействуя с ней в основном через взвеси (твердые частицы, газовые пузырьки) и индикатор. Поскольку угловые скорости невелики, вязкость жидкости и самого вакуума слабо влияют на динамику наблюдаемых процессов.
   Следует отметить, что условия и величина связи вакуума с жидкостью - это наименее изученное звено в теоретической модели данного эксперимента, хотя, с другой стороны, можно с уверенно­стью утверждать, что вращательное (криволинейное) движение ука­занную связь увеличивает. К сожалению, использованная экспери­ментальная установка не позволила определить критическое значе­ние частоты
, при которой явление суперротации перестает наблюдаться. В то же время экспериментально доказано, что при
 = 3,49 рад/с вращение жидкости в неизменных других услови­ях приобретает качественно иной характер (тороидальный вихрь себя практически не проявляет).
  
   3.3. Макроскопические потоки вакуума ("эфирный ветер")
  
   При исследовании тороидального вихря в неподвижном относи­тельно земли цилиндрическом сосуде было зафиксировано среднеста­тистическое смещение центра вихря в западном направлении, что первоначально трактовалось как реакция системы на восточный "эфирный ветер", который в свое время безуспешно пытались обна­ружить Майкельсон и Морли. Для более глубокого изучения квази­стационарных потоков вакуума была разработана специальная мето­дика.
   В мелких цилиндрических сосудах (см. рисунок 2) создавались та­кие условия, чтобы тороидальный вакуумный вихрь в области, дви­жущейся от центра к периферии, захватывал придонный слой жид­кости. В этом случае опущенная на дно в центре сосуда тяжелая соль KMnO4, испытывает турбулентную анизотропную диффузию, пропорциональную интенсивности и аксиальности тороидального вих­ря, деформация которого в свою очередь определяется действием некоторой внешней силы. Подобные гидродинамические "весы" (детек­тор движения вакуума) имеют чувствительность порядка 10-6 дины, учитывая, что может наблюдаться интегральный эффект, накопленный за несколько часов. За это время на белой бумаге, застилающей дно сосуда, "выжигаются" следы движения марганцевой соли.
   Результаты регистрации существующего в природе относитель­но слабого вакуумного ветра представлены на рисунке 4 (время наблю­дения 1...3 часа). Как видим, соль KMnO4, в среднем сносит­ся микропотоками по дну сосуда на восток, что соответствует смещению центра тора на запад.
  


Рисунок 4. Диаграммы, иллюстрирующие анизотропию вихревой диффузии. Верхний ряд - KMnO4 помещался в дополни­тельный малый сосуд (белый кружок в центре). Нижний ряд - KMnO4, размещался непосредственно на бумаге, застилающей дно сосуда (диаметр дна D = 22 см). Вре­мя выдержки
= 1...3 часа.
Белые точки - следы от металлических грузиков,
прижимающих бумагу к дну сосу­да.

  
   Выше отмечалось, что первоначально это интерпретировалось как "сдувание" тора восточным ветром. Однако явление суперротации равносильно существованию западной компоненты эфирного ветра. Если эта компонента сильнее взаимодействует с более "плотной" неоднородностью, сосредоточенной в массивном основании сосуда (нижняя часть вакуумного тора), то это приводит к наблюдаемой кар­тине и при западном
ветре [11].
   Подобный результат оказался вполне естественным, так как суперротация существует не только в атмосфере Венеры, но и в ат­мосфере Земли. На средних широтах в обоих полушариях усредненный за год атмосферный ветер соответствует западному направлению [12], а его эфирная компонента по принципу наименьшего действия компенсирует восточный ветер.
   Очевидно, по аналогии с ротационным экспериментом (рисунок 3) этот результат в основном обусловлен существованием планетарных вакуумных вихрей в Северном и Южном полушариях, как показано на рисунке 5 (разрез). По моей модели атмосферный ветер, наряду с из­вестными механизмами, порождается относительно медленным движе­нием вакуума, скорость которого сильно флуктуирует во времени и пространстве (показания детектора изменяются даже в пределах ла­боратории).
   Для проверки полученных результатов, кроме гидродинамичес­кого детектора (двухфазной системы), использовались также инди­каторы другого типа, которые также позволили зафиксировать су­ществование естественных вакуумных потоков как локальных участ­ков планетарных и космических вихрей.
   Учитывая, что воздух для вакуума представляет собой слишком "прозрачную" среду, следует ожидать (в основном за счет аэрозо­лей) корреляции полей обычного и вакуумного ветров не более 0,3 ...0,5. Кроме того, в масштабах Земли оказываются существенными особые квантовые свойства вакуумной "жидкости", поэтому глобаль­ный вихрь, как правило, включает в себя более мелкие вихри - цик­лоны и антициклоны. Все это усложняет картину атмосферной цирку­ляции.
   Как показывают наблюдения, на Мировой океан частично воздей­ствует нижняя часть планетарных вакуумных торов, где преобладает обратный снос с востока на запад [6,31]. Не вызывает сомнений, что вакуумные вихри являются также причиной теллурических токов и других геофизических процессов, которые естественным образом оказываются зависимыми от динамики космического вакуума.
   Известно, что Солнце излучает потоки частиц ("ветер) и соз­дает межпланетное магнитное поле [13]. Эксперименты с использова­нием описанного выше регистрирующего прибора (сосуда с водой) показали, что в составе солнечного ветра содержится сильно флук­туирующая вакуумная компонента, зависящая от фаз Луны, а по ско­рости и энергии на порядок превышающая вакуумный ветер, возникающий за счет вращения Земли. Эти данные согласуются с результатами, полу­ченными с помощью детекторов других типов.

 []

Рисунок 5. Вакуумные тороидальные вихри, окружающие земной эллипсоид (в разрезе). Обозначения: 1 - вихрь в Север­ном полушарии; 2 - вихрь в Южном полушарии. В действи­тельности за счет движения в направлении
линия гео­физического (вихревого) экватора смещена к северу на 6®, а Земля имеет грушевидную форму.

  
   В условиях Земли более постоянными по направлению являются западная и восточная компоненты вакуумного ветра (солнечный ветер меняет направление при вращении Земли). Поэтому было выдвинуто предположение, ко­торое в дальнейшем подтвердилось, о влиянии анизотропной диффу­зии, вызываемой потоком вакуума, на рост и развитие долгоживу­щих растений, например, деревьев [6,11].
  
   3.4. Вакуумная присоединенная ("жидкая") масса
  
   По нашей основной концепции турбулентное поле вакуума обла­дает собственной массой, обусловленной средней энергией вихревого движения. Пространственный масштаб вихрей простирается от микро­мира до мегамира, т.е. занимает весь природный диапазон. Распре­деление энергии по спектру пространственных частот (вихрей) име­ет особенности, рассматриваемые в разделе 4. Здесь же приведены только данные, необходимые для обоснования методологии соответ­ствующих экспериментов.
   Около физических тел, обладающих массой и гравитационным полем, плотность вакуумных вихрей увеличивается пропорционально градиенту напряженности поля. В сущности, это та же самая "шуба" из виртуальных частиц, которая наблюдается в экспериментах с микрочастицами [14]. По-видимому, тела, взаимодействуя с возму­щенным вакуумом "притягивают" неоднородности (случайные вихри), за счет чего и образуется "шуба", или макроскопическая вакуум­ная присоединенная масса. В относительном сравнении с микрочас­тицами у реальных физических тел эта масса менее плотная, но её наиболее подвижная часть составляет несколько процентов от твер­дой массы тела. Кроме того, макроскопическая присоединенная мас­са, заполняющая все тело, довольно легко деформируется и в механическом смысле, действи­тельно, является жидкой, а вернее, желеобразной.
   В итоге получается, что физическое тело обладает двумя мас­сами. Первая масса - твердая и обусловлена взаимодействием с ва­куумом каждой микрочастицы, входящей в состав данного тела, а вторая - жидкая и имеет макроскопическую природу в соответствии с приведенной выше моделью. Эта компонента массы имеет еще ту особенность, что при определенных условиях, зависящих от формы тела, изменения энергии вакуума и некоторых других факто­ров, она участвует в создании макроскопических вакуумных вихрей, одна из разновидностей которых только что рассматривалась.
   Экспериментальная оценка характеристик вакуумной жидкой мас­сы вполне возможна. Тот факт, что эта масса участвует в создании тороидального вихря, был продемонстрирован при моделировании явления суперротации (рисунки 2,3). Прямая оценка величины и "вязкости" присоединенной массы может быть проведена по следующей методике.
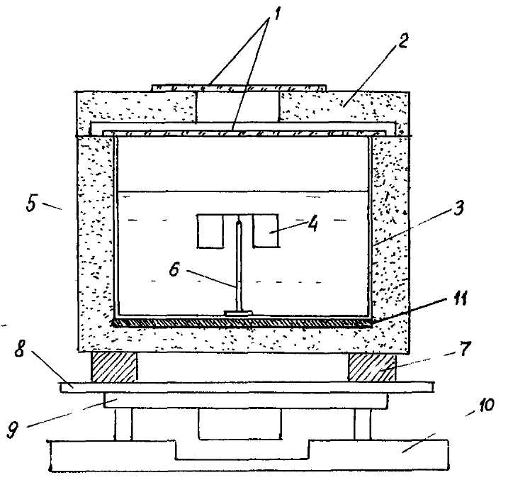
   Возьмем диск из тяжелого металла, например, свинцовый с мас­сой в несколько килограмм, приведем его в равномерное вращение, а затем резко остановим. Жидкая масса
при этом должна продолжать движение по инерции. Опыты показывают, что исследуе­мая компонента массы находится как снаружи (во внешнем гравита­ционном поле), так и внутри тела, и достаточно сильно связана с последним специфической силой вихревого "трения". Поэтому диск и после остановки стремится продолжить вращательное движение, оказывая давление на преграду. Величину и форму силы импульсного последействия и необходимо зафиксировать в эксперименте.
   На рисунке 6 показан один из вариантов экспериментальной уста­новки. В свинцовый диск 1 вмонтирована жесткая стальная пласти­на 2. После того, как диск входит в режим стационарного вращения (угловая скорость
= 0,6...1,8 рад./с), редуктор привода отклю­чается, а снизу поднимается платформа 3, на которой установле­ны упор в виде свинцового конуса 4 и динамометр 5. Сначала упор 2 наталкивается на конус 4, и диск "вязко", но резко оста­навливается. В этот момент конус 4 должен отойти от соприкосно­вения с упором и передать усилие на динамометр.
  

 []

Рисунок 6. Схема установки для измерения величины и "вязкости" вакумной жидкой массы. Обозначения: 1 - свинцовый диск (m = 5 кг); 2 - стальная пластина (прикреплена к диску); 3 - поднимающая­ся платформа; 4 - свинцовый конус - упор; 5 - ди­намометр; 6 - электромотор с редуктором.

  
   В реальной установке необходимо предусмотреть запись пока­заний динамометра на самописец (с этой целью можно использовать тензометрический датчик). Предполагаемая форма импульса после­действия приведена на рисунке 7. Скорость изменения силы
харак­теризует коэффициент вихревой связи жидкой массы с телом (коэф­фициент "трения"), а через
импульса можно определить ве­личину присоединенной массы
. Сила
, где
- ускорение вакуумной жидкой массы.
   В настоящее время подобный эксперимент выполнен в самом уп­рощенном варианте со свинцовым диском массой
= 5 кг. Вели­чина массы
в этих специфических условиях по очень приближенной оценке составила до 20% от
при длительности импульса последействия около 1с. Пред­ставляет интерес оценить величину
для сферы и других форм тела, а также её зависимость от угловой скорости
. Целесооб­разно повторить опыты для дисков из различных материалов, включая диэлектрики.

 []

Рисунок 7. Примерный график изменения во времени импульса вакуумного последействия после остановки свинцового диска по схеме, изображенной на рисунке 6.

  
   Описанный эксперимент имеет одну тонкость, влияющую на ре­зультаты измерений. Дело в том, что любое твердое тело (и упор) обладают собственной классической упругостью, за счет чего при остановке всегда возникает усилие, отличное от дельта-функции. Исследуемая масса
внутри твердого тела и снаружи также име­ет различные характеристики. Поэтому очень важно передать усилие на динамометр сразу после остановки тела. Другой особенностью исследования является то, что изучаемый эффект проявляет себя в полной мере только при первом "неожиданном" эксперименте. После третьего опыта в тех же условиях в диске остается только классическая инерция.
   Второе направление исследований предполагает выяснение сте­пени взаимодействия вакуумной присоединенной массы с гравитацион­ным полем Земли. Если
действительно обладает всеми свойст­вами массы, то она должна деформироваться в поле тяжести, что нетрудно установить опытным путем. Для этого необходимо сделать хорошо сбалансированный тяжелый рычаг в форме бруска или круглого стержня на свободно вращающейся опоре, который по классическим представлениям должен находиться в положении безразличного равно­весия (рисунок 8). При установке такого рычага в наклонное положение относительно горизонта часть жидкой массы должна несколько смес­титься по рычагу в сторону наклона (пунктир на рисунке 8). В этом случае, чтобы возвратить рычаг в горизонтальное положение, необ­ходимо к верхнему плечу приложить некоторое нетрадиционное усилие
, которое измеряется при использовании калиброванной навески (как в обыч­ных рычажных весах).
  


Рисунок 8. Схема опыта с тяжелым рычагом. Обозначения:
1 - свинцовый рычаг в равновесии; 2 - устройство подвеса с малым трением; 3 - грузик для измерения силы, сдвигающей рычаг в сторону равновесия; 4 -примерный контур жидкой массы.

  
   Этот опыт, требующий достаточно высокой прецизионности, еще не проводился. Ожидаемое изменение
, по-видимому, составит несколько процентов от
. Необходимо ориентироваться только на первый опыт! Результаты подобного эксперимента могут многое ска­зать о сущности массы
, и необходимости уточнения теории гравитации.
   Большое значение для теории и практики имеет изучение зако­нов гравитационного взаимодействия физических тел при одновремен­ном возбуждении макроскопических вакуумных вихрей, приводящих в особое состояние присоединенную жидкую массу. Эксперименты, опи­санные в подразделе 3.1, показали, что взаимодействие вихрей принципиаль­но нарушает картину гравитации (по крайней мере, на расстояниях, соизмеримых с размерами тел). Дополнительно отметим, что вакуумный тороидальный вихрь может быть использован в роли детектора (индикатора) равномерного движения тела в неоднородном (возбуж­денном) вакууме в определенном диапазоне скоростей.
   Самостоятельный интерес представляют опыты с вращательными колебаниями в вертикальной плоскости тела дискообразной формы. При этом масса тела
должна зави­сеть от ориентации диска относительно направления движения.
  
  
  
  
   4. ФЕНОМЕНОЛОГИЧЕСКАЯ МОДЕЛЬ ВАКУУМА
  
   С большой уверенностью можно предположить, что результаты данной работы для большинства читателей не могут показаться три­виальными. Постулаты и следствия, обзор экспериментальных дан­ных, включая планируемые направления исследований, уже создают определенное представление о новой концепции макроскопического вакуума. Тем не менее, для полноты картины следует попытаться построить качественную обобщенную модель, в более полной мере отражающую философское и научно-методологическое представление автора о современной физике и её проблемах.
   В реальном исследовательском процессе приведенные выше пос­тулаты появились в итоге сложной и весьма запутанной аналитико-синтетической работы, использующей совокупность самых разнообраз­ных материалов и сведений, включая описанные в предыдущих разде­лах неизвестные ранее наблюдения и эксперименты. Из отправных научных фактов, которые не укладывались в рамки существующих те­оретических представлений и служили, на наш взгляд, достаточным основанием для пересмотра фундаментальных основ современной фи­зики, можно указать на следующие:
  -- известное в астрофизике и геофизике вековое замедление и колебания скоростей вращения планет и звезд, не объясняемые при­ливной гравитационной моделью [15,16,37];
  -- явление отрицательной вязкости (суперротация в атмосфере планеты Венеры), теллурические токи и другие труднообъяснимые геофизические процессы [8,9,10,18];
  -- существование космофизических факторов (в частности, ак­тивности Солнца), влияющих на геофизические процессы, а также на параметры лабораторных систем [4,5,19,20];
  -- необъяснимая природа фликкер-шумов [21,22];
  -- существование "скрытой" массы во Вселенной [3];
  -- проблема обнаружения гравитационных волн [ 23];
  -- существование шаровой молнии, полтергейста и других аномаль­ных явлений [24,25,26].
   Еще раз подчеркнем, что перечисленные научные (а по мнению некоторых ученых псевдонаучные) факты послужили основанием для формулировки проблемы, - и не более того, потому что все эти фак­ты хорошо известны. Здесь умышленно не упомянуто о современных, часто весьма заумных теориях вакуума, так как они во­обще не стимулировали проведенных автором исследований. Однако будем иметь в виду, что общее состояние проблемы соответствует представлениям, изложенным в работах [2,14].
   Итак, опираясь в основном на собственные наблюдения и экспе­рименты, попытаемся увязать их с известными результатами и уточ­нить существующую (а в нашем понимании не существующую) модель макроскопического вакуума. Свойства вакуума в микромасштабах луч­ше изучены и известны из упомянутых работ, поэтому по ходу изло­жения можно обобщить все результаты и представить модель в более общем виде.
   Первооснова материи - вакуум, заполняя все мировое пространст­во, находится в турбулентном состоянии, образуя случайное прост­ранственно-временное поле с энергетическим спектром, занимающим весь природный диапазон масштабов и скоростей. Вихревые возмуще­ния этой материальной среды (в любом пространственном масштабе!) характеризуют её массу (энергетическую "плотность"), в то время как массу невозмущенного вакуума следует принять равной нулю. Изучаемое в физике вещество - суть устойчивые микроскопические вихри вакуума (микрочастицы). Статистически устойчивая пространственная систе­ма микрочастиц образует тело (твердое, жидкое, газ, плазму). Главная особенность микроскопических вихрей - высокая (околосветовая) скорость вращения, пропорционально которой окружающий вакуум "по­ляризуется" (напрягается) в виде электромагнитных и других полей. В микромасштабе в наибольшей мере проявляются и квантовые свой­ства вихрей (пространственная и энергетическая дискретность). Как известно, микрочастицы напрямую взаимодействуют с вакуумом, об­растая "шубой" из виртуальных частиц (случайных микровихрей), ра­диус которой зависит от скорости частицы [14].
   Макроскопические вихри вакуума, представляющие для данного исследования основной интерес, до настоящего времени в физике не рассматривались, но они также обладают массой. Угловая скорость этих вихрей в лабораторных масштабах не превышает долей радиана в секунду (линейные скорости до нескольких м/с), что подтверждено экспериментальными исследованиями. Но в особых условиях, по-види­мому, возможно существование квазиустойчивых быстро вращающихся вихрей, что подтверждается существованием шаровой молнии и нео­познанных летающих объектов [24,26]. В мегамасштабах, по нашему представлению, в составе галактик и звезд существуют квазиустой­чивые сливающиеся с веществом вакуумные вихри высоких энергий. Таким образом, вихревые возмущения вакуума в области микро- и мегамасштабов отличаются большей энергией и большей устойчиво­стью.
   На рисунке 9 приведен примерный график энергетического спектра реального вакуума. По оси абсцисс отложена в логарифмическом мас­штабе величина
2?/Ф, где Ф -  пространственная частота; по оси ординат - без масштаба спектральная плотность W . (В начале оси абсцисс масштаб также условный). На графике можно выделить три области. Область 1 соответст­вует микроквантовым состояниям, где главная часть спектра имеет линейчатый вид (пунктир), отражающий энергию и размеры устойчи­вых и менее устойчивых микрочастиц. Средняя область 2 соответст­вует макроквантовым состоянием, а область 3 - мегаквантовым. В области 3 вихревые состояния вакуума имеют практически неизучен­ные особые квантовые свойства.
   Определенно ясно, что подъем кривой с ростом пространствен­ного масштаба (как и в микромире) отражает факт качественного из­менения свойств вакуума, приводящего к росту энергии вихревых возмущений. Чем больше масштаб вихрей и меньше угловая скорость, тем в большей степени вакуум проявляет свойства своеобразной квантовой сверхтекучей жидкости. Несомненно, что именно правый участок энергетического спектра турбулентного вакуумного поля определяет характеристики фликкер-шумов. Этот факт убедительно демонстрируют свойства механических напряжений в коре Земли, вы­зывающих землетрясения [21]. Особые квантовые свойства флуктуа­ций вакуума подтверждаются экспериментами Э.С. Шноля [5].
   Поскольку фликкер-шумы возникают не только в механических, но также в электромагнитных и других системах [22], отсюда с уче­том [27] следует непреложный вывод, что механика вакуума во всем диапазоне пространственных масштабов и скоростей (ускорений) неразрывно связана с электромагнетизмом. Это подтверждается так­же существованием связи межпланетного солнечного магнитного поля с потоками вакуума, магнитных бурь с атмосферными процессами и т.д. И хотя в данной работе основное внимание уделяется механике и гравитации вакуума, отмеченную фундаментальную закономерность необходимо учитывать при разработке методологии соответствующих исследований (экспериментов).
   Интересно сопоставить значения пространственных частот на графике (рисунок 9) с угловой и линейной скоростями вращения вихрей. Если ориентироваться на параметры солнечного ветра, то линейные скорости в вихрях межпланетного масштаба могут достигать v > 300 км/с. Однако более правильно значения
сопоставлять с угловой скоростью вихрей
, которые в среднем имеют между собой обратно пропорциональную зависимость, т.e. ? ~ 1/?.
   На мой взгляд, достаточно наглядное качественное представле­ние о макроскопическом состоянии вакуума дает турбулентное поле земной атмосферы и океана, которые образуются в условиях, близ­ких к сверхтекучему состоянию. Причем это не просто аналогия, а отражение глубокой физической связи, характеризующей взаимодейст­вие в определенных условиях вакуума с веществом. Существование такой связи подтверждается установленной зависимостью некоторых параметров атмосферы (структуры облачных массивов) от свойств земной коры [28].
  

 []

Рисунок 9. Зависимость энергетического состояния (спек­тральной плотности турбулентности) вакуума от мас­штаба вихрей
2?/Ф, где Ф - пространствен­ное волновое число. Пунктиром отмечена область су­ществования устойчивых микрочастиц. "Закон Ф-b", где b
1 соответствует спектральной характерис­тике фликкер-шумов.

  
   Говоря о новых свойствах вакуума и вещества, об их механике и гравитации, т.е. о тех характеристиках, которые были обнаружены в процессе наших экспериментальных исследований, необходимо иметь в виду, что это лишь одна из сторон интересующего нас многоликого физического объекта. Важнейшим результатом является то, что ва­куум-эфир способен двигаться как целое в определенном диапазоне скоростей и ускорений, а вернее угловых скоростей, так как сверх­текучая среда способна создавать только вихревое движение (для вакуума не существует непроницаемых границ). Сейчас затруднитель­но ввести параметр, определяющий условия, когда вакуум проявляет преимущественно механические свойства в указанном выше смысле, но из экспериментов и наблюдений следует, что данный параметр за­висит как от угловой скорости, так и от масштаба вихрей. При этом необходимо учитывать, что массивные тела через гравитационное по­ле связывают значительные области вакуума, который способен вра­щаться вместе с телом, если последнее имеет даже круговую симмет­рию.
   "Нелинейные" свойства вакуума, как и в случае классической (идеальной) сверхтекучей жидкости, проявляются при превышении критической скорости vкр (или
) [29,30]. Возможно, при этом вакуум тоже насыщается более мелкими квантованными вих­рями, в определенном смысле теряет сверхтекучие свойства, и этим исчерпывается вся его нелинейность. Поэтому в лабораторных усло­виях при
вакуум проявляет себя слабее. Но это может быть и по той причине, что слабоэнергичный макроскопичес­кий вакуум теряется на фоне более энергичных движений вещества. В любом случае в области значений
понятие меха­ники вакуума имеет полное право на существование, в то время как закритическая область нуждается в дополнительных исследованиях.
   В основе методологии экспериментов с вакуумом лежат законы его взаимодействия с физическими телами, находящимися в твердой и жидкой фазах. Ограничиваясь изучением свойств вакуума, интер­претируемого в виде особой сверхтекучей среды, целесообразно ориентироваться на результаты, полученные в теории сверхтекучей жидкости [29,30]. Однако, с учетом специфики изучаемого объекта, выявленной в ходе экспериментов, результаты, определяющие упомя­нутый процесс взаимодействия, сформулируем в виде следующих трех принципов.
   Первый принцип наименьшего возмущения вакуума формулируется так:
   Любая физическая система (вещество) взаимодействует с ваку­умом таким образом, что энергия вызванного этой системой возму­щения стремится к минимуму. В соответствии с этим принципом вза­имодействуют с вакуумом движущиеся и гравитируюшие тела, элек­трические заряды и любые другие физические системы. В свете этой закономерности становится понятным, что любая форма физи­ческого тела отличная от сферической, является "неудобной" для вакуума, так как вызывает дополнительные возмущения в виде уве­личения неоднородности и величины градиента напряженности грави­тационного поля.
   Второй принцип - нулевого момента возмущенного количества движения:
   Локальное возмущение вакуума всегда происходит таким образом, что результирующий момент импульса возникшего движения равен нулю. Отсюда непосредственно следует, что механические макроскопические возмущения вакуума со стороны физического тела должны реализовываться в виде пары противоположно вращающихся вихрей или тора. Заметим, что и в микромире рождение новых микро­частиц из вакуума также происходит парами - частица и античасти­ца.
   Третий принцип "индукционности":
   Возмущение спокойного (идеального) макроскопического вакуума возможно только при уско­рении физического тела, но возмущение турбулентного (неоднородного) вакуума возможно и при равномерном движении тела. Здесь под турбулентным понимается предварительно возбужденный вакуум, обладающий массой-энергией и нестационарными свойствами, что соответствует естественному состоянию всего окружающего нас ми­ра. Однако в микромире на уровне виртуальных частиц вакуум для макротел сле­дует считать однородным полем. В масштабах Вселенной основную энергию вакууму передают галактики и активные звезды. Принцип индукционности при оговоренных условиях обобщает понятие клас­сической инерции, распространяя его на макроскопическую область вакуумных неоднородностей (вихрей).
   Вторая часть модели вакуума относится к его взаимодействию с гравитационным полем, представляющим собой особое напряженное состояние вакуума, которое в окрестности реальных физических тел всегда имеет градиенты. В экспериментальной части работы было показано, что случайные вихревые движения вакуума, как и вирту­альные микрочастицы, концентрируются в виде облака около любого тела, а вернее макроскопические "виртуальные частицы" распреде­ляются в пространстве пропорционально градиенту напряженности гравитационного поля. В результате, как отмечалось выше, тело оказывается обладателем двойной массы: первая - классическая, жесткая у твердых тел определяется свойствами микрочастиц, а вто­рая - присоединенная жидкая масса, повторяющая по форме и "плот­ности" конфигурацию гравитационного поля, но находящаяся также и внутри самого тела (в силу непрерывности вакуума). Кроме того, присоединенная масса зависит от локального энергетического сос­тояния (степени возбуждения) вакуума и способна деформироваться при ускорении и гравитационном взаимодействии тел. Наиболее под­вижная часть жидкой массы в среднем составляет несколько процентов от клас­сической (среднее значение фликкер-шумов). При этом в равной мере можно утверждать, что тело об­ладает вакуумной жидкой массой или, наоборот, что этой массой об­ладает само гравитационное поле. Физическая суть нового свойства материи от этого не меняется.
   Постулируя и подтверждая экспериментально существование об­ладающих массой макроскопических вихрей вакуума, притяжение этих вихрей телами (гравитационным полем), можно внести принципиаль­но новый аспект в дискуссию о "скрытой" массе во Вселенной [3]. Помимо этого, сама механика объектов, изучаемых в космогонии, может оказаться отличной от законов Ньютона за счет активного проявления в галактических вихрях реальных свойств "мегаскопического" вакуума (крайний правый участок спектра на рисунке 9).
   Рассматриваемая модель вакуума усложняется еще больше, если учесть экспериментально доказанное существование квазиустойчи­вых макроскопических вихрей, возникающих на телах несферической формы. В частности, в структуре гравитационного поля дискообраз­ных тел возникает устойчивая пара вихрей тороидального типа, воз­буждаемая, например, колебательными движениями тела. В двухфаз­ной системе "твердое тело-жидкость" тороидальный вихрь возникает без механического движения, только за счет энергии жидкости и окружающего вакуумного поля. Подобные вихри, пронизывающие тело и окружающее пространство, способны вступать между собой в сило­вое взаимодействие, притягиваясь или отталкиваясь в зависимости от направления их взаимного вращения. Таким образом, жидкая мас­са и гравитационное поле участвуют в вихревом движении и созда­ют это движение. При определенных условиях (на расстояниях, со­измеримых с размерами тела) сила взаимодействия квазиустойчивых вакуумных вихрей, возбуждаемых в системе двух и более тел, может значительно, на порядок и более превышать силу гравитационного притяжения этих тел.
   Кроме лабораторных опытов, существование в природе квази­устойчивых вакуумных вихрей подтверждают результаты наблюдений в геофизике и астрофизике. Это так называемое явление суперрота­ции в атмосферах Венеры и Земли, теллурические и ионосферные токи, дифференциальное вращение фотосферы Солнца и др. [8,9,10]. Дис­сипация энергии, передаваемой от вакуума веществу и особенности вызванного этим взаимодействием нового вида движения вещества на планетах и звездах, по-видимому, являются одной из главных причин векового тормозящего момента [6,11,31]. На основании из­ложенного можно утверждать, что, говоря о силовом взаимодействии макровихрей между собой и с веществом, мы, в сущности, вводим в физику понятие новой фундаментальной пятой силы.
   Итак, сложность вакуума как физического объекта заключается в том, что при его исследовании приходится иметь дело с не име­ющей аналога сверхтекучей квантовой средой, одновременно насы­щенной обладающими массой-энергией вихрями всевозможных масшта­бов и угловых скоростей. Устойчивые микровихри, или вещество, наиболее эффективно взаимодействуют между собой и составляют предмет классической механики, включая инерцию как взаимодействие микрочастиц с вакуумом в пределах своего участка пространст­венно-временного спектра, соответствующего локально однородному и изотропному полю [32]. Но на макроскопическом участке спектра (рисунок 9) существует еще квазивещество (макровихри), которое че­рез гравитационное поле активно взаимодействует с обычным веще­ством и обладает специфической, замедленной во времени квази­инерцией. В макроскопической области для механики вакуум как случайное поле не может быть однородным и изотропным, поэтому он способен взаимодействовать с телами, имеющими присоединен­ную жидкую массу и движущимися равномерно и прямолинейно.
   Совокупность рассмотренных экспериментальных и наблюдатель­ных данных, по нашему мнению, не оставляет сомнений в достовер­ности представленной здесь качественной феноменологической мо­дели. Установленные неизвестные ранее свойства вакуума, гравита­ционного поля и массы, новый вид силового взаимодействия качест­венно меняют наши знания о природе. Не отменяя классической ме­ханики и теории гравитации, полученные результаты в то же время вызывают необходимость пересмотреть и переосмыслить прежние на­учные представления, созданные главным образом Ньютоном и Эйн­штейном.
   Во-первых, из наших доказанных теперь постулатов следует, что вакуум-эфир при некоторых условиях способен двигаться как целое, образуя наблюдаемые в некоторой системе отсчета макро­вихри. Следовательно, кроме вакуума, должно существовать некое плотное пространство, как это изначально предполагал Ньютон. Од­нако, в отличие от концепции Ньютона, обнаруженные эксперимен­тально свойства физического вакуума полностью подтверждают идею близкодействия. Если же отождествить вакуум с пространством-временем, как принято в теория Эйнштейна, то мы лишимся какой бы-то ни было системы отсчета; хотя, с другой стороны, энергети­ческое состояние вакуума, называемое веществом, может служить для наблюдателя некоторой опорой. Но это имеет практический смысл только до масштабов, когда вещество слабо взаимодействует с ва­куумом. А в действительности в любом случае пространственные и временные характеристики наблюдаемых в природе материальных объ­ектов и процессов в некоторой степени зависят от состояния ваку­ума. (Степень зависимости определяется значением
на рисунке 9). Само же неподвижное пространство наблюдатель и физические приборы принципиально воспринимать не могут, и судить о его характерис­тиках можно только косвенно на основе изучения свойств вакуума.
   Основной идеей теории относительности является невозмож­ность зафиксировать равномерное прямолинейное движение некото­рой системы отсчета, в которой находится наблюдатель. Однако, как уже отмечалось, это справедливо только для микровихрей (ма­лых значений
). В нашей физической модели принцип относи­тельности для макровихрей опровергается, так как за счет внут­ренней неоднородности (турбулентности) и нестационарности вакуума любое движение тела за счет присоединенного макровихря в прин­ципе может быть зафиксировано. Подтверждением может служить факт движения Земли к созвездию Геркулеса и вызванное этим дви­жением взаимодействие с вакуумом, которое проявляется в повышен­ной сейсмической и тепловой активности Северного полушария, а также смещении на 6® к северу геофизического экватора и грушевид­ной форме Земли. Направление смещения плоскости симметрии пары планетарных тороидальных вихрей (рисунок 5) полностью соответствует результатам лабораторных экспериментов. Значительно эффективнее вакуум должен влиять на движение Земли и других планет вокруг Солнца, вызывая эффект торможения, который, впрочем, может ком­пенсироваться давлением солнечного излучения на планету.
   На данном этапе исследований в основном уже исчерпаны как возможности привлеченных к анализу научных фактов, так и воз­можности нашей интуиции и эмпатии, поэтому рассмотрение фено­менологической модели вакуума на этом можно закончить.
  
   5. ВАКУУМ В ПРИКЛАДНЫХ НАУКАХ
  
   Рассмотрим очень кратко, как новые свойства макроскопичес­кого вакуума могут повлиять на развитие основных прикладных на­ук.
  
   5.1. Механика и гравитация
  
   Как известно, при анализе движения твердого тела в жидкости в современной механике вводится понятие присоединенной массы, которая сама по себе представляет недостаточно изученный гидро­динамический объект. Доказательством существования гидромеханической присоединенной массы является факт давления носа судна на причал после его остановки. В случае вакуума это понятие наполняется еще более сложным содержанием за счет случайной природы "вирту­альной" массы, взаимодействия её с квазирегулярными вихрями, в свою очередь зависящими от малоизученных физических свойств ва­куума и структуры гравитационного поля.
   Уже сегодня можно утверждать, что механика Ньютона в случае малых ускорений (до нескольких метров в секунду) описывает реальные процессы с точностью, не превышающей нескольких процентов, так как ваку­умная часть инерционной массы в классической теории не учитывает­ся. То же самое можно сказать и о современной гидродинамике, теоретические модели которой описывают реальные процессы с точностью около 4%. Для повышения точности теоретических моделей, естественно, необходи­мо учитывать механику ("гидромеханику") макроскопического ваку­ума.
   Особое значение новые свойства массы (гравитационного поля) имеют для теории колебаний (вибраций) и теории устойчивости, где могут проявляться резонансные свойства вакуумной жидкой массы. Следует указать и на возможность создания условий для преднаме­ренного изменения величины массы физических тел, что открывает новое направление в развитии механических систем. Специального рассмотрения заслуживают особенности вакуумных инерционной и тя­желой масс и их взаимодействие с соответствующими разновидностя­ми классической массы, т.е. проверка принципа эквивалентности.
   В рамках разработанной концепции могут найти объяснение "странные" эксперименты Н.А.Козырева [4], В.Беляева [33] и, воз­можно, В.Гребенникова [34]. Становится очевидным влияние враща­тельного движения на структуру гравитационного поля и связанная с этим возможность создания антигравитации [35]. Интересные опы­ты можно спланировать по проверке идей, высказанных в отношении теории относительности.
  
   5.2. Геофизика
  
   Для геофизических приложений наибольшее практическое значе­ние имеет вывод, что динамические модели движения атмосферы и океана, как и модели других процессов, не могут быть достоверны­ми без учета механики вакуума. Это объясняется существованием глобальных (планетарных) вакуумных вихрей, энергия которых уве­личивается с ростом пространственного масштаба. Вполне правдо­подобно предположение, что циклоны и антициклоны в атмосфере и океанах Земли - это "кванты" глобального тороидального вихря. "Глаз" циклона является характерной особенностью вихревого движения и может отличаться гравитационной аномалией.
   Изучение и регистрация движений вакуума должны лечь в осно­ву климатических и метеорологических прогнозов (после разработ­ки соответствующих теоретических моделей). Такую регистрацию не­трудно осуществить, опираясь на результаты лабораторных экспери­ментов, описанных в разделе 2. Зависимость интенсивности вакуум­ных вихрей от космофизических факторов подтверждает активное влияние на геофизические процессы близлежащей звезды - нашего Солнца и естественного спутника Луны.
   Источником теллурических токов, скорее всего, является ниж­няя часть глобального тороидального вихря, расположенная в коре Земли и вращающаяся в противоположную сторону (с востока на за­пад). Взаимодействие этих токов с естественным магнитным полем Земли создает наблюдаемую общую картину. Регистрация направления и величины теллурического тока должна войти составной частью в "вакуумную геофизику".
   С тороидальным вакуумным вихрем, как уже указывалось, тесно связано явление суперротации. Важно подчеркнуть, что на более медленно вращающейся Венере интенсивность суперротации по срав­нению с земной значительно больше. Несомненно, это связано не только с динамическими отличиями, но и с большой плотностью венерианской атмосферы.
   Суперротация создается в основном за счет энергии вращатель­ного движения планеты и порождает условия для диссипации части этой энергии, что неизбежно приводит к возникновению момента си­лы роторного торможения [31]. Как справедливо отмечено в [15], Земля, действительно, замедляет вращение в большей степени, чем это следует из гравитационных приливных моделей.
   С учетом описанной здесь новой физики вакуума следует пере­смотреть весь комплекс геофизических явлений (моделей), включая образование магнитного поля Земли, ионосферных токов, дрейфа кон­тинентов и т.д.
  
   5.3. Астрофизика и космогония
  
   Фундаментальность новых свойств макроскопического вакуума предполагает возможность их использования в наблюдательной астро­физике для получения дополнительной информации о свойствах звезд, галактик и космической среды. Звезды, являясь наиболее мощным источником возмущения вакуума, должны создавать широкий спектр вихрей. По-видимому, четыре маг­нитных лепестка, окружающих Солнце, отражают в основных чертах структуру наиболее устойчивых вакуумных вихрей. Солнечный "ветер" также должен иметь в своем составе вакуумную компоненту.
   Макроскопические вакуумные вихри, обладающие промежуточными свойствами между веществом и полем, имеют собственную массу, ко­торая является вполне "скрытой" для современных средств наблюде­ний. Таким образом, помимо вещества и нейтрино, в космогоничес­ких моделях необходимо учитывать массу турбулизованного вакуума.
   Чрезвычайно важно следствие о торможении физического тела, движущегося любым образом в вакууме, насыщенном вихрями (размеры тела соизмеримы с масштабами вихрей). Такое торможение, с одной стороны, должно замедлять механические космогонические процессы, а, с другой стороны, предполагать постоянный приток энергии из­вне, например, за счет вращения Вселенной в целом.
   Наряду с нейтринной астрофизикой, уже завоевавшей право на существование, правомочно поставить вопрос о рождении вакуумной астрофизики. В этом плане чрезвычайно важным является вопрос, какую информацию и каким образом может передавать физический ва­куум?
   Проведенные к настоящему времени наблюдения и эксперименты не позволяют однозначно оценить массу и упругие свойства невоз­мущенного вакуума. Но судя по имеющимся данным, сам вакуум как первичная материальная среда собственной массой, по крайней мере в общепринятом смысле, обладать не должен, а, следовательно, не должно быть у него и обычных упругих свойств. Несмотря на про­звучавший выше оптимизм, не до конца ясным остается также вопрос о взаимосвязи вакуума с плотным сверхпространством.
   Если вакуум - несжимаемая сверхтекучая среда (типа кванто­вой жидкости), изначально возмущенная во всем спектре пространст­венных масштабов, причем энергия макроскопических вихревых дви­жений концентрируется в космосе пропорционально напряженности гравитационного поля, то как представить себе механизм передачи возмущений? Могут ли существовать в вакууме волновые процессы, кроме электромагнитных? При этом известно, что электромагнитные волны слабо реагируют на возмущения вакуума в виде гравитацион­ного поля, и, следовательно, это явления существенно различной природы (возможно, разной вихревой топологии, разных диапазонов скоростей и ускорений). Напротив, возмущения, связанные с активностью звезд, захватыва­ют интересующий нас макроскопический масштаб пространства и ско­ростей, и можно предположить существование волн интенсивности турбулентного состояния вакуума (например, сопровождающих перио­ды активности Солнца)?. Детектирование и регистрация таких волн принципиальных трудностей не вызывает. Более того, интенсивность тороидального вихря в лабораторной установке (рис.2) должна быть пропорциональна скорости изменения амплитуды некоторой простран­ственной гармоники спектра турбулентности вакуума. Важно отме­тить, что регистрация активности Солнца известными в настоящее время методами, отражает самые общие характеристики интересующих нас процессов, т.е. по отношению к вакууму является слишком кос­венной.
   В разделе 2 описаны не все выполненные эксперименты. Напри­мер, было установлено, что квазиустойчивый вакуумный вихрь, воз­бужденный в металлическом диске, испытывает силовое взаимодейст­вие с неизвестной компонентой солнечного излучения. Масса ваку­ума (интенсивность и спектральный состав турбулентных возмущений) зависят от фазы Луны, времени суток и т.д. Все это подтверждает необходимость разработки методов вакуумной астрофизики.
  
   5.4. Биофизика
  
   Биологические объекты, как наиболее сложные создания в при­роде, одновременно обладают и наибольшей чувствительностью к внешним воздействиям (нетрадиционным полям). Однако известные психофизические опыты не всегда укладываются в рамки современных теоретических представлений [25]. Но особенно много дискуссий возникает вокруг природы так называемых биологических полей (ис­пользуемых экстрасенсами).
   Автором данной работы экспериментально были оценены харак­теристики вакуумного турбулентного поля, окружающего человека, и установлено, что в наиболее активном (плотном) состоянии вакуум находится около кистей рук и ступней ног, т.е. частей тела, содер­жащих максимальное количество акупунктурных точек, а также около лимфатических желез и глаз. Поэтому не исключено, что биологи­ческие объекты способны генерировать вакуумные вихри. Можно даже утверждать, что активность вакуума должна фиксироваться с помощью эффекта Кирлиан [17].
   Выше упоминалось, что в работах [6,11] приведены результаты наблюдений за растительными биосистемами. Установлено, что такие долгоживущие растения как деревья в процессе роста реагируют на вакуумные потоки. В Северном полушарии (район Ленинграда) средне­статистические сосна и тополь закручиваются в сторону вращения Земли, а ствол у основании растет быстрее примерно в северо-восточном направлении (определяется по годовым кольцам).
   Последний факт, между прочим, обосновывает принципиальную необходимость соблюдать при пересадке деревьев для большей при­живаемости их прежнюю ориентацию относительно сторон света.
   Все это говорит о том, что несмотря на относительно слабую энергетику рассматриваемых макроскопических возмущений вакуума, они оказывают заметное влияние на ход всех природных процессов, не говоря уже о выбросах турбулентного поля, вызывающих аномаль­ные явления.
  
  
   ЗАКЛЮЧЕНИЕ
  
   Не принижая значимости полученных результатов, автор отдает себе отчет в том, что данная работа только приоткрывает занавес в страну под названием "Физика макроскопического вакуума". Те­перь можно с уверенностью сказать, что не зная свойств реального вакуума, Эйнштейн в принципе не мог построить единую теорию поля, также как и современные теоретические построения в этом направле­нии должны быть далеки от реальной действительности. Создание ос­нов единой теории поля невозможно без детального изучения связи макроскопических движений вакуума с электромагнитными явле­ниями, поэтому обобщение и анализ накопленного в науке достаточ­но обширного материала, имеющего отношение к этой проблеме, яв­ляется первостепенной задачей. А доказанная выше общность свойств вакуума во всем природном диапазоне пространственных частот и ре­зультаты лабораторных экспериментов с макроскопическими вихрями открывают новые гносеологические аспекты в методологии физичес­ких исследований.
   Только на первый взгляд может показаться, что для формули­ровки и обоснования приведенных выше постулатов полученного экспериментального материала недостаточно. В действительности автором было проведено на три порядка больше опытов и наблюдений, описать которые в объеме данной работы просто невозможно, отчасти по той причине, что в большинстве своем эти опыты проводились с простыми физическими объектами (телами) без специального научно­го оборудования, когда основную роль играли интуиция и наблюда­тельность экспериментатора; с другой стороны, имелись реальные опасения, что излишняя откровенность может стать основанием для упреков автору в чрезмерной симпатии к метафизике.
   В связи с этим, следует еще раз подчеркнуть, что в настоя­щей работе описаны абсолютно достоверные и легко воспроизводимые опыты, отличающиеся только кажущейся простотой. Во-первых, это опыт по наблюдению вакуумного тороидального вихря в двухфазной системе дискообразной формы с изучением зависимости его интенсив­ности от космофизических факторов. Во-вторых, смоделировано яв­ление суперротации, характеризующее инертные свойства вакуумного вихря и надежно доказывающее новый вид силового взаимодействия между вакуумом и веществом (обмен моментом импульса между фаза­ми). В-третьих, достаточно эффективны опыты с определением им­пульса последействия (длительностью до I с) при остановке вращаю­щегося массивного тела, демонстрирующие существование вакуумной жидкой массы и её "вязких" свойств. В-четвертых, установлены ре­ально существующие западный и восточный потоки вакуума ("эфирный ветер"). Наконец, опыт с двумя колеблющимися металлическими дисками, поз­воляющий изучить силовое взаимодействие вакуумных тороидальных вихрей. Эти главнейшие экспериментальные результаты в совокупнос­ти с другими научными материалами (фактами) послужили надежной основой для изучения новых фундаментальных свойств физического вакуума, формулировки постулатов и построения его качественной феноменологической модели.
   Теперь возникает законный вопрос: а какова энергия вихрей, почему так слабо проявляют себя макроскопические флуктуации ва­куумного поля? Как известно, величина лэмбовского сдвига и поп­равка к заряду электрона за счет влияния вакуума составляют доли процента от "классической" величины. Макроскопические флуктуа­ции процессов различной природы, исследованные в [5], достигают значений 3...4%. Наиболее подвижная (флуктуирующая часть) ваку­умной жидкой массы по нашим оценкам тоже составляет около 3% от классической, а сила взаимодействия искусственно возбужденных вихрей может достигать нескольких дин, существенно превышая гравитационное притяжение. Более энергичные естественные вихри вакуума, по нашему мнению, относятся к разряду аномальных яв­лений, как, например, явление шаровой молнии. Очевидно, что глобальные вихри в атмосферах Земли и Венеры имеют значительно большую энергетику, не говоря о вихрях космических масштабов.
   Обобщение и анализ приведенных данных позволит оценить весь диапазон энергии флуктуаций вакуума, определяемый еще мало изу­ченной спектральной характеристикой (рисунок 9). В лабораторных ус­ловиях масштабы макровихрей соответствуют минимуму спектральной кривой, что и обуславливает трудности их регистрации (слабую энергетику). Необходимо также учитывать, что мы постоянно живем в вакуумном "море", привыкли к его воздействиям, а частично при­писываем последние другим, более наглядным и изученным природ­ным явлениям. Вообще современная физика главное внимание уделя­ет веществу, образованному энергичными микровихрями вакуума и отвечающему за наиболее устойчивый и осязаемый облик нашей Все­ленной. Однако, электромагнитные и другие поля, а также инер­ция - это очевидное проявление особых свойств вакуума.
   Как известно, любое открытие сколько закрывает вопросов столько же ставит и новых. По ходу изложения упоминалось, что неясных моментов остается еще достаточно. Вообще данная работа в целом должна восприниматься как начальный этап, как экспери­ментальная и идейная первооснова, дающая наглядное представле­ние о неизвестных ранее свойствах вакуума и позволяющая сформу­лировать программу исследований по новому, чрезвычайно актуаль­ному научному направлению в теории физического вакуума. Однако прикладные аспекты работы имеют вполне самостоятельное значение.
  

ЛИТЕРАТУРА

      -- Логунов А.А. Лекции по теории относительности и гравитации. Современный анализ проблемы. - М.: Наука, 1987. - 272 с.
      -- Зельдович Я.Б. Теория вакуума, может быть, решает загадку космогонии. - Успехи физических наук, 1981, т. 133, N 3, с. 479-503.
      -- Эйнасто Я.Э., Яаниста Я.А. Сказание о "скрытой массе".- Будущее науки, 1986, вып.19, с. 151-165.
      -- Козырев Н.А. Причинная или несимметричная механика в линейном приближении. - Л.: Пулково, ГАО АН СССР, 1958, - 89 с.
      -- Шноль С.Э. и др. Дискретные спектры амплитуд (гистограммы) макроскопических флуктуации в процессах различной при­роды.- Пущино: Б.И., 1985. - 39 с. (Препринт / ИБФ АН СССР).
      -- Мишин A.M. Феноменологическая модель неустойчивости в геофизической гидродинамике. - Деп. в ЦИВТИ МО СССР, N Д7380, Д7381.- Опубл. в УПИМ ЦИВТИ МО, 1985, вып. N 3, сер. Б. - 29 с.
      -- Капица П.Л. Эксперимент. Теория. Практика. Статьи и выступления, изд. 4 - М.: Наука, 1987. - 494 с.
      -- Старр В. Физика явлений с отрицательной вязкостью,- М.: Мир, 1971.
      -- Монин А.С. Об отрицательной вязкости в глобальных циркуляциях // ДАН СССР. 1987, т. 293, N 1, с. 70-73.
      -- Монин А.С. О суперротации планетных атмосфер // ДАН СССР, 1987, т. 295, N 4, с. 828-831.
      -- Мишин A.M. О влиянии вращательного движения на диффузионные процессы в жидких средах. - Доклад на 18-х Гагаринских чтениях 4-8 апреля. - М.: ИПМ АН СССР, 1988.
      -- Монин А.С. Шишков Ю.А. История климата. - Л.: Гидрометеоиздат, 1979. - 408 с.
      -- Итоги науки и техники. Серия Исследование космического пространства / ВИНИТИ. - М.: 1984, - т.22. Физика межпланет­ной плазмы / И.С.Веселовский.- 139 с.
      -- Мигдал А.Б. Пустота-эфир-вакуум.- Будущее науки, 1986, вып.19, с.121-136.
      -- Ле Блон П., Майсек Л. Волны в океане, т.1.- М.: Мир, 1981.
      -- Манн У., Макдональд Т. Вращение Земли.- М.: Мир, 1964.
      -- Баньковский Н.Г. и др. Физические процессы формирования изображений при газоразрядной визуализации ("эффект Кирлиан") // Радиотехника и электроника, 1986, т.31, вып.4, с.625-643.
      -- Каменкович В.М., Монин А.С. Физика океана, т.1,2.- М.: Наука, 1978.
      -- Ершов М.Е. "Ненормальная" вода // Изобретатель и рационализатор, 1977, N 12.
      -- Домнин Ю.С. и др. К вопросу о постоянстве фундаментальных констант. // Письма в ЖЭТФ, 1986, т.43, вып.4, с.167-169.
      -- Бердычев А.А., Мухамедов В.А. Землетрясение - фликкер-шум? // ДАН СССР, 1987, т.297, N 5, с.1077-1081.
      -- Анисимов М.П., Черевко А.Г. Флуктуационные явления в физико-химических экспериментах. - Новосибирск, Наука, СО, 1986.- 154 с.
      -- Бичак И., Руденко В.Н. Гравитационные волны в общей теории относительности и проблема их обнаружения. - М.: МГУ, 1987.
      -- Смирнов Б.М. Проблема шаровой молнии.- М.: Наука, ГФМЛ, 1968.- 208 с.
      -- Джан Р.Г. Инженерный подход к психофизическим явлениям //ТИИЭР, 1982, т.70, N 3, с.63-104.
      -- Кондратов A.M., Шилин К.К. Как рождаются мифы XX века.- Л.:Лениздат, 1988.- 176 с.
      -- Иванов К.Г. и др. Вспышечные облака как компактные бессиловые тороидальные конфигурации (по магнитным измерениям на космических аппаратах "Вега-1 и 2") // Космические иссле­дования, 1988, т.26, вып.1, с.57-62.
      -- Морозова Л.И. Облачные автографы земных недр // Природа, 1988, N 5, с.55-56.
      -- Халатников И.М. Теория сверхтекучести.- М.: Наука, 1971.
      -- Андроникашвили Э.Л. и др. Физика сверхтекучего гелия, кн.2.- Тбилиси: Мецниереба, 1978. - 186 с.
      -- Мишин A.M. Гипотеза о всемирном "самоторможении" вращающихся гидродинамических систем: Деп.рукопись.- Л.: ВИКИ им. А.Ф. Можайского, 1986, N 255967.- 44 с.
      -- Колмогоров А.Н. Локальная структура турбулентности в несжимаемой жидкости при больших числах Рейнольдса // ДАН СССР. т. 30, N 4, 1941.
      -- Беляев В. Эксперименты профессора Мышкина // Техника - молодежи, 1983, N 10, с.42-44.
      -- Гребенников В. Секрет пчелиного гнезда // Техника - молодежи, 1984, N 6, с.39-41.
      -- ТалалаевскиЙ В.Г. Новая теория гравитации. - М.: Труды МГУ, 1980.
      -- Кержанович В.В., Анцибор Н.М. и др. "Вега-I" и "Вега-2": вертикальные профили скорости ветра по данным доплеровских измерений на спускаемых аппаратах // Космические исследования, 1987, т.25, вып.5, с.673-677.
      -- Morrison N., Morrison D. Rotation and active regions in Sin-liece stars. Mercury, 1982, 11, N 2, p. 61-63.

Нетрадиционная передача механического
момента импульса на расстояние

   Основным итогом работы [1] явилось экспериментальное открытие новой формы движения праматерии, - это квазивещество как квантованные вихри физического вакуума, выходящие по размерам за пределы микромира. Отсюда следует факт существования в окружающем нас пространстве случайных и регулярных нетрадиционных форм материи, которые исторически более справедливо называть эфиродинамическими структурами с широким вихревым спектром.
   Совокупность эмпирически найденных свойств физического вакуума доказывает также существование новой механики малоизученной и чрезвычайно сложной среды. При этом вещество, образованное вихрями вакуума любого пространственно-временного масштаба, всегда обладает свойствами массы и инерции. Эти свойства отражены и в законах Ньютона, описывающих те же процессы взаимодействия физических тел с вакуумом-эфиром в своем сечении пространственно-временного спектра. Другое дело, что квазивещество принадлежит иному подпространству, взаимодействие которого с нашим миром (физическим вакуумом) подчиняется другим малоизученным законам.
   Сказанное выше явилось основанием для экспериментальной проверки возможности взаимодействия физических тел на расстоянии через вакуумный (эфирный) механический момент импульса. Например, вращение твердого тела, заполненного плотным эфиром ("жидкой" массой) [1], можно сравнить с вращением сверхтекучего гелия-II [2]. И в том, и в другом случае в сверхтекучей компоненте возникает упорядоченная структура макроскопических квантованных вихрей (вихревых нитей). По принципу наименьшего возмущения материального пространства сверхтекучая среда вращается как целое, а вихревые нити компенсируют этот механический момент, вращаясь в обратную сторону и обеспечивая rot
= 0 (теория Ландау). "Жгут" из вихревых нитей уходит в пространство, теряя энергию по некоторому закону, по-видимому, менее жесткому, чем 1/R2 .
   Находящееся в таком вихревом поле другое тело, не имеющее механического или другого контакта с первым, но состоящее в неравновесном (инерционном) взаимодействии с вакуумом, по тому же принципу наименьшего возмущения (действия) должно стремиться скомпенсировать вихревое возмущение, т. e. приобрести момент импульса противоположного знака. Положительный результат эксперимента должен подтвердить принципиальную возможность передачи механического момента импульса на расстояние и правильность исходных предпосылок, основанных на изученных свойствах физического вакуума.
   Схема экспериментальной установки изображена на рисунке 1.
  


  

Рисунок 1

  
   Роль генератора вихревого поля выполнял чугунный диск 1, установленный на стойку 2 из легкого материала (пенопласта) и вращаемый мотором 3 с постоянной угловой скоростью ? = 3,0 1/с.
   Для регистрации "излучаемого" момента импульса использовалась колеблющаяся по углу в горизонтальной плоскости (параллельно плоскости диска 1) система, состоящая из пластмассового сосуда 4, наполненного водой 5, закрытого прозрачной крышкой 6 и подвешенного на гибких тягах 7 к оси реверсивно вращающегося мотора 8. На дне сосуда в центре устанавливался индикатор-вертушка 9, состоящий из стойки с подпятником и коромысла с иглой в центре тяжести и симметрично расположенными пластмассовыми крылышками. Частота угловых колебаний сосуда была выбрана 0,5 Гц с амплитудой около 360®. Экран 10 предназначен для исключения влияния воздушных завихрений на регистрирующую систему.
   Проведена большая серия экспериментов (более 100 замеров), в ходе которых фиксировался поворот вертушки-индикатора, отождествляемый с реакцией жидкости на вращение диска 1. В каждом случае фиксировался также результат при неподвижном диске. Было установлено, что показания индикатора имеют значительный случайный разброс, т. e. потребовалась статистическая обработка результатов измерений. В среднем жидкость поворачивалась в сторону, противоположную вращению диска 1, с зависимостью от расстояния как 1/R. В пределах R = r....10 r, где r - радиус диска, жидкость поворачивалась за 40 с на угол ? = 130®....10®. Другими словами, на средних из указанных расстояний наблюдаемый эффект составил величину порядка 0,01 ?.
   Установлено, что на результаты экспериментов влияет присутствие оператора. Наиболее устойчивые результаты получены с жидкостью, предварительно активированной электрическим полем. Другие виды активации, влияние материала экрана 10, а также изменение режимов работы генератора и регистратора вихревого поля проверить не удалось.
   Тот факт, что жидкость 5 и диск 1 всегда вращаются в противоположные стороны, а на величину передаваемого момента импульса влияет биополе и активация, позволяет сделать вывод о проявлении в данном опыте вакуумных (эфирных) эффектов. Влияние на результаты измерений электромагнитных полей и движения воздуха при выбранной схеме эксперимента пренебрежимо мало.
   Описанный эксперимент доказывает, что наряду с миром классического вещества и механикой Ньютона реально существует и более тонкий параллельный макромир со своей механикой квазивещества. По среднестатистической энергетике в лабораторных масштабах этот второй мир на несколько порядков уступает вещественному. Однако во взаимодействии между указанными мирами, как известно, наблюдаются прорывы-выбросы в виде аномальных явлений, способных к разрушительным действиям.
  
  

ЛИТЕРАТУРА

  
      -- Мишин А.M. О новых свойствах физического вакуума, гравитационного поля и массы. - МО СССР, 1988. - 44 с.
      -- Андроникашвили и др. Физика сверхтекучего гелия, кн. 2. - Тбилиси: Мецниераба, 1978. - 186 с.

О макроскопической механике
физического вакуума

  
   Модель физического вакуума представлена сверхтекучей субстанцией в виде случайного поля вихревых структур. Квантовые сечения спектральной характеристики поля потенциально соответствуют параллельным мирам. Взаи­модействие между мирами определяется особыми условиями - пятой физиче­ской силой. Вакуумные возмущения, генерируемые Солнцем, в определенной полосе пространственных частот (миров) достигают поверхности Земли. Для регистрации этого "эфирного ветра" предложен чувствительный прибор, обла­дающий искусственным "биополем". Приведены осциллограммы, характери­зующие реальные динамические процессы в физическом вакууме.
  
   Наблюдения за природными явлениями и лабораторные эксперименты, вы­полненные автором, легли в основу каче­ственной (феноменологической) модели физического вакуума (мирового эфира), опи­санной в работе [1]. По этой модели, отражающей мировоззрение Декарта, Фарадея, Кельвина и других приверженцев концепции эфира, макроскопический вакуум представляет собой сверхтекучую, квантовую турбулизованную среду со спектральной характеристикой фликкер-шумов на макроучастке. В ми­кроскопической области вакуум имеет особенность: на фоне виртуальной "пены" существует обычное вещество в форме устойчивых энергичных вихревых структур (линейчатый уча­сток спектра).
   Каждое квантовое сечение спектральной характеристики по­тенциально соответствует своему вещественному миру, созда­ваемому динамической вихревой структурой определенного пространственно-временнаго масштаба. При этом следующий масштаб обнимает все предыдущие, так что бесчисленное число миров со своей механикой и электродинамикой сосуществуют в одном трехмерном пространстве. Результат механического взаимодействия квазивещества (вихревых структур параллель­ных миров) с нашим обычным веществом целесообразно на­звать пятой физической силой.
   В лабораторных условиях автор наблюдал квазиустойчивые макроскопические вакуумные вихри в цилиндрической системе "твердое тело - жидкость". Вращение такой системы сопровож­далось явлением перераспределения момента импульса между твердой и жидкой фазами, аналогичным явлению геофизиче­ской суперротации. Интересные экспериментальные результаты получены при изучении присоединенной к физическим телам ва­куумной "жидкой" массы, возникающей за счет гравитацион­ного взаимодействия тел с вакуумной турбулентностью различ­ных масштабов (с квазивеществом). Исследованы условия не­традиционной передачи момента импульса между разнесенными телами и принципы генерации вакуумных возмущений техниче­скими средствами [1, 2]. Однако не менее интересные для клас­сической физики результаты получены при ре­гистрации естественного "эфирного ветра".
   Концепция мирового эфира и эфирного ветра имеет длин­ною историю, но до сих пор ее рассмотрение не выходило за рамки микроскопической энергетической компоненты спектра турбулентности физического вакуума. Ограниченная этими условиями мето­дология и техника экспериментов не позволили с достаточной надежностью получить ожидаемый результат [3].
   Из нашей модели следует, что в каждом квантовом сечении пространственно-временного спектра вихревых возмущений вакуума может существовать свой "эфирный ветер". (Поэтому мы и берем этот термин в кавычки.) Но материальную основу пространства, воспринимаемого экспериментально, все же состав­ляет более мощная первая энергетическая компонента, т. е. вир­туальная "пена", и коэффициент увлечения этой компоненты вихревыми структурами любых масштабов может изменяться от нуля в твердых телах до единицы в галактиках. Короче го­воря, на сегодняшний день оказалось более доступным зареги­стрировать эфирный ветер в виде потока квазивещества в тон­ких мирах.
   Естественным генератором наиболее мощных и широкопо­лосных возмущений вакуума-эфира является Солнце (ближай­шие по широкополосности биологические системы). При этом межпланетное магнитное поле образуется вследствие вакуум­ных циркуляций, окружающих нашу звезду, как показано на рисунке 1. Таким образом, солнечный ветер содержит в своем составе вакуумную турбулентную компоненту переменного знака, о существовании которой предполагал легендарный синоптик А.B. Дьяков из алтайского поселка Темир-Тау.
   На рисунке изображено: 1 - Солнце; 2 - Земля; 3 - орбита Земли; 4 - контур циркуляций вакуума; 5, 6 - знакопеременные сектора "эфирного ветра" и слабого магнитного поля.
   Если классический эфирный ветер, возникающий за счет ор­битального движения Земли, практически экранируется ее гравитационным и магнитным полем, то турбулентные потоки, генерируемые Солнцем и содержащие вакуумные вихри макроскопических пространственно-временных масштабов, обладают большей про­ницаемостью. Конечно, и регистратор при этом должен строиться на других физических принципах, учитывающих макроскопическую механику вакуума-эфира и основные законы теории эфирных систем.
   Блок-схема регистратора "эфирного ветра" изображена в проекции на наш вещественный мир на рисунке 2, и представляет собой заурядную автоколебательную электромеханическую си­стему. На схеме обозначено: 1 - груз маятника; 2 - стальная пружина; 3 - соленоид, воспринимающий колебания маятника; 4 - соленоид, раскачивающий маятник; 5 - усилитель; 6 - самопишущий микроамперметр.

 []

  

Рисунок 1

  
   Профессор Н. А. Козырев использовал аналогичные устройства, но они откликались на "метавзаимодействие" отно­сительным изменением контролируемой величины в 10-5...10-7 [4]. Наш регистратор имеет примерно на 5 порядков лучшую чувствительность в основном за счет того, что он наделен искус­ственным "биополем", т. е. использует взаимодействие тожде­ственных вихревых макроструктур с преобразованием эффекта в классический электромагнитный процесс. Поэтому пятая сила регистрируется косвенно и пока не поддается количественной оценке. Описываемый прибор одновременно принадлежит к на­шему и к тонкому мирам, и изобразить его полную схему сейчас не представляется возможным по причине отсутствия общепри­знанных понятий и терминов еще несуществующей теории эфир­ных систем.
   Методика измерений заключалась в следующем. Регистра­тор интенсивности вакуумного потока, имеющий достаточно уз­кую диаграмму направленности (менее 5® на уровне 0,7) и реа­гирующий на знак потока, устанавливался на широте Санкт-Пе­тербурга в юго-западном направлении в горизонтальной пло­скости. Прибор включался примерно за 2 часа до того момента, как Солнце со своим эфирным "шлейфом" входило в диаграмму направленности, т. е. где-то в полдень. Выключалась регистра­ция около 17 часов по московскому декретному времени.
  

 []

  

Рисунок 2

  
   На первом этапе ставилась задача идентификации регистри­руемого сигнала. Из условий эксперимента было понятно, что следует ожидать появление импульса шириной с диаграмму на­правленности, т. е. длительностью порядка 15 минут. Кроме того, этот импульс в соответствии с моделью эфирного ветра (рисунок 1) должен появляться раньше на 5®...10® или по времени на 20...30 минут по сравнению с моментом, когда в диаграмму войдет диск Солнца.

 []

  

Рисунок 3

  
   После пробных записей было решено оценить, как регистри­руется сигнал при изменении угла геодезического азимута ?, под которым уста­навливался максимум диаграммы направленности прибора. Было пока­зано, во-первых, что сигнал уверенно идентифицируется на фоне шумов и, во-вторых, сдвигается практически по расчетному вре­мени (в августе месяце). Прохождение диска Солнца тоже фиксировалось искаженным импу­льсом меньшей амплитуды, что оказалось неожиданным и до сих пор не находит однознач­ного физического объяснения.
   Характерные осциллограм­мы эфирного ветра при посто­янном угле ? = 225® приведены на рисунке 3, когда диск Солнца проходит через диаграмму прибора около 15 часов. На осцил­лограмме 1 зафиксирован силь­ный положительный ветер (на­правление к Земле). В этом случае более слабый импульс от диска Солнца оказывается замаскированным. Кроме того, наблюдается последействие, своеобразная инерционность прибора, на причине которой остановимся чуть позднее.
   На осциллограмме 2 записан ветер средней интенсивности, и диск Солнца оставил четкий знакопеременный импульс. Осцил­лограмма 3, где ветер полностью отсутствует, получена на тре­тий день после новолуния. Остальные условия измерений не из­менялись, и регистратор был исправен, что проверялось по спе­циальному тесту. На осциллограммах 4, 5 зафиксирован силь­ный отрицательный эфирный ветер (в направлении к Солнцу). В этом случае импульсы как по форме, так и по времени появ­ления менее устойчивы, и уровень шумов выше.
   Отметим, что здесь приведены наиболее удачные реализации регистрируемых процессов, потому что возмущения вакуума-эфира, генерируемые Солнцем, имеют случайный характер. Сильный солнечный ветер внутри лаборатории явление не слишком частое, и замечено, что он совпадает по времени с магнит­ными бурями.
   Описанный регистратор имеет серьезный недостаток, обус­ловленный тем, что он в равной мере реагирует как па пятую физическую силу, порождаемую эфирным ветром, так и на ве­личину энергетической плотности турбулентности вакуума, т. е. на плотность и вязкость неподвижного квазивещества. Напри­мер, прибор мгновенно зашкаливает при воздействии па него прямых солнечных лучей, возмущающих вакуум в электромаг­нитном спектре. Кроме того, эфирный ветер и сам стихает не сразу после прохождения Солнца, за счет чего и образуется инерционный "хвост", зафиксированный на осциллограммах 1, 2 (рисунок 3).
   На условия измерений оказывает влияние фаза Луны и время года, помехи создают метеофронты и грозовые облака, а также сам оператор. Все это учитывалось при интерпретации получен­ных результатов, как и взаимодействие вакуумных потоков со стенами лаборатории.
   С учетом сказанного полученные экспериментальные резуль­таты хорошо вписываются в нашу общую модель физического вакуума и одновременно подтверждают изложенную научную концепцию. А описанный лабораторный прибор доказывает возможность создания инструментальной базы эфирной астро­физики.
   В заключение подчеркнем, что научная стратегия в освоении новых направлений в физике в первую очередь должна быть на­целена на изучение фундаментальных свойств физического ва­куума на таком профессиональном уровне, чтобы идеи, изло­женные в этом докладе, стали признанным достоянием офици­альной науки. C этой целью необходимо развивать следующие направления:
  -- теорию турбулентности в сверхтекучей, квантовой жидкости, обладающей дипольными и реологическими свойствами; это составляет основу макроскопической механики и электродинамики реального эфира-вакуума;
  -- теорию эфирных систем и эфирной астрофизики.
   В экспериментальном плане:
  -- способы и устройства для измерения интегральной и спектральной энергетической плотности турбулентных состояний эфира-вакуума (удельной массы квазивещества);
  -- способов и устройств для измерения "вязкости" макроскопического эфира-вакуума;
  -- способов и устройств для определения топологии эфирных вихревых динамических структур в различных сечениях пространственно-временного спектра.
   Реализация этой научной программы способна превратить парафизику из псевдонауки в настоящую науку и в перспективе построить здание Великой физики, включающей в себя не только классический мир, но и другие не менее материальные миры.
  

ЛИТЕРАТУРА

  
      -- Мишин А. М. О новых свойствах физического вакуума, гравитационного поля и массы.- МО СССР, 1988. - 44 с.
      -- Мишин А. М. Экспериментальное моделирование макроскопических цир­куляций физического вакуума. Доклад на семинаре: "Торсионные поля. Теоретические и прикладные проблемы", 17-19 января 1991 г. - Киев: ИФ АН УССР, МНТП ВЕНТ.
      -- Ацюковский В. А. Общая эфиродинамика. - М.: Энергоатомиздат. 1991. - 280 с.
      -- Еганова И. А. Аналитический обзор идей и экспериментов современной хронометрии. Деп. рукопись N 6423-84 ДЕП. - М.: ВИНИТИ, 1984. - 136 с.
  
  

Результаты эксперимента по регистрации
эфирного ветра

  
   The Experimental Results of Ether Wind Registration, by Mishin A. M. (Saint-Petersburg). The model of ether has presented by the superfluidity substance, which has been the random field of the curl structures. The quan­tum sections of the field spectral characteristic correspond to the parallel worlds potentially. The interaction between this worlds is determined by the fifth physical force. The ether wind arising from the orbit motion of the Earth attains the measuring device as the untraditional turbulent stream. The physical device having the artificial biological field was used for registration of the ether wind. The methods of measurements have described, the oscillo-grams of the dyamical ether processes have presented
   .
   С физической точки зрения во Вселенной нет ничего, кроме эфира и его вихрей. Эту истину отстаивал Декарт с последова­телями, и современная наука не может ее опровергнуть. Но что понимать под эфиром?
   Концепция мирового эфира и эфирного ветра разрабатывалась многими авторами, но даже в современных работах [1] ее рассмотрение не выходит за рамки "упрощенной механистической модели". Ограниченная этими условиями методика и техника экспери­ментов не позволили наблюдать макроскопические потоки эфира.
   Проблема разработки принципиально иной методологии, очевидно, означает рождение новой научной концепции, теоре­тическую основу которой должны представлять модельные опи­сания неизвестных ранее свойств эфира (физического вакуума). Непредвзятые наблюдения природных явлений и лабораторные экспери­менты позволили автору создать качественную эмпирическую модель праматерии-эфира, в значительной мере отражающую реальность [2].
   Согласно нашей модели эфир представляет собой сверхтеку­чую, квантовую нелинейную среду (жидкость) с сильно выра­женными поляризационными свойствами. Эта субстанция изначально пребывает в турбулентном состоянии. Квантовые сече­ния пространственно-временной спектральной характеристики возмущенного эфира потенциально соответствуют своим мате­риальным мирам. Результат механического взаимодействия квазивещества (вихревых структур параллельных миров) с на­шим обычным веществом целесообразно назвать пятой физиче­ской силой. Как видим, многомерность в нашем случае прост­ранственная не в геометрическом понимании, а в стереодинамическом, и это не исключает возможности для всех вещественных форм иметь свои мировые константы.
   Взаимодействие между мирами осуществляется по своим за­конам. И главная особенность состоит в том, что пятая физиче­ская сила в каждом опыте убывает во времени по экспоненте. Следовательно, этот вид взаимодействия подчиняется принципу относительности, но в данном случае этот принцип "срабатывает" медленнее и на несколько порядков слабее, чем при вза­имодействии между тождественными вихревыми структурами, принадлежащими одному миру (например, инерционными си­лами обычных физических тел). По оценкам Н. А. Козырева [3] величина "метавзаимодействия" определяется относительным значением в 10-5...10-7. В то же время С. Э. Шноль [4] фикси­ровал вызванные "космофозическими факторами" флуктуации параметров физических процессов до 10-2 (область фликкер-шумов).
   Традиционная модель эфирного ветра рассматривает пере­мещение наблюдателя (прибора) в пространстве, отождествляе­мом с микроскопической турбулентностью, или виртуальной "пеной" физического вакуума. На этом ограниченном этаже Вселенной в полной мере и практически мгновенно включается принцип относительности. Поэтому классические методы экспериментального обнаружения эфирного ветра не имеют ре­зультативной перспективы.
   К счастью, Природа мудрее наших представлений о ней, и оказывается, что принцип относительности нарушается в про­цессе формирования вихревых структур нетрадиционных мас­штабов, т.е. на макроскопическом участке вихревого спектра другая "инер­ционность" системы отсчета. В естественных условиях и в лабо­ратории наблюдаются неравновесные квазивещественные обра­зования, в отношении которых принцип относительности всту­пает в силу только через несколько часов. Этого времени вполне достаточно для регистрации многомерного эфирного ветра.
   Всякий, кто проводил исследования в области сверхфизики, должен был столкнуться с удивительным фактом. Все лабора­торные приборы, нацеленные на восприятие воздействий со стороны тонкого мира, дают превосходный эффект при первом включении, но затем их чувствительность падает по экспоненте, а оставшаяся восприимчивость изменяется непредсказуемым образом на уровне фликкер-шумов. С нашей точки зрения, воз­никающий в приборах энергоинформационный барьер между мирами соотносится с реализацией за конечное время принципа относительности в многомерном варианте.
   Сделаем важное замечание. Речь идет о макроскопической "грубой" механике эфира, т. е. о турбулентных возмущениях, циркуляциях лабораторных и больших масштабов. Эти процессы сопровождаются нетрадиционными волнами, а также более тонкими спинорными ("торсионными") возмущениями [5]. ( Последние здесь не рассматриваются).
   Итак, на основании эмпирических фактов утверждается, что все традиционные физические системы после многократного включения способны регистрировать только слабые нетрадиционные сигналы, в основном обычные фликкер-шумы как флуктуации пя­той физической силы. Исключение составляют естественные вы­бросы эфирного случайного поля в виде уфологических ано­мальных явлений, которые происходят так редко, что могут не учитываться в лабораторной практике. Энергоинформационный барьер (принцип относительности для квазивещества) у вновь созданной систе­мы формируется, как правило, после трехкратного включения аппаратуры. Это явление было названо автором законом триады, или законом эфирной (сверхфизической) адаптации.
   Сказанное выше обосновывает вполне очевидное направле­ние в проектировании эфирных систем. Для изучения вещественных форм тонкого мира необходимо создать регистри­рующий прибор из подобных же форм, т. е. из квазивещества, так как помимо бсльшего времени адаптационных процессов и взиамодействие наиболее эффективно в пределах совпадающего участка пространственно-временного спектра. Однако такой прибор не будет принадлежать к нашему миру, и возникает проблема как создания технического "эфирного двойника", так и считывания его показаний. В любом случае приходится стал­киваться с необходимостью поиска энергоинформационного ка­нала, соединяющего параллельные миры.
   Только терпеливые наблюдения за Природой помогли найти ключ к решению этой задачи, ибо интересующим нас энергоин­формационным каналом в совершенстве владеют биологические системы и прежде всего Человек, одновременно принадлежа­щий к вещественному телесному и другим мирам. Об этом свидетельствуют древние философии и успехи современной пара­психологии [5, 6]. Как подсказывают интуиция и опыт, принципиальным отличием биосистемы от косного физического при­бора является наличие у первой биополевых структур. Следова­тельно, и эфирная (сверхфизическая) система должна обладать хотя бы примитивным искусственным биополем.
   Дальнейший анализ показал, что изложенный выше концеп­туальный подход в полной мере удовлетворяет парадигме И. Л. Герловина [7]. Согласно этой парадигме любая "жизне­способная" система должна быть одновременно расположена в разных подпространствах, между которыми должен существо­вать замкнутый канал информации, несущий отрицательную энтропию.
   В настоящее время создан лабораторный макет сверхфизического прибора, достаточно надежно регистрирующий макропо­токи эфира. Сенсорно подтверждается, что этот прибор создает свой образ в параллельном мире в виде искусственного био­поля, устойчивость которого обеспечивается замкнутым кана­лом обратной связи между мирами (подпространствами). Тем самым признается существование постоянного обратного воз­действия нетрадиционного поля на физическую систему, принад­лежащую нашему миру, что казалось бы противоречит много­численным экспериментальным фактам. Но именно тут лежит граница между "жизнеспособной" и косной физическими систе­мами, между живым и мертвым в биологии.
   "Жизнеспособный" регистратор нетрадиционных возмуще­ний эфира имеет на 3...5 порядков лучшую чувствительность по сравнению с известным режимом [3] за счет использования вза­имодействия тождественных вихревых структур и специфиче­ского преобразования нового эффекта в классический электромагнит­ный процесс. При этом динамические характеристики эфира (давление потока, интенсивность возмущений) регистрируются косвенно и пока не поддаются метрологической оценке. Кроме того, закон триады для эфирного ветра остается в силе, хотя из­вестно что нужно сделать с системой, чтобы к очередному сеан­су измерений она восстановила активность, т. е. на заданное время вышла за пределы классического принципа относительности.
   Заметим, что как физиологический атлас человека не отра­жает его эфирной сущности, так и общепринятое изображение сверхфизического прибора не отражает его многомерных свойств. Блок-схема описываемого прибора приведена в [8]. Подобное устройство обладает четко выраженной "эфирной" диаграммой направленности (3®...5® на уровне 0,7), что обеспечивает определение направления и времени регистрации эфирного ветра и решает задачу идентификации полезных сигналов. О конкретной методике измерений достаточно сказано в [8], где приведены также первые результаты регистрации эфирного ветра.
   Сложность экспериментов заключалась не только в том, что постоянно приходилось принимать меры по восстановлению чув­ствительности регистратора и контролировать форму диаграм­мы направленности, но также и во внешних условиях, так как у поверхности Земли одновременно существуют три эфирных потока. В этой работе в отличие от [8] основное внимание уде­лено орбитальному ветру и его взаимодействию с радиальным потоком эфира от Солнца.
   В соответствии с нашей моделью при регистрации любого эфирного потока необходимо учитывать его пространственно-временной спектр. Очевидно, что основным источником возму­щений эфира в нашей планетной системе является Солнце. Если эти возмущения воспринимаются нашим при­бором, то должен регистрироваться результирующий ве­тер как векторная сумма скоростей солнечного турбулентного ветра и орбитального движения Земли. Однако реальные изме­рения фиксируют как результирующий, так и обе "составляю­щие" эфирного ветра, имеющие различный спектральный со­став.
   Этот факт дает основание для предположения, что собст­венно орбитальный ветер, совпадающий с направлением движе­ния планеты, возникает за счет возбуждения нетрадиционного поля Земли "классическим" потоком эфира, и следовательно, наш прибор опосредованно воспринимает и микроскопиче­скую турбулентность. Прямой солнечный эфирный ветер, по-ви­димому, порождается электромагнитными и другими радиаци­онными процессами, включая корпускулярные потоки. К со­жалению, в настоящее время отсутствуют средства для количе­ственной оценки спектральных характеристик эфирных потоков, а также недостаточно изучена и спектральная чувствительность регистрирующего прибора.
   Усредненные результаты измерений эфирных ветров приве­дены на рисунке 1 в виде графика относительной интенсивности, привязанного к поверхности Земли. Здесь же построена вектор­ная диаграмма солнечного турбулентного эфирного ветра с уче­том орбитального движения Земли. Согласно [8] этот ветер коррелирован с межпланетным магнитным полем и может из­менять направление на обратное (пунктирное построение).
   Всего обработано около 100 сеансов аппаратурных измере­ний, и примерно в 20% из них сигнал превышал шумы более чем в 2 раза и группировался около расчетного времени. Экспери­менты проводились в г. Санкт-Петербурге в 1991-1994 гг. При выборе времени измерений и ориентации регистрирующего при­бора (? - геодезический азимут) учитывался фактор экранирующего влияния Земли и на­правление геофизических эфирных потоков. Сильные эпизоди­ческие помехи создают метеофронты и технические процессы, поэтому вопросам идентификации полезных сигналов уделялось первостепенное внимание.
  

 []

Рисунок 1. Диаграмма эфирных ветров в околоземном
про­странстве

  
   Как следует из рисунка 1, орбитальный эфирный ветер появляет­ся раньше расчетного времени в среднем на 5® (за опорный брался солнечный азимут). Это можно объяснить тем, что из­меряется горизонтальная составляющая ветра, которая по ряду причин может не быть ортогональной с солнечным азимутом. (Например, взаимно перпендикулярные набегающие потоки на поверхности шара не всегда пересекаются под 90®). Солнечная турбулентная компонента, создающая результирующий ветер, регистрируется реже, но интенсивность ее в несколько раз больше. Из векторной диаграммы видно, что скорость солнеч­ного турбулентного ветра примерно в 2 раза меньше орбиталь­ной скорости Земли. Эфирная компонента солнечной радиации, не взаимодействующая с орбитальным ветром, регистрируется тоже не всегда и в виде короткого знакопеременного импульса [8]. Орбитальный эфирный ветер и результирующий по интенсивности связаны между собой, так как оба не регистри­руются в новолуние, во время дождя и снегопада.
   Результаты наиболее характерных сеансов измерений орби­тального эфирного ветра приведены на осциллограммах рисунке 2, где указаны часы суток по зимнему (декретному) московскому времени и геодезический ази­мут прибора ? (положение максимума диаграммы направленности). Почти перед каждым сеансом менялся режим работы прибора, что ока­зывало влияние на его чувствительность и форму диаграммы направленности. Расчетное время регистрации орбитального ветра на 6 часов опережает суточное (угол между солнечным азимутом и теоретическим направлением ветра принимался за 90®) и, естественно, зависит от ориентации регистрирующего прибора. Например, для осциллограмм 1, 2 расчетное время равно 10 часам, а максимум сигнала зафиксировался раньше на 10 минут, т. е. в данном случае опережение орбитального ветра составило около 3®.
   На осциллограмме 1 (8.04.94 г.) записан сильный орбиталь­ный ветер, уменьшивший в несколько раз фоновые шумы при­бора. В этом сеансе в 12 часов был также зафиксирован результирующий эфирный ветер в 3 раза большей амплитуды. График 2 (12 04 94 г.) отражает ветер средней силы в виде "бороды" из серии импульсов отрицательного знака (режим системы реги­страции способствовал генерации коротких импульсов).
   Осциллограммы орбитального ветра 3 (7.03.94 г.), 4 (8.03.94 г.) получены в со­седние дни без изменения режима работы прибора. Записи 5 (30.12.93 г.), 6 (15.01.94 г.), 7 (26.01.94 г.), 8 (23.12.93 г.) пока­зывают, что иногда следом за полезным сигналом появляется положительный или отрицательный импульс как своеобразное "спиновое эхо" (аналогичные сигналы наблюдаются и при ре­гистрации искусственных излучений). По своему содержатель­ны осциллограммы 8, 9 (22.01 94 г ) и 12 (24.12.93 г.), записан­ные на боковую диаграмму направленности (под 90® к основ­ной), которые мало отличаются от остальных. Эта особенность прибора создавать "крестообразную" диаграмму восприимчивости очень интересна, но усложняет интерпретацию полученных резуль­татов.
  


  

Рисунок 2. Осциллограммы эфирных ветров

  
   На осциллограмме 10 (16 12.93 г.) записан орбитальный эфирный ветер с обратной стороны, сквозь Землю в виде "ступеньки" отрицательного знака (расчетное время 21 час). Гра­фик 11 (17.12.93 г.) демонстрирует сигнал, задержанный отно­сительно расчетного на 1,5 часа, что соответствует солнечному ветру (см. рис. 1). Записи 12 (24.12.93 г.), 13 (10.01.94 г.) пока­зывают, что при некоторых условиях формируется сигнал отри­цательного знака, с провалом максимума или в виде полу­волны.
   Турбулентный эфирный ветер как результат сложения сол­нечных возмущений с орбитальным движением Земли получен пока в малом числе реализаций и требует дальнейшего изуче­ния с учетом ортогонального канала регистрации.
   Подводя итоги важно подчеркнуть, что во всех случаях отме­чается практически полная корреляция результатов аппаратур­ной регистрации с сенсорными наблюдениями. Поэтому описан­ные здесь эксперименты безусловно объективны и доказывают существование в околоземном пространстве специфических эфирных потоков. Проведенные исследования подтверждают работоспособность новой научной методологии и, может быть, в этом на сегодняшний день заключается их основная ценность.
   Сверхфизический прибор нуждается в дальнейшем изучении с целью усовершенствования его характеристик, приняв во внимание, что адаптационная потеря чувствительности, различие в формах сигналов, реакция на энергетическую плотность ("температуру") эфира и ортогональный канал регистрации, - все это отражение фундаментальных свойств самого эфира. Просто мы мало знаем и не привыкли еще к особенностям эфир­ных цепей и систем, к принципиально новой многомерной экспе­риментальной технике, использующей нетрадиционные поля.
   Физика макроскопического эфира - это постоянно "усколь­зающая" физика, существующая за счет колебаний фундамента принципа относительности и загадочная, как улыбка Джокон­ды. Именно по этой причине данная область исследований не стоит в одном ряду с классическими науками и до сих пор ис­пытывает критический натиск со стороны целой армии скеп­тиков.
  

ЛИТЕРАТУРА

  
      -- Ацюковский В. А. Общая эфиродинамика.- М.: Энергоатомиздат, 1990. - 280 с.
      -- Мишин А. М. О новых свойствах физического вакуума, гравитацион­ного поля и массы, - МО СССР, 1988.- 44 с.
      -- Козырев Н. А. Избранные труды. - Л.: Издательство Ленинград­ского университета, 1991.- 448 с.
      -- Шноль С. Э. и др. Дискретные спектры амплитуд (гистограммы) макроскопических флуктуации в процессах различной природы. - Пущино: Б И, 1985. - 39 с - (Препринт / ИБФ АН СССР).
      -- Шипов Г. И. Теория физического вакуума. - М.: Фирма "НТ - Центр", 1993. - 362 с.
      -- Блаватская Е. П. Тайная доктрина, т. 1, 2. - Л.: Издательство "Экономика и культура", 1991. - 828 с.
      -- Герловин И.Л. Основы единой теории всех взаимодействий в ве­ществе.- Л.: Энергоатомиздат, 1990. - 432 с.
      -- Мишин А. М. О макроскопической механике физического вакуума. В сб. Проблемы пространства и времени в современном естествознании. Серия "Проблемы исследования Вселенной", вып. 17, Санкт-Петербург, 1994, с. 94-99.
  

Модель эфира как результат новой эмпирической концепции

  
   Разработана новая методология экспериментальных исследований. Создан лабораторный макет физического прибора, имитирующего биосистемы на уровне эфирных восприятий. Зарегистрированы эфирные возмущения, создаваемые космическими телами. Полученные результаты легли в основу построения качественной, но более достоверной эмпирической модели эфира.
  
   В естественных науках непреходящую ценность имеют только наблюда­тельные и экспериментальные факты. Наиболее существенные новые резуль­таты, основанные на таких фактах, получены, в работах [1-4] , где доказано существование до межгалактических масштабов некоего "твер-дого" пространства, способного вопреки выводам Эйнштейна служить абсо­лютной системой отсчета.
   Но какова физическая сущность абсолютного пространства? Где преде­лы применимости принципа относительности? Как соотнести с классически­ми категориями экспериментальные результаты Н.А. Козырева [5] , А.И. Вейника [6] , А.В. Чернетского [7] и многих других "парафизиков"? По­пытка ответить на эти и другие вопросы предпринята в настоящем докладе.
   Автор убежден, что отталкиваясь только от свойств обычного вещест­ва и сопутствующих ему полей, которые являются уникальными, но не един­ственными формами существования праматерии-эфира, нельзя увидеть дру­гие этажи Вселенной, содержащие вихре-волновые структуры иных масшта­бов и топологий. Под натиском фактов необходимо признать, что принци­пиально новые фундаментальные знания дают нетрадиционные, сверхфизические опыты, осно­вываясь на которых можно построить строго научную экспериментальную ме­тодологию и начала новой физики, включая теорию эфирных цепей и систем. Подобный подход позволяет обнаружить физический смысл в тех областях науки, которые до сих пор прикрывались голыми постулатами.
   Данное направление исследований последовательно развивалось автором в [8-10] , где изложена суть новой эмпирической концепции. Полученный позднее материал подтвердил результативность экспериментальной ме­тодологии, основанной на использовании технических систем с искусст­венным биополем. Окончательно доказано, что подобные физические прибо­ры способны воспринимать интенсивность турбулентных возмущений эфира, анизотропные свойства (направление поляризации) и пото­ки эфира (ветер). В то же время, как показано в [8], имеются методы и средства исследования макроскопических свойств эфира, основанные на иных принципах.
   Приборные наблюдения и специальные эксперименты, выполненные с по­мощью автоколебательной электромеханической системы с искусственным биополем и других устройств в 1982 - 1996 г.г. (г. Санкт-Петербург), поз­волили получить следующие фактические результаты.
   1. Любые изменения внутреннего состояния или механического движе­ния вещества (физического тела) сопровождаются нетради­ционными вихре-волновыми возмущениями эфира, которые повышают его энергетическую плотность в прилегающей к телу обла­сти, а также по пути направленного распространения волн неизвестной природы. Особенно эффективно возмущают эфир неравновесные термодинами­ческие и электромагнитные процессы. Свойства вихре-волнового возмуще­ния эфира зависят от атомно-молекулярного cостава активного тела, его внутрен­ней структуры, геометрической формы и частоты механических или других колебаний. Покоящееся физическое тело заполнено тяжелым "жидким" эфи­ром (присоединенной "жидкой" массой [8]), который за пределами тела образует менее плотную стационарную оболочку, по форме и градиенту отличную от гравитационного поля.
   Описанные малоизученные эфирные процессы занимают широкий спектр макроскопических пространственно-временных волн-частот и обладают яв­но выраженной инерционностью, что подтверждает их квазивещественную, вихревую природу.
   2. В лабораторных условиях все опыты по генерации и регистрации новых форм движения эфира подчиняются закону сверхфизической адаптации [10], или закону триады (аналогу многомерного принципа относительности). Самым результати­вным является первый опыт, первое применение вновь созданного устройс­тва; после чего формируется энергоинформационный барьер, сводящий к классическим все процессы после трехкратного повторения ситуации. В одном из экспериментов при первом включении нетрадиционное излучение измени­ло параметр классического физического процесса в 15 раз (!).
   Энергоинформационный барьер отражает главнейшее свойство эфира, на­званное принципом наименьшего возмущения [8]. В зависимости от условий опыта адаптация занимает время от нескольких секунд до нескольких часов. (Экспериментатор попадает в более замедленный мир с ростом размера ви­хрей). Изменение спектрального состава эфирных возмущений или других условий опыта на некоторое время отодвигает энергоинформационный барьер.
   3. Возбужденная область эфира ведет себя как область, насыщенная невидимой материей, на которую действует сила тяжести. Она "расползается" в прост­ранстве, уменьшая интенсивность, но преимущественно в горизонтальной плоскости и вниз по вертикали. Следовательно, квазивещество как вихре­вая структура обладает массой.
   После выключения генератора и диссипации квазивещества (примерно через 3 часа) примыкающая к генератору область эфира, а также в направле­ниях излучения превращается в "безваттную" пространственную неоднород­ность, что можно объяснить поляризационной или структурно-топологичес­кой анизотропией равновесного ("голографического") состояния эфира. Но главное за­ключается в другом, - эта неоднородность, способная существовать многие дни, остается на одном месте, несмотря на движение Земли в пространс­тве и дующий со всех сторон эфирный ветер.
   4. Вихревая вязкость невозмущенного эфира в горизонтальной плоско­сти в несколько раз больше, чем в вертикальной, т.е. существует анизо­тропия стационарной эфирной оболочки Земли и соответствующего ей по структуре гравитационного поля. Это может свидетельствовать о том, что спектр вихревых структур эфира изменяется с высотой в сторону увеличе­ния размеров вихрей, а в горизонтальной плоскости эфир более однороден. Анизотропия настолько велика, что в вертикально стоявшей чугунной ган­тели после опрокидывания на 180® жидкий эфир перетекает из верхней части в нижнюю, демонстрируя эффект "песочных часов" (подчиняется закону триады). Наряду с этим, анизотропия создает у поверхности Земли своеобразный "волновой канал", обеспечивающий возможность регистрации всех космических и планетарных возмущений преимущественно в горизонтальной плоскости.
   5. Энергетическая плотность (возбуждение) эфира зависит от внешних, естественных факторов. Так, суточные изменения плотности эфира корре-лированы с электрическим полем Земли, которое по московскому времени минимально в 6 часов и максимально в 21 час. Кратковременные энергети­ческие всплески вызывают грозовые явления в атмосфере.
   Зафиксированы также эпизодические подъемы энергии эфира в полдень, когда эфирный поток от Солнца направлен вдоль магнитных силовых линий Земли и по линии вихрей сетки Хартмана. В течение месяца энергия эфира увеличивается в полнолуние и падает в новолуние.
   6. Обнаружен стационарный геофизический эфирный ветер восточного направления, западный ветер и ветер в сторону Солнца после его захода, а также ветер пе­ременного направления, обусловленный системой циклонов и антициклонов в атмосфере. Движение воздушных масс увлекает за собой наиболее подвижную часть эфирной оболочки Земли с учетом закона адаптации.
   7. В масштабах солнечной системы приборные наблюдения фиксируют на поверхности Земли эфирную компоненту солнечного ветра, встречный и попу­тный орбитальные ветры. Эти турбулентные потоки эфира имеют различный спектральный состав. Например, попутный ветер для Земли со скоростью около 300 км/с вызван вращением вместе с Солнцем его индивидуального нетрадиционного эфирного поля.
   8. Зарегистрирован встречный и попутный эфирный ветер при движении Солнца по галактической орбите, а также анизотропия пространства в на­правлении абсолютного движения солнечной системы к созвездию Льва и такого же движения Галактики к созвездию Гидры.
   9. Доказана возможность приборной регистрации поляризации эфира, вы­званной нетрадиционным гравитационным взаимодействием Земли с другими небесными тела­ми (узкими каналами "темной" материи). Зафиксированы локальные сигналы от Луны, Солнца, центра Галактики и кометы Хакутаке. (25.03.96 г.).
   Эксперименты в своей совокупности доказывают важнейшее положение: эфирные ветры различных направлений могут регистрироваться физическими приборами одновременно и независимо, нарушая закон векторного сложения пространственных движений. Точно также одновременно и независимо на­блюдается и гравитационная анизотропия (поляризация) в эфире.
   Приведенные экспериментальные результаты имеют прямое отношение к проблеме абсолютного пространства. Фрагменты записей, при проведении многих сотен наблюдений и опытов приведены на рисунке 1. Под каждой осцил­лограммой указано московское декретное время в часах, а в случае про­странственно избирательных измерений и геодезический азимут ?, под ко­торым выставлялась главная ось чувствительности прибора с искусствен­ным биополем (ПИБ). На графиках кружком обозначено положение на времен­ной оси диска Солнца в момент его совмещения с осью чувствительности ПИБ (светлый кружок - Солнце впереди на главной оси; темный - Солнце сзади, под Землей; полутемный - Солнце на ортогональном направлении). Вертикальными черточками с соответствующими надписями указано расчетное положение на временной оси основных космических ориентиров, причем ко­роткая горизонтальная черточка указывает ортогональное направление.
   Измерялась только местная горизонтальная составляющая внешних возмущений приземного слоя эфира, т.е. геодезический азимут ?. (При переходе во вторую экваториальную систему отсчета на широте Санкт-Петербурга с точностью до градуса получим прямое восхождение ?). Все исходные астрофизические данные предоставле­ны автору А.А. Шпитальной.
   Первый график на рисунке 1 отражает адаптационный процесс (формирова­ние энергоинформационного барьера) как реакцию ПИБ на ступенчатый не­традиционный сигнал техногенного происхождения (показан пунктиром). В данном случае постоянная времени адаптации равна 3 часам. Для природных процессов это время может быть значительно больше за счет естественной динамики спектрального состава эфирных возмущений.


Рисунок 1

   Осциллограмма 2 демонстрирует увеличение энергетической плотности эфира после 20 часов. Изрезанность кривой объясняется изменением анизо­тропных свойств (потоков) эфира при вращении вместе с Землей прибора, имеющего достаточно узкую диаграмму чувствительности. Суточные изменения энергетики эфира подтверждает и запись 3, полученная с помощью электро­магнитного устройства, генерирующего импульсные сигналы с амплитудой, обратно пропорциональной энергетической плотности (вихревой вязкости) эфира. Здесь снова отмечается подъем плотности эфира после. 20 часов, кратковременное уменьшение энергии около 2-х часов и длительное после 6 часов. Как уже отмечалось, аналогичные вариации присущи электрическому полю Земли.
  
На осциллограмме 4 записана гравитационная анизотропия Солнца. Кри­вая а - первое включение ПИБ в новом режиме; кривая б - запись следующе­го дня, показывающая адаптационную потерю восприимчивости и одновременно более точное направление на источник гравитации.
   График 5 демонстрирует воздействие мощного эфирного потока на ортого­нальный канал ПИБ в направлении, попутном орбитальному движению Земли и практически совпадающем с направлением галактической орбиты Солнца. За­пись 6 характеризует анизотропию эфира (ветер) в направлении абсолютного движе­ния солнечной системы к созвездию Льва. Подобная анизотропия вызвана встречным вихре-волновым потоком, спектр которого видоизменен полями Зе­мли. На осциллограмме 7 аналогичный результат относится к движению Солн­ца по галактической орбите к созвездию Лебедя, с записью по основному каналу ПИБ. Этот сигнал содержит больше шумов, так как существует эфир­ный поток близкого спектрального состава, движущийся в противоположную сторону.
   На 8 и 10 осциллограммах на ортогональный и основной каналы записа­ны сигналы, принятые с направлений, близких к космологическому векторному потенциалу Ю.А. Баурова [11]. Для первого сигнала (декабрь) прямое восхождение без поправки на широту ?` - 283®, для второго (май) ?` - 290®. На графиках просматривается и направление на центр Галактики (ЦГ), а сама "магнитная" анизотропия ничем не отличается от других направлений как при наблюдении ПИБ, так и по результатам сенсорного восприятия. По­этому, с нашей точки зрения, космологический векторный потенциал созда­ется обычным эфирным потоком, существующим в системе галактик. Есть ос­нования для утверждения, что в эфирных потоках могут самопроизвольно возникать и продольные, и поперечные постоянные магнитные поля.
   Осциллограмма 9 характерна тем, что на ней зарегистрировались нап­равление абсолютного движения Галактики (к созвездию Гидры), центр Га­лактики, но отсутствует сигнал в направлении созвездия Льва. На запи­сях 6 и 7, напротив, нет сигнала от созвездия Гидры. Это свидетельствует о случайном характере рассматриваемых приборных наблюдений, которые для повышения достоверности требуют накопления и статистической обработки однотипной информации. График 11 показывает, что сближение в простран­стве нескольких анизотропных направлений (созвездие Льва, Солнце и ЦГ) оказывает усиливающее воздействие на ПИБ.
   Доказательством существования гравитационной анизотропии эфира слу­жит осциллограмма 12, записанная в момент неравновесного состояния энер­гетической плотности эфира. Получено раздвоенное изображение Луны, где первый сигнал соответствует эфирному двойнику. Такое положение воз­можно, так как структуры эфира различного спектрального состава (различные подпространства) враща­ются вместе с Землей не синхронно. Уникальная осциллограмма 14 фик­сирует активные эфирные процессы в окрестности Луны через 40 часов по­сле новолуния. Наблюдаемые осцилляции сигнала после 15 часов в действи­тельности значительно интенсивнее, потому что на выходе самописца вклю­чен мощный фильтр низких частот.
   Осциллограмма 13 доказывает хорошую разрешающую способность ПИБ, раздельно регистрирующего относительно близко расположенные направления эфирной анизотропии (созвездия Гидры и Льва). Заметно, что расчет­ные направления не точно совпадают с реальными, но это вполне естествен­но для отдельного сеанса измерений.
   На последней осциллограмме 15 записаны вихре-волновые возмущения эфира кометой Хакутаке. Несколькими днями раньше осцилляции сигнала бы­ли такой интенсивности, что самописец постоянно зашкаливал. К 25.03.96 г. у кометы появилась заметная угловая скорость, и возмущения эфира стали обычными, как на приведенном графике.
   Изучение формы зарегистрированных сигналов позволяет сделать вывод о макроскопическом квантовании эфирных процессов, особенно заметном на осциллограммах 6 - 10.
   Значительная часть исследований здесь не продемонстриро­вана, поскольку проводилась без документальной записи при визуальном или сенсорном контроле. Например, западный и восточный эфирные ветера были обнаружены и изучались с использованием гидродинамических устройств [8], стационарные анизотропные свойства нетрадиционного поля Земли - методами физической сенсорики и т.д. В целом полученные результаты с привлечением других научных мате­риалов позволяют в первом приближении описать структурную модель эфира.
  
   Вселенная - это безграничная трехмерная непрерывная нелинейная материальная среда, называемая эфиром, с ее возмущениями в виде вихрей и волн. Эфир, о пер­вичной элементарной структуре которого можно лишь строить догадки, с макроскопической точки зрения более всего напоминает квантовую, сверхтекучую жидкость (газ) с сильно выраженными поляризационными и спиновыми свойст­вами, реализующую принцип наименьшего возмущения. При изучении подобной малоизученной среды целесообразно использовать гидродинамический подход, приняв за основную характеристику пространственно-временной энергетиче­ский спектр вихре-волновых возмущений. Совокупность экспериментальных фактов при индуктивном подходе позволяет дать следующее качественное опи­сание состояний эфира.
   Энергетический спектр эфира-Вселенной изображен на рисунке 2. По оси абсцисс от единицы отложена в квадратичном логарифмическом масштабе про­странственная координата ? = 2?/Ф в пикометрах, где Ф - пространственная частота; по оси ординат - спектральная плотность w = =Е/? в произвольном масштабе. Двигаясь по пространственной оси, где на интервале 0-1 масштаб условный, можно проследить качественное изменение стереодинамических (фрактальных) этажей Мироздания.


Рисунок 2

  
   Прилегающий к нулевой отметке зачерненный участок спектра представ­ляет основное, наиболее устойчивое состояние эфира в виде плотной, мас­сивной однородной среды в жидкокристаллическом, практически твердом виде. Это энергетическое "дно" Вселенной, которое во все времена отождествлялось с понятием абсолютного пространства. Таким образом, пространство есть статистически наиболее инертное тонкоструктурное, "глюонное" состояние эфира, которое условно назовем твердым эфиром-1.
   Следующий наноскопический (в общепринятой терминологии микроскопический) масштаб спектра представляет этаж Вселен­ной, заполненный элементарными частицами вещества, т.е. локальными устой­чивыми вихревыми образованиями эфира-1 с большим спиральным моментом им­пульса одного знака. Этот же участок турбулентного поля эфира соответствует виртуальной "пене" физического вакуума. Причина образования вещества и одномасштабных турбулентных возмущений - категория высшего порядка. Можно лишь предполагать, что преобладание частиц над античастицами обусловлено вращательно-поступательным движением Вселен­ной в целом. Физический вакуум в составе конденсированных тел ведет себя как плотная сверхтекучая жидкость, которую назовем жидким эфиром-2. Рассмотренные состояния эфира с точностью до 10-7...10-2 определяют энерге­тику и весь облик окружающего нас геофизического и лабораторного мира.
   После эфира-2 начинается подпространство квазивещественной тонкой материи, состоящей из вихрей с характерными размерами от атомно-молекулярных до межзвездных масштабов. Этот этаж Вселенной статистически менее устойчив и в земных условиях, в нашем мире обладает неизмеримо меньшей энергией по сравнению с классическим за счет энергоинформационного барьера. Назовем эту фазу газообразным сверхтекучим эфиром-3, который рождается при возбуждении эфира-2 и как вторичная форма движения способен к самостоятельному существованию. Эфир-3 имеет максимум энергии на участке 10-7...10-10 м, так как эффективно генерируется всеми фор­мами атомно-молекулярного и электронного движения. Убедительным доказательством существования на поверхности Земли эфира-3 в виде квазивещества является сетка Хартмана, биополевые струк­туры, а также результаты специальных натурных наблюдений и лабораторных экспериментов [5-10] . Горизонтальная пунктирная линия на рисунке 2 озна­чает средний уровень энергии нетрадиционных возмущений эфира, обусловленных существующим фоном электромагнитных волн.
   За молекулярным участком энергия эфира-3 ра­стет по закону фликкер-шумов, что объясняется увеличением проницаемости энергоинформационного барьера с ростом размера вихрей. Максимум спектра в планетарных масштабах связан с участием эфира-2 и эфира-3 в геофизических про­цессах. Состояние эфира приобретает новое качество на звездном и галак­тическом уровнях вихреобразования.
   Приведенная на рисунке 2 спектральная характеристика очень условно от­ражает участок звезд, которые следует отнести к 4-му плазменному состо­янию эфира (эфиру-4), качественно и пространственно обособленному от других фаз. Звезда - это устойчивое "аномальное" явление в теле эфира, име­ющее спектр с равномерным распределением энергии по вихревым структурам всех масштабов, не исключая вещества. В галактических системах, новое качество появляется потому, что в вихревое движение частично вовлекается эфир-1, т.е. "твердое" пространство, и это является причиной нарушения законов Ньютона в динамике галактик. На этом участке спектра дол­жен наблюдаться мощный рост энергетической плотности эфира. Таким образом, внутри галактики искривлено не эйнштейновское геометрическое пространство, а материальное физическое пространство в виде эфира-1.
   Сложность восприятия эфира состоит именно в том, что являясь безгра­ничным материальным телом, он в большей части своего 3-х мерного объема одновременно пребывает в твердой, жидкой и газообразной фазах, не говоря о явлениях (устойчивых выбросах) типа элементарных частиц и звезд. По первопричине фазово­го состояния можно дать следующие определения эфира: твердый эфир-1 - первичный, или фундаментальный; жидкий эфир-2 - элементарный, вещественный; газообразный эфир-3 - молекулярный, волновой и т.д.; плазменный эфир-4 - звездный. Галактические вихри как 5-е состояние эфира являются новыми элементами в иерархии Вселенной, и это может быть возвратом к эфиру-2, а вернее к веществу на другом этаже мироздания.
   Важно уяснить, что спектр, изображенный на рисунке 2, характеризует энергию элементарных вихрей конкретной фазы эфира. Например, в вихревом движении циклона в атмосфере Земли участвует воздух, взвеси, пары воды, эфир-2 и эфир-3. Поэтому каждое сечение вихревого спектра оказывается многомерным в стереодинамическом и топологическом смысле. В то же время обычная физика в данном примере рассматривает только механику вещественной компоненты вихря. Следовательно, эфир как случайное поле действительно является совершенно новым физическим объектом, который для своего описания требует развития существующего математического аппарата.
   Принцип наименьшего возмущения (стремление к низшему энергетическо­му уровню), который реализуется через "фиолетовый" энергетический спек­тральный каскад, является фундаментальным свойством эфира. Этот принцип лежит в основе всех законов сохранения и принципа относительности, но действие его ограничено определенными пространственными масштабами. Рост спектральной плотности по закону фликкер-шумов означает существование в природе и "красного" энергетического каскада. Благодаря этому в масшта­бах Галактики эпизодически создаются условия, когда энергия "циклониче­ского" вихря начинает превышать энергию эфира-1 в том же объеме. И тогда возникает энергетический "разряд" между крыльями спектра, что означает рождение новой звезды.
   Любое физическое тело (система), имеющее массу, обладает своим авто­номным твердым подпространством в виде жесткой вихревой структуры эфира-2. Форма, размеры элементов и энергия этой структуры определяются ве­личиной массы и адекватны гравитационному полю. При взаимодействии с же­сткой "решеткой" эфира-1 (абсолютного пространства) даже подпространство Солнца практически ее не деформирует, по крайней мере в окрестности планет, чем и обьясняется относительная незыблимость основных законов физики в нашей планетной системе.
   Земля вращается вместе со своим твердым подпространством, включающем эфир-2, эфир-3, квазистационарные магнитные и электрические поля, но эфир-3 опережает вращение планеты и создает западный ветер. При взаи­модействии с неподвижным эфиром-1 в условиях криволинейного движения на поверхности Земли возникает и встречный восточный эфирный ветер (маг­нитное поле Земли сносится на запад со скоростью 0,3® в год). На Луну действуют два ветра: встречный из эфира-I и попутные из эфира-2 и эфира-3. (На низкоорбитальные ИСЗ действует только интегральный встречный ветер). На Землю и Солнце при орбитальных движениях действуют встречные и попутные пото­ки эфира различного спектрального состава. Зарегистрированная анизотропия пространства в направлении движения Галактики (рисунок I) свидетельствует о том, что абсолютное про­странство, т.е. эфир-1 не меняет своих свойств в межгалактических мас­штабах.
   Из законов нашего мира следует, что за явления вещества, инерции, гравитации, электромагнитных волн, принципов относительности и сохране­ния отвечает эфир-1. Нетрадиционные формы движения эфира в академическую лабораторную физику вносят малосущественные поправки. Эфир-2 и эфир-3, являясь "продуктом жизнедеятельности" классических вещественных и полевых про­цессов, относятся к вторичным формам движения эфира, выполняющим в техногенных масштабах главным образом информационные функции. Однако стекание эфира-2,3 к центру планет должно вносить свою долю в разогрев ядра. В земных условиях эфир-1 соединяется с вихревым движением вещества и эфира-2,3 в особых ситуациях, когда возникают природные катаклизмы и различно­го рода аномальные явления. Изучение макроскопических свойств эфира и законов его энергоинформационного взаимодействия с вещественными процессами должно стать важной составной частью теории катастроф, но еще большее влияние новые свойства эфира окажут на развитие астрофизики.
   В рамках небольшой статьи невозможно осветить все аспекты затрону­той фундаментальной проблемы. Но главное сказано: эфир - совершенно нестандартная многомерная материальная среда, одновременно пребывающая в трех главных фазо­вых состояниях, благодаря возмущениям со стороны неравновесных систем типа звезд и элементарных частиц вещества. Первая наиболее устойчивая фаза эфира есть абсолютное твердое пространство ("небесная твердь" по Священному Писанию), или энергетическое "дно" Вселенной, элементарная структура которого остается тайной. Причина зарождения вещества, звезд и галактик (сверхвещества) должна быть единой. Вероятнее всего, такой причиной является вращательно-поступательное движение Вселенной в целом.
   На современном этапе только через изучение макро- и мегаскопических форм движения можно познавать фундаментальные свойства и тонкие глуби­ны эфира. Именно так и вполне успешно начинала свой путь классическая физика в изучении микромира.
   Автор выражает глубокую благодарность главному редактору журнала "New Energy Technologies" А.В. Фролову и сотруднику ГАО РАН в Пулково А.А. Шпитальной за конкретную помощь в работе.
  

ЛИТЕРАТУРА

  
      -- Ефимов А.А., Заколдаев Ю.А., Шпитальная А.А. Экспериментальное обнаружение абсолютного пространства. В сб. Проблемы пространства и времени в современном естествознании. Серия "Проблемы исследования Вселенной", вып. 16. - С Пб.: РАН, 1993, с. 133 - 140.
      -- Толчельникова-Мурри С.А. К проблеме обнаружения движения Сол­нечной системы относительно эфира. - Там же, с. 95 - 105.
      -- Маринов С. Оптические измерения абсолютной скорости Земли. В сб. Проблемы пространства и времени в современном естествознании. Серия "Проблемы исследования Вселенной", вып. 15. - СПб.: РАН, 1991, с. 357 - 364.
      -- Уоллес Б.Дж. Проблема пространства и времени в современной физике. - Там же, с. 258 - 267.
      -- Козырев Н.А. Избранные труды. - Л.: Изд. ЛГУ, 1991. - 448 с.
      -- Вейник А.И. Термодинамика реальных процессов. - Мн.: "Наука и техника", 1991. - 576 с.
      -- Чернетский А.В. Плазменные системы с разделением электрических зарядов. Деп. рукопись Р 4003 - 83ДЕП. - М.: ВИНИТИ, 1983. - 102 с.
      -- Мишин А.М. О новых свойствах физического вакуума, гравитацион­ного поля и массы. - МО СССР, 1988. - 44 с.
      -- Мишин А.М. О макроскопической механике физического вакуума. В сб. Развитие классических методов исследования в естествознании. Серия "Проблемы исследования Вселенной", вып.17, - СПб.: РАН, 1994, с. 94-99.
      -- Мишин А.М. Результаты эксперимента по регистрации эфирного вет­ра. В сб. Новые идеи в естествознании. Серия "Проблемы исследования Вселенной", вып. 18. - С Пб.: РАН, 1995, с. 24 - 33.
      -- Бауров Ю.А. О структуре физического пространства и новом взаимодействии в природе. - Там же, с. 5 - 15.
   "Великие истины слишком важны,
   чтобы быть новыми"
  
   Моэм
  

Таинственный многоликий эфир

  
   1. О методологии научного познания
  
   Господствующий облик естествознания, сформировавшийся в ХVIII-ХХ вв., столкнулся с неразрешимыми проблемами в наступившие новые времена. Информационный поток эзотерических знаний захлестнул планету, а особенно исстрадавшуюся Россию, внес смуту в ортодоксальные умы и загнал в идейные бастионы старорежимную академическую элиту. Пришел конец при­митивному материализму и творчеству по указке чиновников. Свободная бескорыстная мысль ученых новой волны обнажила глубокий кризис в официальных науках и прежде всего в физике.
   Однако не следует думать, что на смену недалеким ученым пришли, наконец, выдающиеся таланты. Все мы участники сложнейшего творческого процесса, и законов диалектики никто не отменял. У классической физики слишком много реальных заслуг, поэтому наши предшественники должны быть в чем-то правы. Это они покорили атом, создали совершенный транспорт и компьютер­ный "рай", открыли генную инженерию и освоили космос. Позиции официальной науки очень сильны, и ведущие научные центры по-прежнему рецен­зируют на свой лад основной массив научной периодики. Они вправе спро­сить новое племя экзальтированных ученых: а где же ваши результаты? И положа руку на сердце, признаемся, что в эзотерическом буме много информационных шумов, экзотики, но внедренных в широкую практику фундаментальных открытий фактически нет (засекреченными данными автор не ра­сполагает). Что-то не получается инженерный вариант "вечного" двигателя, не обеспечивает детерминированной передачи нетрадиционных сигналов физический вакуум (эфир), а среди магов и чудотворцев слишком много шарлатанов.
   Что же хочет сказать автор этим, на первый взгляд, противоречивым вступлением? Прежде всего то, что современная метафизика и парапсихология, завоевав признание целой армии ученых, еще не прошли этапа становления в канонах традиционной методологии естествознания, но уже показали примитивность и ограниченность официальной научной парадигмы, плодотворной только для прагматиков, а в действительности приведшей планету к экологической катастрофе. Сейчас доказано, например, что возможны более естественные холодные термоядерные процессы, в том числе в живых орга­низмах, что КПД технических устройств может быть больше единицы, и, следовательно, существуют реальные пути получения экологически чистой энергии. При этом нарушается 3-й закон Ньютона и 2-ое начало термодинамики, т.е. ставятся под сомнение фундаментальные основы классической физики. Но еще важнее, - доказано существование огромного практически неизученного мира нетрадиционных, так называемых "аномальных" явлений, главного предмета оккультных наук. И все убедились, наконец, что древнейшие цивилизации располагали более полными принципиальными знаниями о Вселённой, чем наша современная наука, оснащенная самой совершен­ной экспериментальной техникой.
   Так устроен человеческий мир, и так было всегда, - новое знание приходит не со стороны, оно произрастает в недрах старого, отрицая ложное и отжившее. Сейчас важно понять, что полученные нашей цивилизацией научные результаты содержат в себе как истинные знания, так и ложные, т.е. большинство математизированных физических теорий полудостоверно. Непреходящую ценность в науке имеют только наблюдательные и экспериментальные факты. А ложную трактовку таким фактам обычно дают теоретики, пренебрегающие предупреждением Е.С. Вентцель: "Математические методы не полезны, а вредны до тех пор, пока явление не освоено на доматематическом, гуманитарном уровне". Удивительно, что эти слова принадлежат профессиональному математику.
   "Кто следующий принесет в физику великие созидательные идеи и построит новую фундаментальную теорию?" - спрашивал академик В.Л. Гинзбург. Можно с уверенностью ответить: только тот, кто, опираясь на ис­торический опыт естествознания, построит непредвзятую конструктивную методологию научного поиска. Сегодня уже ясно, что основу такой методологии составляют натурные наблюдения и специальные эксперименты, по­тому что новые знания о Природе можно получить только от самой Природы. И для объективного восприятия принципиально новых истин на первом этапе следует держаться подальше от математики, которая помимо изначальной аксиоматической ограниченности многими научными коллективами используется в роли кастового барьера наподобие латыни в медицине.
   Вместе с тем перед каждым думающим человеком встает волнующий вопрос: как не располагая современным арсеналом научных методов и технических средств, ученые древнего Китая, Египта и других стран более 7 тысяч лет назад получили знания о Вселенной, опережающие по новизне и значимости современную официальную науку? Ответ на этот вопрос дает Е. П. Блаватская в фундаментальном труде "Тайная доктрина" где со всей очевидностью доказывает, что в доисторические времена люди обладали более широким спектром чувственного восприятия окружающего мира и что этот спектр сузился до пяти органов чувств после того, как человечество выбрало неверный путь техногенной цивилизации. Особые отношения с Природой сохранили лишенные "разума" представители животного мира, демонстрирующие способность прогнозировать изменение климата на годы впе­ред, а также раньше людей знать о приближении природных катастроф.
   Нетрудно заметить, что на этапе становления классической физики ученые в большей мере, чем сейчас, опирались на прямые наблюдения, использующие органы чувств. Это нашло отражение и в названии разделов физики: механика - осязание, зрение; термодинамика - осязание; оптика - зрение; акустика - слух. В химии использовались также обоняние и вкус. И только в XX в., безоглядно поверив в эвристические возможности математических методов и окончательно оторвавшись от реальной действительности, физики стали выдумывать бесплодные теории, которые оказались неспособными объяснить основополагающие природные процессы, хорошо известные древним ученым.
   Итак, основы естествознания нового тысячелетия будут создавать и уже создают физики-экспериментаторы с экстрасенсорными способностями, несмотря на сильнейшую компрометацию последних ортодоксами и шарлатанами от науки. Из наших соотечественников наиболее яркими реформаторами естествознания были и есть ученые, обладающие сверхчувственным восприятием: Д.И. Менделеев, К.Э. Циолковский, Н.А. Козырев, А.И. Вейник, Б.В. Болотов, А.Ф. Охатрин, Е.А. Акимов, Ю.С. Карп и многие другие, в том числе скрывающие неординарные способности от небезобидного сообщества заурядных коллег. Имеются сведения, что и великий Фарадей, кстати, не доверявший математике, визуально воспринимал магнитное поле.
   Поколение естествоиспытателей новой формации необходимо готовить с гимназических лет, ориентируя их на экстрасенсорную оценку физических явлений, что равносильно чувственному восприятию макроскопического эфира. Только поколение ученых, освоивших новую методологию научного поиска, сможет выйти на следующий виток познания тайн Вселенной и вывести человечество из духовного и экологического тупика.
  
   2. Фундаментальные свойства эфира
  
   Во времена задолго до новой эры ни один философ или религиозный деятель не сомневались в существовании эфира, но название изначальной, единой для всех вещей материи в каждой научной школе было свое. Так, в древнеиндийском учении эфир имел название "акаша", в древнем Китае - "ци", в Японии - "ри". Все мировые религии (буддизм, христианство, конфуцианство, индуизм, иудаизм и др.) на ранней стадии существования в том или ином виде опирались на концепцию единого эфира. В более поздние времена идея эфира также привлекала внимание многих известных ученых. Но наиболее ярко сформулировал свою научную позицию Рене Декарт (1596-1650 гг.) гениально короткой фразой: "Во Вселенной нет ничего, кроме эфира и его вихрей".
   Человек, лишенный органов чувств, по-видимому, должен отрицать объективное существование материального мира, если такой человек вообще способен мыслить. Реальная действительность дана нам в ощущениях, поэтому естественно, что существование эфира как вселенской праматерии будут ставить под сомнение все, кто не способен воспринимать его чувственно. Как говорится, дальтонику невозможно объяснить, как выглядит зеленый цвет. Современный ученый с физическим складом ума, обладающий экстрасенсорными способностями, воспринимает природные явления во всем многообразии вещественных форм и законов их взаимодействия. Чем глубже такой исследователь погружается в этот топологически многомерный, чрезвычайно сложный мир, тем очевиднее для него справедливость истин, изложенных в окаменевших научных трактатах об эфире.
   Автор статьи, много лет изучавший эфир путем прямого чувственного контакта, а также в лабораторных физических опытах и установивший общие законы Вселенной, испытал настоящее потрясение, когда волею Судьбы в его руки попал текст "Тайны Гермеса". Написанное на изумрудной пластинке послание было найдено воинами Александра Македонского в гробнице египетского жреца Гермеса, жившего около 5 тысяч лет назад. Вот эти удивительные слова:
   "Истинно, без всякой лжи, достоверно и в высшей степени истинно: то, что находится внизу, аналогично тому, что находится вверху. И что находятся вверху, аналогично тому, что находится внизу, чтобы осуществить чудеса, единой вещи. И подобно тому как все вещи произошли от Единого, через посредство Единого, так все вещи родились от этой сущности через приспособление. Солнце ее отец. Луна ее мать. Ветер носил ее в своем чреве. Земля ее кормилица. Вещь эта - отец всякого совершенства во Вселенной. Сила ее остается цельной, когда она, превращается в землю. Ты отделишь землю от огня, тонкое от грубого осторожно и с большим искусством. Эта вещь восходит от Земли к небу и снова нисходит на Землю, воспринимая силу как высших, так и низших областей мира. Таким образом ты приобретаешь славу всего мира. Поэтому от тебя отойдет всякая темнота. Эта вещь есть сила всякой силы, ибо она. победит самую утонченную вещь и проникнет собой всякую твердую вещь. Так сотворен мир, отсюда возникнут удивительные приспособления, образ которых таков. Поэтому я назван Гермесом Трисмегистом (трижды величайшим), так как я обладаю познанием трех частей вселенской философии (материальной, умственной и божественной). Полно (завершено) то, что я сказал о действии Солнца".
   Такую тайну поведал потомкам трижды величайший Гермес, основатель древнеегипетской науки. По-видимому, для меня это уже не тайна, а волнующая весть от далекого Учителя с поддержкой выбранного направления в поисках истины.
   Для сравнения приведем наше краткое определение "единой вещи", полученное независимым эмпирическим путем и отражающее фундаментальные физические свойства эфира.
   Реальный эфир, первичная, самая тонкая суть которого остается тайной, оказывается совершенно нестандартной сверхтекучей трехмерной материальной средой, одновременно пребывающей в твердой, жидкой и газообразной фазах. Первая основная фаза эфира есть специфически твердое абсолютное пространство, или энергетическое "дно" Вселенной ("небесная твердь"). При этом под твердой фазой понимается жесткая жидкокристаллическая вихре-волновая структура (пространственная "глюонная" решетка). Вихри жидкого и газообразного эфира по размерам перекрывают все мыслимые пространственные масштабы, обладают квазивещественными свойствами и образуют множество стереодинамических подпространств, или параллельных миров. Классическое вещество представляет собой особый пространственно-временной этаж мироздания, где существует наш проявленный мир, также созданный из эфира.
   Ясно, что эфир - "отец всякого совершенства во Вселенной". Более подробно свойства праматерии рассмотрены в работах, указанных в конце статьи.
  
   3. Загадочный Разум эфира
  
   Когда я сравниваю "Тайну Гермеса" и свои выстраданные за 17 лет научные результаты, то всегда испытываю необычные, мистические чувства и вспоминаю о связи времен. Иногда кажется, что величайший Гермес помогает мне в исследовательской работе, потому что однажды таинственные Высшие Силы воочию продемонстрировали важнейший "закон триады", - главную причину сомнений в достоверности проводимых опытов. Воспроизводимость последних не укладывалась в традиционные мерки и до открытия этого закона казалась непредсказуемой.
   В начале февраля 1990 г. я приехал в Минск на всесоюзный научный семинар физиков-диссидентов. В один из вечеров с двумя представителями Киева посетил лабораторию академика А.И. Вейника, с которым был знаком заочно. Как только я назвал свое имя, Альберт Иозефович задал необычный вопрос: "А Вы нашли меры защиты?" "Какой защиты?" - недоуменно спросил я. Следующие слова известного академика удивили меня еще больше. "Вы занимаетесь делами, которые затрагивают интересы Космоса, - пояснил Альберт Иозефович. - Я могу назвать фамилии десятка ученых, которые проводили нетрадиционные исследования и все погибли в расцвете сил, потому что у них не было защиты". "А как же Вы сами?!" - наивно вырвалось у меня. "Я имею свой канал", - уклончиво ответил хозяин лаборатории и сразу перешел к демонстрации знаменитых опытов, показывая всем видом, что не намерен дальше развивать эту тему.
   После успешного участия в работе семинара и интересных знакомств я с новыми надеждами вернулся в Санкт-Петербург, а разговор с А.И. Вейником посчитал досадным недоразумением. Однако в первую же ночь проснулся от очень сильных упругих толчков в спину (спал на спине), так что тело отрывалось от матраца. Когда открыл глаза, толчки прекратились, но повернув голову направо, я увидел на фоне широкого окна, выходящего на лоджию, как из под кровати над полом быстро вырос темно-серый силуэт, похожий на взрослого человека со сглаженным контуром шеи и плеч, как будто на голову пришельца было наброшено длинное темное покрывало. В окружающем воздухе чувствовалась сильнейшая "электризация", от которой все волосы на моем теле встали торчком.
   Может показаться странным, но я оставался удивительно спокойным и с обычным научным интересом наблюдал за развитием феномена. Вот призрак стал медленно наклоняться к моему лицу, все ближе, ближе и еще ближе. В последний момент, избегая "соприкосновения", я инстинктивно отвернул голову и резко принял сидячую позу. Еще не глядя в сторону окна, почувствовал, что "электризация" мгновенно пропала, а вместе с ней и необычное чувство контакта с другим миром. Когда через какую-то секунду или две мой взгляд вернулся на место призрака, там уже ничего не было. До сих пор не пойму этого странного, гипнотического спокойствия, потому что я тут же откинулся на подушку и сразу заснул. Очень жалею, что не посмотрел на светящиеся часы, которые стояли рядом на тумбочке.
   Чтобы не беспокоить близких, на следующий день я лег спать в другой комнате на диване. Проснулся лежа на правом боку от того, что на постели, касаясь моего живота, что-то шевелилось, барахталось и издавало громкие звуки, напоминающие квохтанье курицы. Было темно около стены, и я наощупь прихлопнул "курицу" ладонью. Но рука опустилась на простыню, не почувствовав ничего, кроме воздуха. "Электризации" на этот раз не было. И снова непонятное спокойствие, и снова тут же заснул, не посмотрев на часы.
   На третью ночь проснулся на левом боку от оглушительного пистолетного выстрела в двух-трех сантиметрах над правым ухом. Повернулся на другой бок и заснул, забыв обо всем.
   Однако мой разум и чувства были безмятежны только ночью, а днем я недоумевал, размышлял, анализировал, вспоминал разговор с А.И. Вейником. Хотелось понять, что со мной происходит, что хотят от меня представители тонкого мира и что, наконец, я должен делать в сложившейся ситуации. Взвесив все, на всякий случай прекратил эксперименты и как бы затаился.
   Но шли дни, а чудес больше не было, и я вернулся к обычным, практически ежедневным исследованиям свойств мирового эфира. Через несколько месяцев удалось организовать эксперимент в биофизической лаборатории по воздействию нетрадиционного излучения на эталонный процесс угасания фотолюминесценции в органическом растворе. Использовался японский прибор со встроенным компьютером, где пробирка с исследуемым раствором помещалась в светонепроницаемый заземленный контейнер из трехмиллиметрового дюраля. Обычно интенсивность фотолюминесценции падала по стабильной экспоненте с постоянной времени около одного часа. Договорились включать генератор нетрадиционного излучения, узконаправленного на контейнер с пробиркой, на 5 минут через каждые 10 минут после начала эталонного процесса. И вот, при первом включении скорость падения интенсивности фотолюминесценции уменьшилась в 15 раз, при втором - в 5 раз, а при третьем - менее раза, едва заметно. Последующие включения генератора не регистрировались ни в этот день, ни в последующие дни в течение месяца. И об эксперименте скоро забыли, отнеся результат к разряду случайных событий.
   Но я продолжал исследования в домашней лаборатории, и однажды вновь получил трехкратную регистрацию нетрадиционного процесса при совершенно других условиях. И тогда меня осенило! Я вспомнил свои приключения в течение трех ночей с продолжительностью "потустороннего" контакта 15 секунд ("пришелец"), 5 секунд ("курица") и одно мгновение ("выстрел"). Значит, это не случайность, а фундаментальный закон Природы, допускающий трехкратное энергетическое взаимодействие обычных вещественных тел с объектами (процессами), принадлежащими другим подпространствам эфира. Благодаря этому закону, аномальные явления наблюдаются редко и в народе называются чудом. Затянувшийся полтергейст или сеансы магии свидетельствуют о том, что человек способен управлять барьером, разделяющим параллельные миры.
  
   Спасибо Высшим Силам за подсказку! Только остается загадкой истинный смысл участия в этой истории академика А.И. Вейника. Как известно, Альберт Иозефович неожиданно для всех трагически погиб в 1996 г. Царство ему небесное!
  

***

   Результаты экспериментальных исследований эфира, более подробно из­ложены в следующих публикациях автора:
  -- О новых свойствах физического вакуума, гравитационного поля и массы. - МО СССР, 1988. - 44 с.
  -- О макроскопической механике физического вакуума. В сб. Развитие классических методов исследования в естествознании. Серия "Проблемы исследования Вселенной", вып. 17.- СПб: РАН, 1994, с. 94-99.
  -- Результаты эксперимента по регистрации эфирного ветра. В сб. Новые идеи в естествознании. Серия "Проблемы исследования Вселенной", вып. 18.- СПб: РАН, 1995, с. 24-33.
  -- The Ether Model as Result of the New Empirical Conception. New Ideas in Natural Sciences. (On materials International Conference). Part I "Physics". - St.-Petersburg: RAS, 1996, p. 95-104.
  -- Многомерные физические системы. В сб. "Инициатива". - СПб: изд. "Механобр", N 3, 1997, с. 7-20.
  -- Новые свойства и возможности автоколебательной системы // "Физическая мысль России", 1998, N 1, с. 33-35.
  
  

Многомерные физические системы и прибор с
искусственным биополем

  
   Сформулирована проблема разработки теории многомерных физических систем. Подробно описан действующий лабораторный макет прибора с искусственным биополем. Приведены осциллограммы нетрадиционных сигналов, характеризующих космические явления.
  
   The laboratory experimental breadboard of the device with a simulated bio-field is created. On non-conventional waves the signals recorded describing space phenomena.
  
   1 Многомерные физические системы
  
   Многомерные физические системы (МФС) открывают новое направление в науке и технике. Идейной основой этих систем являются эксперимен­тально изученные автором неиз­вестные ранее динамические и структурные свойства мирового эфира [1-4]. Классическая физика, рассматривая вихревые образова­ния любых масштабов, видит в них только конгломерат элемен­тарных частиц, т.е. обычное ве­щество, что и определило "узкополосность", ограниченность официального ес­тествознания.
   Одно из важнейших открытых свойств эфира - это новая физическая реальность в виде необычных невидимых ("темных") квазивещественных эфиродинамических структур, выходящих по вихревому спектру за пределы физического вакуума. Пла­номерное изучение квазивещества как причины "потусторон­них" сил стало возможным толь­ко после разработки начал тео­рии МФС и создания лаборатор­ного макета в виде системы с искусственным биополем.
   По определению физическую систему назовем многомерной, если она способна в течение оп­ределенного интервала времени, называемого жизненным циклом, реализовывать взаимосогласован­ные автоколебательные процессы вихре-волновой природы одно­временно в различных фазовых состояниях (подпространствах, слоях) эфира. Важнейшими осо­бенностями МФС являются ее пространственно-временная, ква­зивещественная (вихре-волновая) широкополосность и конечное время функционального существования, определяемое условиями формирования энергоинформационного барьера. Для обеспечения автоколебатель­ного режима МФС требуется наличие источника энергии, колебательного контура (маят­ника) любой природы, усилитель­ного процесса (отрицательной вязкости) и канала поло­жительной обратной связи (негэнтропии).
   Не вдаваясь в детали, разде­лим все МФС на два вида.
   а) Естественные МФС, к ко­торым относятся элементарные частицы, биосистемы, планеты, звезды, галактики и Вселенная в целом. Таким образом, все сущее в Природе есть МФС, различие между которыми определяется занимаемой эфирной полосой пространственно-временных час- тот, способом возбуждения авто­колебаний и периодом существо­вания. В особый подвид целесо­образно выделить МФС типа элементарных частиц, совокуп­ность которых образует вещест­во (телесность) нашего мира.
   В настоящее время условия возбуждения автоколебаний в ес­тественных МФС практически не изучены, но следует отметить важную роль вращательного дви­жения, которое способно обеспе­чить приток энергии и быть функционалом маятника при на­личии периодической составляю­щей. Есть также основания ут­верждать, что в планетарных и бсльших масштабах роль усилителя выполняет "красный" спект­ральный энергокаскад, выделяющий энергию, а каналы положительной обратной связи образуют квазивещественные из­лучения (потоки) и плазменные разряды (эфирные и грозовые процессы на Земле, вспышки и пульсирую­щие явления на Солнце).
   В биосистемах основные элементы МФС вполне могут быть идентифицированы (ритмическая работа кровеносной и лимфатической систем, ритмы мозга, биопо­ля и т.д.). Специфические МФС в этих системах, по-видимому, организованы уже на уровне клетки, так как любой физиоло­гический процесс имеет активно­го "эфирного двойника". Вообще наблюдения выявляют периодич­ность во всех природных явлени­ях.
   В реальной действительнос­ти любая МФС является боль­шой системой, представляющей согласованное сообщество ряда многомерных подсистем (принцип фрактальности). В свою очередь каждая большая система на правах члена иерархии входит составной частью в еще бсль­шую систему, пока все не охва­тывается самой Большой Систе­мой - Вселенной. До планетарных масштабов почти вся энергия МФС сосредоточена в вещест­венной части. Однако известны явления НЛО, полтергейста и другие аномалии техногенных и бсльших масштабов, обусловленные спон­танным прорывом энергоинформационного барьера с резким подъемом энергии квазивещест­венных структур.
   б) Ко второму виду относятся искусственные, технические ис­пользующие вещество МФС, ко­торые целесообразно разделить на два подвида. Во-первых, МФС, близкие по занимаемой эфирной полосе пространствен­но-временного спектра к биосис­темам. Это системы, или приборы с искусст­венным биополем (ПИБ), по­скольку они в физическом отно­шении имитируют эфирную сущ­ность живых организмов и имеют короткий жизненный цикл. Лабораторный макет такой системы с электромеханическим способом возбуждения автоколе­баний исследуется автором с 1991г. [2-4] и рассматривается в следующем разделе этой статьи.
   МФС второго подвида ис­пользуют вихревую полосу атомно-молекулярных масшта­бов и представлены в основном генераторами нетрадиционных излучений. Жизненный цикл этих систем определяется нали­чием внешнего переменного электромагнитного поля, с помо­щью которого осуществляется расширение спектра эфирных возмущений естественных МФС за счет динамики электронов, ионов, атомов и молекул или механической модуляции магнитных полей.
   Наконец, третий подви­д - это технические МФС типа египетских пирамид, принцип работы которых осно­ван на рассеянии естественных эфирных потоков особыми формами физических тел с участием электромагнитных полей. Заметим, что этот подвид МФС занимает промежуточ­ное положение между видами, так как эффект пирамид может наблюдаться и в естественных условиях (например, в горной местности).
   Нетрадиционное излучение - это особый эфирный волновой процесс, преодолевший энерго­информационный барьер и имеющий квазивещественную, спиновую, упругую или поляризационную природу. Энергия, переносимая такими волнами в стационарном режиме, чрезвычайно мала, а вернее, специфически замаскирована. По этой причине проблема тех­нической регистрации нетради­ционных излучений оказалась очень сложной и кардинально до сих пор не решена.
  
   2. Физическая система с искусственным биополем
  
   2.1. Введение
  
   Ошибочно предполагать, что описанные в этой статье эксперименты могли быть спланированы и осуществлены без четких представлений о новых свойствах единой вселенской материи. Эмпирическая модель стереодинамически многомерного, расслоенного на фазы эфира по­следовательно создавалась автором в работах [1-4] на основании мно­гократно проверенных на достоверность результатов натурных наблюдений и лабораторных экспериментов. Аналогичные модели "многоэтажного" уст­ройства Вселенной и параллельных вещественных миров независимо пред­лагались американскими и английскими учеными, начиная с 1957 г. Отли­чительной чертой наших исследований является экспериментальное подт­верждение заявленных научных положений.
   Мировой эфир как сверхтекучая, квантовая трехмерная среда изначально обладает спиновыми, нелинейными свойствами, обусловленными вращением Вселен­ной в целом. Если энергии вращения эфирного тела Земли хватает на со­здание относительно слабого магнитного поля, то в масштабах Вселенной вращательный процесс рождает однозначное по моменту вихревое (спираль­ное) классическое вещество. Большая энергия и устойчивость элементар­ных частиц и атомов определяют видимый облик и главные свойства окру­жающей нас Природы, но одновременно создают условия для ограничения наших знаний о реальных законах мироздания. В результате господству­ющая научная парадигма оказалась в заложницах у стоящей на переднем плане плотной материи.
   Традиционная физика достаточно результативно и подробно изучила вещество и связанные с ним поля, чего нельзя сказать об эфире. Причина того, что последний как объект исследования постоянно ус­кользает от внимания ученых, заключается в его сверхтекучих свойст­вах. Современная экспериментальная физика способна регистрировать то­лько процессы, в ходе которых совершается заметная работа, но такую работу в привычном для нас темпе времени не может выполнить сверх­текучая среда.
   Выход из этого затруднительного положения подсказало изучение сверхтекучей турбулентности. Оказалось, что макроскопический эфир, как и обычная сверхтекучая жидкость (гелий-II) [5] , при любом поступате­льном движении переходит в турбулентное состояние, т.е. в эфире нет движения без вращения. Следующий принципиальный шаг заключался в обна­ружении вещественных свойств у эфирных вихрей любой величины. В этом случае эфир способен совершать некоторую работу при взаимодействии с обычным веществом за счет вихревой вязкости, но этот процесс в условиях сверхтекучести, естественно, оказался конечным. Поэтому сила взаи­модействия эфирного макропотока с физическим телом ("пятая" физичес­кая сила [2]) в каждом новом эксперименте убывает по экспоненте. Это явление названо автором законом эфирной адаптации, или энергоинформа­ционным барьером [3].
   Для изучения нового вида взаимодействия была разработана концеп­ция физических систем с искусственным биополем (ПИБ) [2-4] . Под таким по­лем подразумеваются специально организованные стереодинамические эфирные структуры с характерными размерами вихрей, заполняющими спектр до макроскопических масштабов. Дело в том, что постоянная времени эфир­ной адаптации зависит от величины взаимодействующих вихрей. Поэтому для увеличения времени наблюдения новой физической силы до нескольких часов требуется создание вещественной системы, способной генерировать эфирные вихри, соизмеримые с размерами этой системы (аналогом явля­ются "чакры" у биосистем).
   Устройство с искусственным биополем относится к многоме­рным физическим системам и соответствует данному выше определению по всем пунктам. А если время его активно­го взаимодействия со свободным эфиром сравнить с существованием био­системы, то оказывается целесообразным ввести термин жизнеспособной технической системы (эфирного робота).
   Заметим, что наше чисто эмпирическое понятие жизнеспособной си­стемы имеет определенную связь с затеоретизированными идеями доктора И.Л. Герловина [6].
  
   2.2. Результаты испытаний прибора с искусственным биополем
  
   Для испытаний был собран в наибольшей мере удовлетворяющий перечи­сленным требованиям модифицированный электромеханический автогенератор, блок-схема которого изображена на рисунке 1. Здесь обозначено: 1 - груз маятника, качающегося в плоскости чертежа в указанных направлени­ях; 2 - стальная пружина; 3 - соленоид, раскачивающий маятник; 4 - со­леноид, воспринимающий колебания маятника (обратная связь); 5 - элек­тронный усилитель; 6, 7 - соответственно гибкие проводники и нетрадиционный излучатель (например, виток медной проволоки вокруг конуса из диэлектрика), расположенный на маятнике; 8 - устройство, воспринимающее нетрадиционное излучение; 9 - вихре-волновые возмущения эфира по ортогональным направлениям. Электрический сигнал с усилителя 5 через выпрямитель и фильтр поступает на самопишущий микроамперметр для регистрации электрической ампли­туды колебаний.
   Анализ работы изображенного устройства относится к теории эфирных цепей и систем, или теории ПИБ, основы которой только зарождаются. Как следует из рисунка 1, многомерный прибор представляет собой обычную авто­колебательную электромеханическую систему (позиции 1-5), дополненную контуром специальных эфирных устройств (позиции 6-8).


  

Рисунок 1

   Самовозбуждение широкополосных автоколебаний эфира обеспечивается нетрадиционным излу­чателем 7, пространственным каналом 9 и приемным устройством (антен­ной) 8. Поскольку в используемом подпространстве эфира физические про­цессы замедлены, для согласования работы телесной и эфирной подсистем частота автоколебаний выбирается в диапазоне 1 - 7 Гц. (В рассматривае­мом случае эфирная подсистема без "телесной" существовать не может). При обычных размерах и пространственном расположении элементов ПИБ автома­тически достигается положительный знак в дополнительном канале обрат­ной связи, а нетрадиционные возмущения эфира (вихри-волны) вместе с электромагнитным сигналом "раскачиваются" простым транзисторным усили­телем 5, что является установленным экспериментальным фактом. Эти но­вые физические процессы играют ключевую роль в функционировании много­мерной технической системы, обеспечивая создание "эфирного двойника" в виде искусственного биополя вихре-волновой, квазивещественной природы. Используемый пространственно-временной спектр вихревых движений эфира ограничи­вается масштабом, соизмеримым с размерами ПИБ.
   При этом в пространстве формируется крестообразная диаграмма вос­приимчивости шириной 3®...5® на уровне 0,7. За главное направление при­нимаются продольные движения маятника, а за боковое (ортогональное) - поперечные. Внешние возмущения эфира естественного и техногенного происхождения, близкие по спектру к искусственному биополю, через вихревую вязкость воздействуют механически на маятник, а через структуру искусственного биополя - на фазовые соотношения электрических сигна­лов, изменяя амплитуду генерируемых колебаний. Обычно жизненный цикл ПИБ равен 3...7 часам, но известно чтс нужно сделать с прибором, чтобы к очередному сеансу наблюдений он восстановил чувствительность.
   В активном (жизнеспособном) режиме ПИБ обеспечивает регистрацию интенсивности нетрадиционных турбулентных возмущений эфира, анизотро­пные свойства (направление спиновой поляризации) и потоки эфира (ве­тер). Самое очевидное применение ПИБ - это экспериментальное изучение макроскопических свойств эфира и астрофизические наблюдения (при этом изучается и сам ПИБ). К сожалению, характеристики эфира регистрируются косвенно и пока не поддаются метрологической оценке.
   Тестовые характеристики ПИБ были установлены по его реакции на из­менение вязкости эфира. С этой целью были выполнены следующие лабораторные эксперименты.
   1. ПИБ располагался около окна в ясную погоду с таким расчетом, чтобы через 1 час после включения он оказался на прямом солнечном све­ту (через стекла). При первом опыте маятник, попав в солнечный луч, сразу остановился. При втором - на осциллограмме было отмечено уменьше­ние амплитуды колебаний на 50%, а на третий раз прибор отреагировал на уровне шумов.
   2. К ПИБ, устойчиво работавшему около часа, на соседний стол был поставлен сосуд со льдом. Маятник через несколько секунд остановился, и при повторных опытах наблюдалась та же картина, что и с солнечным светом.
   3. На одном из ортогональных направлений (позиция 9 на рисунке 1) ста­вилась лампа накаливания мощностью 100 Вт на расстоянии 0,5 м от ПИБ (лампу можно расположить над маятником). При включении лампы на 10 ми­нут амплитуда колебаний маятника уменьшалась на 20% и возвращалась на прежний уровень. В последующих включениях с интервалом в 1 час реакция прибора падала по линейному закону до уровня шумов при 3-м включении,
   Из результатов этих испытаний следует, что процесс формирования энергоинформационного барьера подчиняется закону триады [3,5]. ПИБ при неизменном режиме "помнит" любое лабораторное испытание до одного месяца.
   В 1991-1996 г.г. с помощью ПИБ было зарегистрировано прямое восхождение (геодезический азимут) [2-4]: орбитальных эфирных ветров Земли и Солнца (движение к созвездию Лебедя); ветров при движении Галактики к созвездию Гидры, Солнца - к созвездию Льва и Геркулеса; а также гравитационной анизотропии эфира от Солнца, Луны, Центра Галактики и кометы Хакутаке (25.03.96 г.). Прибор в лаборатории устанавливался неподвижно, а изменение параметров эфира регистрировалось благодаря вращению Земли и узкой диаграмме восприимчивости.
   Для иллюстрации на рисунке 2 изображены полученные с помощью ПИБ осциллограммы эфирных процессов: 1 - гравитационная анизотропия в направлении на Солнце (а - сигнал, записанный при первом включении, б - потеря чувствительности прибора на следующий день); 2 - эфирный ветер на галактической орбите Солнца; 3 - осцилляции эфира на второй день после новолуния; 4 - возмущения эфира кометой Хакутаке.
   На графиках указаны расчетные моменты положения на временной оси: Солнца - светлый кружок, Луны и созвездия Лебедя - вертикальная черта. На горизонтальной оси - часы московского декретного времени. Геодезический азимут ? соответствует выбранному направлению максимума диаграммы направленности ПИБ в горизонтальной плоскости на широте Санкт-Петербурга ( при переходе в экваториальную систему координат ? - ?, где ? - прямое восхождение). На графиках 3, 4 нет сигналов от Солнца по причине эфирной адаптации.
   Астрофизические наблюдения с помощью ПИБ и лабораторные исследова­ния с помощью других приборов и способов позволили установить следующие физические закономерности и свойс­тва эфира (более полный набор осциллограмм нетрадиционных сигналов приведен на стр. 73, рисунок 1).
  


Рисунок 2

  
   1. Регистрация эфирных ветров (пространственной анизотропии) различной направленности осуществляется ПИБ независимо с нарушением законов век­торного сложения пространственных движений и аддитивности.
   2. Форма зарегистрированных сигналов свидетельствует о макроскопи­ческом квантовании эфирных процессов.
   3. При орбитальном движении на Галактику, Солнце, планеты и их спутники действуют не только встречные эфирные ветры, но и попутные с другим спектральным составом турбулентности.
   4. У поверхности Земли существует эфирный ветер с востока на запад , ветер с юго-запада на северо-восток и ветер с запада на восток (суперрота­ция земной атмосферы). Известно, что магнитное поле Земли дрейфует на запад со скоростью 0,3® в год.
   5. Энергетическая плотность эфира коррелирована с электрическим полем Земли (минимум в 6 часов и максимум в 21 час по мо­сковскому времени). Кратковременные энергетические всплески вызывают грозовые явления в атмосфере. В течение месяца энергия эфира увеличива­ется в полнолуние и падает в новолуние.
   6. Вихревая вязкость эфира в горизонтальной плоскости в несколько раз больше, чем в вертикальной. Это создает у поверхности Земли своео­бразный "волновой канал" для возмущений эфира и указывает на анизотро­пию околоземного пространства.
   7. На возбужденный в локальном объеме эфир действует сила тяжести. Оставшаяся по­сле диссипации квазивещества "фазовая" пространственная неоднородность контролируется более суток, оставаясь неподвижной, несмотря на движение Земли и дующий со всех сторон эфирный ветер. Это свидетельст­вует о том, что остаточная неоднородность принадлежит "твердому" под­пространству, которое принадлежит Земле и вращается вместе с ней.
   8. Энергоинформационный барьер наиболее эффективно преодолевается в интеллектуально новом эксперименте. Например, при воздействии нетра­диционным излучением в первом опыте зафиксировано изменение скорости классического физического процесса (фотолюминесценции) в 15 раз (!).
   9. Необычные вихре-волновые возмущения эфира возникают при любых изменениях механического, термодинамического, электромагнитного со­стояния вещества (физического тела), а также волновых процессов, включая лазерный луч. Но после формирования энергоинформационного барьера эти возмущения на неопределенное время превращают­ся в особое излучение, энергия которого в нашем мире ничтожно мала.
  
   3. Заключение
  
   Приведенные в статье экспериментальные результаты укладываются в рамки нашей модели стереодинамически, топологически многомерного расслоенного на подпространства (фазы) эфира и одновременно лежат в ее основе. А полное совпадение показаний ПИБ и физического сенсорного контроля окончательно доказывает объективную реальность изучаемых явлений и правомерность парапсихологии как науки. Хотя интерпретация зарегистрированных ПИБ сигналов иногда может быть затруднена из-за одновременной работы двух ортогональных каналов, в лю­бом случае осциллограммы на рисунке 2 демонстрируют уникальные возможнос­ти далеко не изученного многомерного физического прибора.
   Однако наиболее важным является очередное доказательство сверхте­кучести эфира в спектре турбулентности, перекрывающем все мыслимые ма­сштабы Вселенной. Мы еще раз убедились, что вихри эфира независимо от величины обладают вещественными свойствами, что неравновесные эфироди­намические макропроцессы порождают силу вязкого взаимодействия с физи­ческими телами, убывающую во времени по экспоненте. Постоянная времени такого взаимодействия может быть значительно увеличена путем внедрения в структуру искусственного биополя технической системы особых информационных алгоритмов по принципу функционирования биосистем. Заметим, что реальная физическая картина мироздания выглядит значительно слож­нее, потому что механика эфира не отделима от его электродинамики (электромагнетизма параллельных миров).
   В рамках небольшой статьи невозможно осветить все результаты физического опыта продолжительностью в 17 лет. В первую очередь хотелось показать, что окружающий нас мир неизмеримо сложен, и современная нау­ка должна всячески избегать идейного примитивизма. Автор не одинок в своих поисках: теорию многомерной Вселенной по-своему построил И.Л. Герловин [6], автоколебательную модель микромира предложил Б.Н. Родимов [7], а иерархию взаимодействующих форм Природы исследовал В.В.Бубненков [8]. Теоретических разработок, в основном полудостоверных, с учетом зарубежных публикаций более чем достаточно, но для утвержде­ния принципиально новых знаний необходима соответствующая эксперимен­тальная методология и лабораторная техника, способные демонстрировать и изучать открытые явления.
   Теория многомерных физических систем дает прямой выход в практику, указывая пути и принципы построения нетрадиционных систем и техноло­гий, а в мировоззренческом плане позволяет объединить сверхфизику и па­рапсихологию с академической наукой. Эта теория предполагает изучение многомерных физических явлений, которые должны стать фундаментом на­стоящей теории катастроф. Не подлежит сомнению и то, что сверхтекучие свойства эфира лежат в основе явления инерции и принципа относитель­ности.
   Дальнейшее развитие физических основ высшего естествознания потре­бует много времени и усилий ученых различных специальностей, пока с привлечением математических методов уже в третьем тысячелетии будет построена строгая теория, похожая по глубине и кажущейся завершенности на Фейнмановские лекции по физике.
   Автор выражает глубокую благодарность сотруднику ГАО РАН в Пулково А.А. Шпитальной за проявленное внимание к работе и консультации по астрофизике.
  
  

ЛИТЕРАТУРА

  
      -- Мишин А.М. О новых свойствах физического вакуума, гравитаци­онного поля и массы. - МО СССР, 1988. - 44 с.
      -- Мишин А.М. О макроскопической механике физического вакуума. В сб. Развитие классических методов в естествознании. Серия "Проблемы исследования Вселенной", вып. 17. - СПб: РАН, 1994, с. 94-99.
      -- Мишин А.М. Результаты эксперимента по регистрации эфирного ветра. В сб. Новые идеи в естествознании. Серия "Проблемы исследова­ния Вселенной", вып. 18. - СПб: РАН, 1995, с. 24-33.
      -- Mishin A.M. The Ether Model as Result of the New Empirical Conception. New Ideas in Natural Science (in materials International Conference), part 1 "Physics". St.-Petersburg: RAS, 1996, p. 95-104.
      -- Доннели Р.Д. Сверхтекучая турбулентность // В мире науки. Изд-ние на русском языке. - 1989, N 1. - С. 46-54.
      -- Герловин И.Л. Основы единой теории всех взаимодействий в веществе. - Л.: Энергоатомиздат, 1990, - 432 с.
      -- Родимов Б.Н. Автоколебательная квантовая механика. - Томск: ТГУ, 1976.
      -- Бубненков В.В. Всеобщая масштабно-дискретная периодичность физических структур Вселенной. В сб. Новые идеи в естествознании. Серия "Проблемы исследования Вселенной", вып. 18. - СПб.: РАН, 1995, с. 276-293.

Экспериментальные доказательства
гидродинамических свойств эфира

  
   В рамках эфирной концепции обобщены важнейшие экспериментальные результаты авторских работ [1-5] и описаны новые опыты. С единой научной позиции рассмотрен ряд известных в геофизике явлений.
  
   О физике первичного невозмущенного эфира можно получить представ­ление, наблюдая и изучая характеристики его движений и полевых состо­яний. Накопленные за всю историю науки эмпирические факты свидетельс­твуют о том, что окружающее нас земное и космическое пространство во всех мыслимых масштабах заполнено вихревым движением ра­зличных форм материи, включая экспериментально подтвержденное вращение Вселенной в целом. Сами же формы материи в виде элементарных частиц вещества, полей и волн по своим характеристикам являются вихре-волновыми движениями некой первичной материи. Так почему бы не назвать эту праматерию Эфиром?
   Однако наш повседневный опыт тут же пытается отождествить Эфир с хорошо известными физическими объектами в виде жидкости или газа и усомниться в том, что некая единая однородная среда способна создать все многообразие мира, в котором мы живем. Кроме того, мы привыкли, что любая материя движется в пространстве, существующем от­дельно от этой материи. Подобные кажущиеся противоречия легко разреша­ются в рамках предложенной модели Эфира [1-5].
   Наблюдаемые в моих опытах динамические свойства макроскопического эфира характеризует эту субстанцию как сверхтекучую, квантовую нели­нейную непрерывную трехмерную материальную среду в состоянии турбуле­нтного движения. Это дает основание за основную характеристику подоб­ной малоизученной среды принять пространственно-временной энергетиче­ский спектр вихре-волновых возмущений, на котором имеются выбросы в виде вещественных форм (см. рисунок 2 на стр. 76 этой книги).
   Очень кратко напомним о многомерных свойствах физического пространства-Эфира, необходимых для лучшего восприятия дальнейших результатов. Основа всего - это наиболее тонкая, фемтомасштабная структура эфира, представляющая энергетическое "дно" Вселенной, или жидкокристаллическое твердое ньютоново пространство, названное эфиром-1. С увеличением размера вихрей мы попадаем в микроскопическое турбулентное поле, или "виртуальную пену", на фоне ко­торой существуют устойчивые и энергичные автоколебательные системы, на­зываемые элементарными частицами вещества. Эта фаза, совпадающая с по­нятием физического вакуума, названа в моей модели жидким эфиром-2. Указанными двумя состояниями Эфира ограничиваются интересы классической физики.
   В действительности вещественные образования в виде молекул, тел и систем любых масштабов, а также электромагнитное излучение, взаимодействуя с эфиром-1 и эфиром-2, порождают вторичные эфирные структуры различного спектрального состава, которые наряду с веществом превращаются в самостоятельные, хотя менее энергичные и устойчивые, но квазивещественные подпространства, или фазы, слои единого Эфира. Так образуются условно газообразный эфир-3, звездный плазменный эфир-4 и галактический эфир-5. При этом следует учитывать, что положение физического тела на простра­нственной оси спектра определяется его размером, но основная энергия обычного тела заключена в микроскопических подсистемах, т.е. в веществе. Поэто­му мы всегда оперируем с многомерными объектами в стереодинамическом и топологическом смысле.
  
   Если некоторые состояния Эфира соответствуют жидкой или газообразной фазам, то почему бы не попытаться обнаружить поперечную силу при взаимодействии эфирного потока с регу­лярной вихревой структурой как аналогом силы Магнуса, изуче­ние которой позволит опровергнуть или подтвердить гидродинамические свойства праматерии.
   Для этого возьмем цилиндрический пластмассовый сосуд 1 диаметром около 30 см и высотой до одной трети диаметра (рисунок 1). Нальем в него воду 2 комнатной температуры, поставим сосуд на деревянный стол посре­ди лаборатории, чтобы в радиусе 2...3 м не было ферромагнитных материа­лов, и дадим воде успокоиться (минут 10). Теперь в середину сосуда плавно опустим на воду тоже пластмассовый, но в 6-7 раз меньший мелкий сосуд 3, в центре которого поместим небольшой диаметром около 1 см дос­таточно сильный металлический магнит 4 в виде цилиндра. Магнит должен плавать на поверхности воды в малом сосуде и стоять вертикально.
   Тут же мы увидим, как магнит сначала развернется вокруг своей оси, ориентируясь по направлению север-юг за счет отклонения от вертикали, а затем, плавно на6ирая скорость до 1...3 мм/с, устремится в южном направ­лении, пока, малый сосуд не столкнется со стенкой большого. Перевернем магнит южным полюсом вниз и получим движение "лодочки" в противополож­ную сторону. Моя лаборатория находится на 7 этаже, что может иметь при­нципиальное значение. Бывают редкие дни, когда описанный эффект не на­блюдается с первого раза (в течение месяца).
   Чтобы понять физику этого простого опыта, нужно иметь четкие пред­ставления о реальных свойствах Эфира. Во-первых, согласно моей модели любое взаимодействие вещественной системы, прежде всего физического те­ла и электромагнитных полей, с макроскопическими вихрями эфира незави­симо от фазового состояния последнего имеет в лабораторных условиях ко­нечную продолжительность во времени. Другими словами, в заданных условиях эксперимента движение магнита на поверхности жидкости рано или по­здно должно постепенно сойти на нет. И действительно, движение магнита прекратилось на третьей неделе экспериментальных наблюдений.
  



 []

Рисунок 1

  
   Вполне предсказуемое конечное время проявления эффекта говорит о том, что исследуемая система в виде лабораторного оборудования, воды и магнита пришла в равновесие, выстроив энергоинформационный, адаптацион­ный барьер между вещественными формами и макроэфиром. При этом отпадают все толкования эффекта в рамках традиционной физики, и можно утверждать, что магнит движется не за счет магнитного поля Земли, не по причине термоконвекции, лабораторного сквозняка и т.д. и т.п., потому что класси­ческие процессы воспроизводимы и детерминированы практически на 100%. Плавное от опыта к опыту затухание по экспоненте наблюдаемого явления - главнейший тестовый, идентификационный признак макроскопических движений эфира.
   Какие же физические силы действуют на магнит? В первом приближе­нии магнитные силовые линии - это вихревые нити эфира-2 толщиной око­ло 10-4 см [6]. Как известно, вне тела магнита 1 линии 2 направлены от северного полюса к южному (см. рисунок 2). "Магнитный" эфирный поток движется в этом же направлении, т.е. точка на поверхности вихревой нити по правой спирали движется так, как показано на рисунке стрелкой 3. Это существенно для определения направления эфирной силы Магнуса
.


  

Рисунок 2

   Как уже указывалось в работах [4,5], на поверхности планеты Зем­ля за счет собственного вращения существует ветер твердого эфира-1 и жидкого эфира-2 с востока на запад. Наряду с этим, в масштабах Земли существует и компенсационный ветер газообразного эфира-3 с запада на восток, отвечающий за явление суперротации и имеющий составляющую с юго-запада на северо-восток. (В районе Санкт-Петербурга обратное направление имеют теллури­ческие токи). Напомним так­же, что Северный полюс Земли соответствует южному магнитному полюсу и что магнитное поле Земли сносится на запад со скоростью 0,3® в год.
   Возвращаясь к нашему опыту, обратим внимание на то, что восточный ветер эфира-2 создает магнитное поле Земли. Поэтому опыт с силой Магнуса использует другой "внешний" ветер, существующий в ином подпространстве. Таким ветром может быть только поток эфира-3, имеющий западное направление с интенсивной составляющей с юго-запада на северо-восток.
   Из рисунка 2 становится ясно, что западный поток эфира-3 создает силу Магнуса на поверхности Земли в южном направлении. Перемещение магнита в сосуде с водой примерно в перпендикулярном направлении к эфирному ветру доказывает, что это движе­ние объясняется гидродинамическим, вернее эфиродинамическим взаимодей­ствием газообразного эфирного потока с вихревыми нитями внешнего магнитного поля и возникающей при этом поперечной силы. (Существование такой си­лы экспериментально подтверждено в гидродинамике гелия-II в отношении вихрей сверхтекучей компоненты [7]). При этом вихревые нити в теле металлического магнита в значительной степени экранированы от потока эфира-3, так как в противном случае результирующая сила равнялась бы нулю. Подобная экранировка подтверждается другими опытами. Справедли­вость приведенного объяснения доказывается и тем, что при смене полю­сов магнита направление поперечной силы изменяется на обратное. Допол­нительным доказательством служит то обстоятельство, что рассмотренный эффект оказывается полным эфирным аналогом электромагнитной силы Лоренца.
   Явление взаимодействия магнитного поля с эфирным потоком позволя­ет создать техническое устройство типа эфирного флюгера, способного определять направление ветра эфира-3. Схема флюгера представлена на рисунке 3.


Рисунок 3

  
   В центре круглого основания 1 укреплена стойка 2 с подпятником 3. Коромысло 4 с жестко посаженной иглой 5 опирается на подпятник 3, что обеспечивает свободный поворот первого по принципу стрелки компа­са. К концам коромысла на тонких "безмоментных" капроновых нитях под­вешены небольшие сильные металлические магниты 6 с противоположной ориентацией полюсов. Такая подвеска исключает влияние на положение коро­мысла внешних магнитных полей Земли, несмотря на полную ориентацию в этих полях обоих магнитов при условии пренебрежимо малого их взаимно­го притяжения. Понятно, что коромысло будет стремиться занять положение, перпендикулярное направлению западного ветра эфира-3. При коротком коромысле можно использовать один магнит с нейтральным противовесом, но в этом случае на пока­зания флюгера будет влиять прямое давление на магнит потока эфира, за счет чего ошибка в определении направления может достигать 20®.
   Исследования показали, что ветер газообразного эфира-3 внутри крупнопанельного дома неоднороден по направлению и интенсивности. Наиболее объективные измерения получаются в центре помещения, в том числе по высоте. При фиксированной установке флюгер показывает на юго-запад-запад, но имеют­ся суточные и сезонные вариации, что объясняется эфирной активностью Солнца, геофизическими и метеорологическими процессами. Интересно от­метить, что флюгер обычно реагирует на смену направления атмосферного ветра, в то время как стационарный ветер теряет связь с эфиром-3.
   Существование у поверхности Земли среднестатистического ветра эфира-3 западного направления с отклонением к северу на 30® подтверждено совершенно другими методами. Еще в 1985 г. был обнаружен гидродинамический парадокс как чисто эфирное явление [1]. Для его наблюдения наполним водой невысокий ци­линдрический металлический сосуд 1 диаметром около 25 см, закроем про­зрачной крышкой 2 и поставим на массивное ферромагнитное основание 3, например, внутрь чугунной ванны, ориентированной в направлении запад-восток (рис. 4). Дадим воде успокоиться, по­том аккуратно снимем крышку и равномерно насыпем в воду мелкие кристал­лы марганцовокислого калия КМnО4. Важно, чтобы кристаллы, опустив­шись на дно, оставили четкие вертикальные (!) следы-треки, как показа­но пунктиром на рис. 4а. Поставим крышку на место и подождем несколь­ко минут. После этого чаще всего мы увидим картину, изображенную на рис. 4 (а - вид сбоку, б - вид сверху). Треки 4 малинового цвета как эпюры скоростей постепенно изогнутся в форме парабол в сторону цент­ра, смещенного в юго-западном направлении. Получается, что вода со всех сторон течет к этому центру и куда-то исчезает! Так проявляет себя ветер эфира средней силы, а при сильном ветре центр уходит на запад в бесконечность и туда же, судя по изгибу треков, движется жидкость; но соль, лежащая на дне, перемещается на восток.
   В действительности вода остается в относительном покое, а треки из­гибает тороидальный поток эфира-3, вращающийся со скоростью 0,5...5,0 мм/с. Причиной смещения центра тороидального вихря примерно в западном направлении является воздействие юго-западного и западного потока эфира на придонный активированный растворением соли слой жидкости (в восточном направлении). Специ­альные исследования показывают, что в этом процессе участвует сверхтекучий поток. Вместо КМnО4 можно использовать взвеси (тушь), небольшие флажки-флюгеры, сто­ящие на иглах на дне сосуда, и т.д. Бывают дни полного эфирного затишья и даже движение потока в обратную сторону, а в каждом отдельном опыте гидродинамический парадокс исчезает примерно через 3 часа (тест на эфирный процесс!). Эти исследования также проводились на 7 этаже па­нельного дома. Для повторения опыта необходимо поменять воду.
  



 []

  
   Рисунок 4
  
   Не менее нагляден эксперимент с диффузией КМnО4 в стеклянных труб­ках, ориентированных в северо-восточном направлении по схеме рисунка 5. Трубки 1, 2, открытые только с изогнутого конца, заполняются водой и осторожно опускаются в сосуд 3 с крепким раствором 4 КМnО4. Через 1-2 часа можно увидеть, что процесс диффузии идет быстрее примерно на 20% в юго-западном направлении. За время больше 3-х часов диффузионная картина в трубках практически теряет асимметрию.
   Такой же результат дает эксперимент с зажженным в центре фитилем, ориентированным на северо-восток. Скорость горения фитиля в юго-западном направлении на 20% больше. (Это явление следует учитывать при борьбе с лесными пожарами). В лесных озерах европейской части России (другие водоемы не исследовались) заиленными и заросшими соответствующей растительностью оказываются юго-западные берега при господствующем ветре противоположного направления. Древесные кольца у сосен и тополей у основания деревьев (на пнях) имеют устойчивую асимметрию, демонстри­руя более быстрый рост толщины ствола в северо-восточном направлении. Установ­лено, что даже цыплята в яйцах ориентируются головой на юго-запад.
  




Рисунок 6

  
   Описанные эфиродинамические опыты доказывают существование нового вида взаимодействия в природе без использования сверхсильных магнитных полей, которые для этой же цели использовались авторами работы [8] .
   Гидродинамические свойства газообразного эфира-3 можно оценить по результантом испытаний модифицированной автоколебательной системы ("эфирного робота"), описанной в статье [5]. Не вдаваясь в детали, рас­смотрим качественную сторону процессов взаимодействия механического маятника с эфиром (рисунок 6, горизонтальная плоскость).
   Достоверно установлено, что главные нетрадиционные волны 1-2 излучают­ся маятником 5-6 в продольном и поперечном направлениях в виде достаточно узких пучков с расхождением около 3О за счет движения маятника по дуге. Особое и совершенно не изученное излучение 3-4 фиксируется также под углами 45®, а более слабое - через каждые 15О. Интенсивность волн наибольшая в горизонтальной плос­кости. Последнее понятно, потому что приземный слой эфира имеет ярко выраженный градиент вертикальной анизотропии, а в горизонтальной плос­кости практически однороден. А вот аномальная направленность излучения при частотах 1-7 Гц и многолепестковость - явление уникальное и харак­терное только для эфира. Для объяснения этого феномена пока не хватает экспериментального материала.
   Взаимодействие внешних потоков эфира с излучающим нетрадиционные волны маятником, лежащее в основе процесса регистрации [5], также не поддается корректному анализу из-за недостаточной изученности волновых свойств эфира. Однако обращает на себя внимание форма записанных си­гналов. На рис. 7 приведены осциллограммы изменения нормированной ам­плитуды электрических колебаний автогенератора при прохождении за счет вращения Земли через направление диаграммы восприимчивости источника космических эфирных возмущений. Слабый эфирный ветер (кривая 1) обес­печивает нормальное, условно линейное взаимодействие потока с маятни­ком; средний (кривая 2) - вызывает провал в центре сигнала (Ю.А. Бауров называет такой сигнал "чаечной" кривой [8]). Наконец, на осцил­лограмме 3 зарегистрировано лишь вхождение оси восприимчивости в эфи­рный поток и выход из него, т.е. взаимодействие осуществляется только под взаимным углом близким к 7О. На мой взгляд, подобные процессы ти­пичны для гидродинамики сверхтекучей жидкости. Несмотря на качественный характер проведенного анализа, такое рассмотрение необходимо, так как сейчас важнее всего показать, что низкочастотный механический маятник возбуждает неизвестные волны и реагирует на нетрадиционные внешние потоки, доказывая существование в природе особой "жидкой" среды - эфира.
   Переходим к описанию геофизических натурных наблюдений. Извес­тно, что на поверхности Земли существует так называемая сетка Хартмана, однако о физике этого объекта пишут мало. Исследования сетки показали, что это организованная вихревая структура эфира-3, существующая благодаря вращению Земли. Вихревая стру­ктура из эфира-2 называется магнитным полем Земли.
  




Рисунок 8

  
   Ячейки сетки Хартмана имеют прямоугольную форму и обычно ориенти­рованы по сторонам света (рисунок 8). Узлы сетки - это вертикальные цилиндрические вихри, которые вращаются в противоположных направлениях в шахматном порядке. Правововинтовой вещественный вихрь вращается по часовой стрелке и движется вниз. Вихрь, вращающийся против часовой стрелки, также правововинтовой и вещественный движется вверх. Между вихрями-"столбами" существует струйное течение эфира-3 в виде вертикальных "стен", которые движутся к вихрям, втекающим в землю. Размеры ячейки приведены на рисунке. На широте Санкт-Петербурга (около 60О) диаметр вихрей на 7 этаже панельного дома примерно 5-7 см, толщина струйных плоскостей того же порядка, хотя они име­ют более размытые границы. По измерениям на широте 45О (г. Сочи) эти показатели в два раза больше. Впрочем, и в Санкт-Петербурге в других лабораториях измерения дали такие же результаты. Странно, что сетка Хартмана в целом оказалась вещественной структурой, и, следовательно, эфир-3 - это вещество, существующее в другом подпространстве (квазивещественное эфирное тело Земли).
   Помимо сетки Хартмана обнаружена связанная с ней сетка Керра, ко­торая соответствует диагональной структуре первой, но имеет размеры на порядок больше и меньшую интенсивность (пунктирное изображение на рис. 8). Физика этого явления пока не ясна. Когда линии сетки Хартма­на совпадают с направлением на Солнце (в 12 и 18 часов), наблюдается всплеск энергетической плотности ("температуры") эфира, что неоднокра­тно регистрировалось прибором с искусственным биополем. Однако это явление не подчинено строгой закономерности.
   Возникает естественный вопрос: почему эфир-3 образует знакопере­менную по моменту импульса вихревую решетку, а эфир-2 - однозначное по моменту и спиральности магнитное поле? Вопрос этот непростой, и для ответа на него необходи­мо привлечь гидродинамическую модель Эфира.
   Во-первых, роль мак­роскопического эфира в нашем мире увеличивается с ростом пространственного масшта­ба рассматриваемой системы (процесса). Эфир-2, относящийся к микроско­пическое участку спектра, структурно соизмерим и тесно связан с миром элементарных частиц, поэтому в нем образуется вещественное магнитное поле. Кстати, при вра­щении сверхтекучего гелия-П тоже возникает одномоментная вихревая стру­ктура, принадлежащая этой вещественной среде (однако результирующий rot? = 0). С другой стороны, эфир-3, представляющий иное фазовое состояние, образует тонкое (газообразное) тело Земли, связанное с ее вещественным телом через посредство эфира-2 по особым правилам. В любом случае эта связь слабая, и свободный эфир-3 как в явлении суперротации, так и в сетке Хартмана реализует принцип наименьшего возмущения, сводя к минимуму результиру­ющий момент импульса. В Мировом океане система меандров-вихрей также знакопеременна по моменту импульса, как и система циклонических вихрей в атмосфере Земли.
   Однако обратим внимание на то, что диаметр магнитных вихревых нитей (эфир 2) - микроскопический, вихри сетки Хартмана, образуемые эфиром-3 над корой Земли, - дециметровые, меандры в жидкой среде океана - 100 км, а цик­лоны в атмосфере - 1000 км. Размеры вихрей эфира оказываются обратно пропорциональными плотности связанной с ними вещественной среды. Кроме того, уже в геофизических масштабах вихри эфира-2 и эфира-3 в жидкой среде сливаются с движением вещества, образуя переходную зону между элементарной (классической) и высшей физикой. Здесь предполагается, что вихри в океане и атмосфере являются не только плоским приземным движением вещества, но имеют также эфирную вертикальную струйную составляющую, замыкающуюся в тороид.
   Магнитное поле Земли действительно образуется так, как это описано в работе [6]. Автором данной статьи проведены специальные эксперименты, подтверждающие то­ждествен­ность векторного магнитного потенциала (максвелловского тока смещения) с потоком эфира-2. Сетка Хартмана - явление другого порядка, это более тонкий объект стереодинамически многомерного Эфира.
   Для геофизических процессов есть доказательства, характеризующие степень влияния на них эфиродинамики. Например, если смотреть сверху, циклон вращает­ся против часовой стрелки и должен в центральной области соз­давать вертикальное движение эфира. Но известно, что при циклоне атмос­ферное давление падает; следовательно, эфир, слившись с воздухом идет вверх, соз­дает разряжение, поднимает сырость и тепло из земли, что способствует формированию облачности и теплой погоды. Антициклон, вращающийся в противоположную сторону, напротив, движет воздух вниз, что увеличивает атмосферное давление, вызывает похолода­ние, сухость и уменьшение облачности.
   Получается, что с эфирной точки зрения рассмотренные вихревые движения в атмосфере являются тороидальными вещественными образованиями (правоспиральными). Очевидно, физика, определяющая эти процессы, должна рассматривать в комплексе систему многомерных вихревых движений в окрестности всей земной поверхности.
   Говоря о роли эфиродинамики в геофизике, логично предположить, что эта роль вместе с пространственным масштабом растет в астрофизике. Яв­ление взаимодействия вихревых структур с потоками эфира, или новая сила Магнуса действует независимо от размеров вихрей, что дает ос­нование для проведения исследований по оценке ее влияния на процессы солнечной активности и другие явления природы. Как указывалось выше, наряду с поперечной силой эфирные потоки создают и продольную силу, которая уже вписалась в современную астрофизику в рамках другого, не родственного ей концептуального подхода [8,9].
  

ЛИТЕРАТУРА

  
      -- Мишин А.М. О новых свойствах физического вакуума, гравитаци­онного поля и массы. - МО СССР, 1988. - 44 с.
      -- Мишин А.М. О макроскопической механике физического вакуума. В сб. Развитие классических методов исследования в естествознании. Се­рия "Проблемы исследования Вселенной", вып. 17. - СПб.: РАН, 1994, с.94-99.
      -- Мишин А.М. Результаты эксперимента по регистрации эфирного ветра. В сб. Новые идеи в естествознании. Серия "Проблемы исследова­ния Вселенной", вып. 18. - СПб.: РАН, 1995, с. 24-33.
      -- Mishin A.M. The Ether Model as Result of the New Empirical Conception. New Ideas in Natural Sciences. (On materials International Conference). Part I. - St.-Petersburg:RAS, 1996, p. 95-104.
      -- Мишин А.М. Многомерные физические системы. В сб. "Инициатива". СПб.: Изд. "Механобр", 1997, с. 7-20.
      -- Пруссов П.Д. Явление эфира, - Николаев: РИП "Рионика", 1992. -134 с.
      -- Доннели Р.Д. Сверхтекучая турбулентность // В мире науки. Изд. на русском языке. - 1989, N 1. -С. 46-54.
      -- Бауров Ю.А., Серегин Б.М., Черников А.В. Физическая мысль России, М., 1994, N1, с. 1-6.
      -- Ефимов А .А., Шпитальная А.А., Заколдаев Ю.А. Эруптивные протуберанцы и землетрясения с точки зрения глобальной анизотропии прост­ранства. В сб. Новые идеи в естествознании. Серия "Проблемы исследо­вания Вселенной", ч. II, вып. 19. - СПб.: РАН, 1996, с. 403-413.

Фундаментальные свойства эфира

  
   В статье на основе оригинального эмпирического материала сформулированы принципы, определяющие важнейшие свойства эфира.
   Mishin A.M. In the article on the basis of an empirical material the principles determining major properties of an ether are formulated.
  
   Реальный эфир [1-6], первичная, самая тонкая суть которого остается тайной, оказался совершенно нестандартной квантовой, сверхтекучей трехмерной материальной средой, одновременно пребывающей в твердой, жидкой и газообразной фазах. Первая основная фаза эфира есть специфически твердое абсолютное пространство, или энергетическое "дно" Вселенной ("небесная твердь"). При этом под твердой фазой понимается жидкокристаллическая вихре-волновая структура, обладающая особыми голографическими свойствами. Классическое вещество в нашем представлении является устойчивым и энергичным пространственно-временным этажом мироздания. Однако наряду с этим существуют вихри эфира, которые по размерам перекрывают все мыслимые пространственные масштабы, обладают квазивещественными свойствами и образуют множество стереодинамических подпространств (параллельных миров).
   Первый ведущий принцип, которому эфир следует абсолютно, - это принцип наименьшего возмущения (наименьшего действия), следствием которо­го являются многие известные и неизвестные законы физики. В частности, любое движение в эфире происходит таким образом, что­бы взаимодействие с веществом нашего мира было минимальным, с нулевым моментом возмущенного количества движения. В классической физике этот принцип нашел отражение в виде принципа Ле-Шателье, вариационных прин­ципов, начал термодинамики и т.д.
   Вторым является принцип трехмерной фрактальности. В Природе существует подобие форм и свойств квантовых вихревых структур эфира независимо от их про­странственного масштаба, а Вселенная определяется как стереодинамически многомерная синергетическая система в виде иерархии вихре-волновых структур единого эфира (фрактальной "матрешки"). Изучая макроскопиче­ские объекты мироздания, можно делать выводы об устройстве микроми­ра с учетом изменения частот и скоростей передачи действий. ("Как наверху, так и внизу" по Гермесу).
   Третий принцип физической автономности утвержда­ет, что всякая обособленная масса (например, планета) образует эфи­рную подсистему, к которой применим многомерный принцип относительности, отра­жающий одно из фрактальных свойств Вселенной. Подобная автономная мас­са уподобляется минивселенной со своими эфирными подпространствами, повторяющими основные фазы спектра Вселенной в более узкой (зависит от величины массы) полосе пространственно-временных частот. Так, в ме­стной системе планеты Земля твердый эфир воспроизводит структуру гра­витационного поля с энергетическим "дном" в центре массы. В результате такое сферическое тело оказывается энергетическим стоком и нагрева­ется изнутри.
   Четвертый - это принцип взаимодействия между веществом и вихре-волновыми формами, не принадлежащими к спектральному участку микроми­ра, т.е. квазивеществом. Это принцип нового взаимодействия в Природе. Величина энергетического взаимодействия в каждом опыте убывает во времени по экспоненциальному закону, что объясняется формированием энергоинформационного, или адаптационного барьера, разъединяющего параллельные миры и отража­ющего свойства вихревой вязкости эфира как сверхтекучей среды. При этом время взаимодействия пропорционально размеру вихрей квазивещест­ва, а барьер для земных условий устанавливается на неопределенное вре­мя, допуская лишь трехкратное наблюдение сил (закон триады) в неравновесной ситуации.
   По этому принципу эфиродинамические опыты в земной лаборатории не обладают классичес­кой воспроизводимостью, что, с одной стороны, служит основанием для сомнений в объективности и научности нетрадиционных экспериментов, а с другой, является самым надежным тестовым признаком макроскопических движений эфира. Особые отношения с этим принципом у биосистем.
   Пятый принцип многомерного автобаланса сил. Все вихревые и линейные движения свободного эфира самоорганизуются так, что в полосе пространственно-временного спектра местной системы (обычно с участием жидкого и газообразного эфира) оказываются самосбалансированными, т.е. имеют нулевой результирующий импульс и момент импульса за счет существования в том же объеме пространства соразмерных антивихрей и антипо­токов другого спектрального состава. Самосбалансированные вихревые структуры и потоки оказываются практически закрытыми для внешнего на­блюдения со стороны нашего вещественного мира, по крайней мере в отношении методов классической физики. Принцип автобаланса сил отражают свойства эфира как единой синергетической системы и имеет большое прикладное значение.
   Шестой принцип жизнеспособности эфирных динамических систем. Жизнеспособной может быть только стереодинамически многомерная система, имеющая возможность в течение определенного интервала време­ни, называемого жизненным циклом, реализовывать взаимосогласованные автоколебательные процессы вихре-волновой природы одновременно в раз­личных фазовых состояниях (подпространствах, слоях) эфира. Важнейшими особенностями такой системы являются ее пространственно-временная квазивещественная (вихре-волновая) широкополосность и конечное время существования, определяемое условиями формирования энергоинформацион­ного барьера. Автоколебательный режим требует наличия источника энер­гии, колебательного контура (маятника) любой природы, усилительного процесса (отрицательной вязкости) и канала положительной обратной свя­зи (негэнтропии).
   Любая материальная система жизнеспособна в указанном выше смысле и является большой системой в виде согласованного сообщества многомер­ных подсистем. В свою очередь каждая большая система на правах члена иерархии входит составной частью в еще бсльшую систему, пока все не охватывается самой Большой Системой - Вселенной.
   Седьмой принцип всемирного энергообмена является физической реализацией закона единства и борьбы противоположностей и устанавливает самопроизвольное образование термодинамических и антигравитационных потенциалов. Любая локализованная масса вещества (тело), находящаяся в открытом пространстве, создает обменный процесс с окружающим объемом эфира так, что более тонкоструктурный жидкий эфир поглощается телом, а менее энергоемкий газообразный эфир излучается. В результате тело приобретает момент импульса и как многомерная тепловая машина получает энергию за счет "охлаждения" внешних областей эфира. При этом между телами и областями эфира, имеющими различную "температуру", действуют силы антигравитации.
   Этот принцип, устанавливающий существование антиподов второго на­чала термодинамики и всемирного тяготения, реализуется преимуществен­но в космических масштабах и объясняет, как создается энергия в нед­рах планет и звезд и почему Вселенная устойчива в гравитационном от­ношении. Наиболее неожиданным для современной физики, по-видимому, является открытие нетрадиционных ядерных процессов, в которых услов­ные реакции распада и синтеза идут с использованием квазивещества ("красный" и "фиолетовый" вихревые энергокаскады).
  
   Более глубокое исследование новых экспериментальных результатов и сформулированных выше научных принци­пов позволит определить приоритетные стратегические направления в фи­зике, полнее раскрыть законы механики и термодинамики многомерного эфира, включая теорию нетрадиционных волн и новых видов электромагнетизма. При этом первостепенной задачей является изу­чение различий в законах эфиродинамики на поверхности Земли (в лаборатории) и в свободном космическом пространстве, незнание которых обусловило логическую замкнутость, ложную самодостаточность классической физики, отказавшейся за "ненадобностью" от концепции эфира и фундаментальных законов Вселенной.
  
  
  

ЛИТЕРАТУРА

  
      -- Мишин А.М. О новых свойствах физического вакуума, гравитаци­онного поля и массы. - МО СССР, 1988. - 44 с.
      -- Мишин А.М. Результаты эксперимента по регистрации эфирного ветра. В сб. Новые идеи в естествознании. Серия "Проблемы исследова­ния Вселенной", вып. 18. - СПб.: РАН, 1995, с. 24-33.
      -- Mishin A.M. The Ether Model as Result of the New Empirical Conception. New Ideas in Natural Sciences. (On materials International Conference). Part I. - St.-Petersburg: RAS, 1996, p. 95-104.
      -- Mishin A.M. The physical system of artificial biofield // "New Energy Technologies".- SPb: Faraday Lab Ltd, 2001, N1, p. 45-50.
      -- Mishin A.M. Antigravitation and new energy processes // "New Energy Technologies".- SPb: Faraday Lab Ltd, 2001, N2, p. 37-41.
      -- Mishin A.M.Longitudinal thermomagnetic effect // "New Energy Technologies". - SPb: Faraday Lab Ltd, 2002, N2 (5), p. 38-41.
  

Антигравитация и новые энергетические процессы

  
   Рассмотрена эфирная модель гравитационного поля (эфирного тела) Земли, которая подтверждается результатами оригинальных лабораторных экспериментов.
   The ether model of the Earth's gravitational field is considered. This model is confirmed by the results of original laboratory experiments.
  
   Разработанная эмпирическая модель стереодинамически многомерного, расслоенного на фазы эфира позволила теоретически предсказать и подт­вердить экспериментально существование в Природе новых физических яв­лений. В целом полученные результаты представляют гармоничную и кон­структивную концепцию высшей физики, которую можно назвать "мерцающей" физикой для земных условий. "Мерцающей" потому, что процессы этой физики наблюдаются в лаборатории в особых условиях и ограничены во времени.
   Наша Вселенная заполнена турбулентным, вихревым движением мирового эфира. Главная особенность таких движений заключается в том, что в отличие от хорошо известных гидро­динамических сред (вода, воздух) каждый масштаб вихрей эфира отличается принципиально новыми вещественными, или квазиве­щественными свойствами. Это дает основание для вывода, что спектраль­ная характеристика вихре-волновых квантовых движений эфира соответствует множеству потенциальных и квазивещественных параллельных миров, каждый их которых описывается сво­ей физикой. Причем главным является вопрос: по каким законам эти ми­ры взаимодействуют между собой и, прежде всего, с нашим классическим миром?
   В предыдущих публикациях автора [1-6] сообщалось, что с ростом размера эфирных вихрей, т.е. при движении по оси спектра вправо (см. рисунок 2 на стр. 76 этой книги), эне­ргия их растет по закону фликкер-шумов, а скорость распространения энергетических взаимодействий пропорционально падает и время как бы замедляется. Микромир классических элементарных частиц (левое крыло спектра) является уникальным по энергии и стабильности этажом миро­здания. Энергетическое взаимодействие его с макроскопическим эфиром ограничивается энергоинформационным барьером (законом триады) и па­дает по экспоненте, постоянная времени которой зависит от соотноше­ния размеров взаимодействующих вихрей. В итоге параллельные миры про­никают в наш мир в виде "мер-цающих" физиче­ских явлений, суммар­ное действие которых называют фликкер-шумами. Отдельного рассмотрения требует участок спектра левее микромира, где скорость взаимодействия больше световой, а также игнорирующие энергоинформационный барьер слабые, "безваттные" взаимодействия, обу­словленные особыми волновыми (голографическими) процессами.
   Необходимо обратить внимание на чрезвычайно важный момент. Если вихри эфира любого размера обладают вещественными свойствами (хотя бы и виртуальными), то укрупнение или дробление таких вихрей неизбежно связано с выделе­нием или поглощением энергии. Речь идет о некотором аналоге извест­ных реакций распада и синтеза в микромире. Но, как было сказано выше, трансформация, или бифуркация макровихрей эфира сопровождается изменением хода физического времени. Поэтому становится понятной и в определенной мере оправданной концепция проф. Н.А. Козырева [7] о "материальности" вре­мени, способного выделять или поглощать энергию.
   В моей эмпирической модели эфир может одновременно находиться в тве­рдой, жидкой и газообразной фазах. Вместе с тем доказано, что каж­дая обособленная масса обладает своим твердым (жидкокристаллическим) подпространством как материальной основой ее гравитационного поля. Независимые эксперименты показывают также, что околоземное простран­ство как эфирное тело Земли анизотропно в вертикальном направлении. Ячейки вихре-волновой решетки твердого и жидкого эфира (присоединенной массы Земли) с увеличением высоты укрупняются, что равно­сильно уменьшению массы-энергии пространства и изменению его "временнсго" качества. Любое тело, движущееся в направлении градиента эфирного поля Земли, вынуждено согласовывать свою присоединенную эфи­рную массу (в теории элементарных частиц эта масса называется "шубой") со структурой окружающего пространства. Поэтому при движении вверх в менее плотный эфир тело теряет массу со скоростью
, а при дви­жении вниз приобретает. В результате независимо от направления вертикальной составляющей движения на тело действует сила антигравитации
, хотя реальная зависимость
от скорости тела U нелинейна и требует специального изучения.
   Пространственно-временные спектральные преобразования, как упо­миналось (вихревые энергокаскады), сопровождаются и энергетическими процессами. В данном слу­чае при движении тела вверх энергия выделяется, а при движении вниз поглощается, что при желании можно трактовать как изменение качества времени.
   Следует постоянно помнить, что рассматриваются явления "мерцаю­щей" физики и сила антигравитации, например, появляется и исчезает в технических системах спонтанно (иногда это приводит к авариям и ка­тастрофам). "Сознательно" силой антигравитации способны управлять представители животного мира и, разумеется, человек.
   Экспериментальные доказательст­ва изложенных теоретических положений были начаты с использования в качестве пробного тела электронов.
   Первые эксперименты проводились с целью качественной оценки самого факта существования силы

и ее направления. Для этого медный провод толщиной 3,0 мм изгибался углом и через него пропускался однонаправленный пульсирующий ток J = 0,5 А по схеме рис. 1а (че­рез трансформатор и диод от бытовой сети частотой 50 Гц). Осциллограмма, полученная на самописце ЭН-3001, при изменении положения согнутого углом прово­дника с вертикального на горизонтальное через каждые 0,5 часа изоб­ражена на рис. 1б. График показывает, что при горизонтальном положе­нии изогнутого проводника напряжение близко к нулю, а при вертикальном - на вершине появляется отрицательное напряжение до 50 мкВ. Пунктирная линия соответствует дрей­фу нуля измерительного прибора. Через 3 часа напряжение падает в 2 раза. На следующий день эффект в этой схеме наблюдался только в течение одного часа. Когда медный провод был заменен на железный, появились броски напряжения на два порядка превышающие уровень прадыдущего сигнала.
  
  


Рисунок 1

  
   Было проверено также влияние анизотропии пространства на свобод­но летящие электроны в электровакуумном диоде с плоским анодом (рис. 1в), что также подтвердило наличие новой силы. Разница в электричес­ком напряжении на диоде, стоящем анодом вверх и опрокинутом, состави­ла при первом опыте 80 мкВ. При повторном перевертывании прибора эффект был уже на уровне шумов, так как энергоинформационный барьер в вертикально стоящем вакуумном приборе устанавливается быстрее.
   Первая серия экспериментов в лаборатории доказала, что анизотро­пия околоземного пространства при движении микрочастиц порождает спе­цифическую убывающую во времени ("мерцающую") силу антигравитации. Но изменение массы элект­рона, как при любом дефекте массы, должно сопровождаться энергетичес­кими процессами. В рассматриваемом случае ожидалось выделение энергии при движении электронов вверх и поглощение при движении в обратную сторону.
   Для проверки этого факта была собрана лабораторная установка, изображенная на рисунке 2. Здесь через прямоугольную рамку из нихромовой про­волоки диаметром 0,25 мм пропускался пульсирующий или постоянный ток J = 0,6 А с нагреванием проволоки до 30®...40® по Цельсию (рисунок 2а). В середине рамки установлена термопара для измерения разности температур ?Т®С между правой и левой сторонами. Электрический сигнал, пропорцио­нальный температурной разности, поступал на самопишущий микроамперметр. Исследовалась зависимость соотношения температур восходящей и нисходящей сторон рамки от положения ее плоскости относительно гори­зонта (угол ? на рисунке 2б). Полученные осциллограммы приведены на рисунке 3.


Рисунок 2

   Сразу отметим, что график на рис. 3б соответствует ожидаемому на­греву той стороны рамки, по которой электроны идут вверх. Но на гра­фике рис. 3а картина обратная. Были и другие записи прямого и обратного термоэлектрического эффекта. Объяснить такое положение вещей можно следующим образом.
  


Рисунок 3

   Дело в том, что в металлическом проводнике действуют два противо­положно направленных термодинамических процесса. Первый - это сила
которая толкает электроны вверх, так что они накапливаются в верхней части рамки. Это было подтверждено первой серией экспериментов. Но такая ситуация с точки зрения электрических цепей равносильна уменьшению электрического сопротивления для восходящего потока электронов и увеличению для нисходящего. Поэтому для положительных углов ? ле­вая часть рамки должна нагреваться меньше, чем правая (см. рис. 2). Такой результат зафиксирован на осциллограмме рис. 3а. С другой сто­роны, электроны при движении вверх согласовывают свое существование с изменениями структуры пространства и теряют часть массы. При этом должна выделяться энергия в форме теплоты. Этот результат демонстри­рует график на рис. 3б. Условия, которые создают преимущество для проявления того или иного термоэлектрического эффекта, в дальнейшем должны быть изучены детальнее, но следует учесть, что первая запись на рисунке 3 получена на постоянном токе, а вторая - на пульсирующем с ча­стотой 50 Гц. Важно подчеркнуть, что оба эффекта являются результа­том вертикальной анизотропии околоземного пространства.
   Имея опыт нетрадиционных астрофизических наблюдений [2-6] , было заманчиво использовать описанные лабораторные установки в роли реги­страторов эфирных возмущений, вызываемых космическими телами. Более гибкой и жизнестойкой в режиме искусственного биополя оказалась последняя схема, обладающая хорошей пространственной избирательнос­тью (ширина главного лепестка диаграммы направленности на уровне 0,7 около 2®) и высокой чувствительностью по разности температур ?Т®С .
   Результаты наблюдений представлены на осциллограммах рисунка 4, где указаны московское декретное время в часах, дата эксперимента и гео­дезический азимут ?, под которым выставлялась главная ось чувствите­льности прибора. Таким образом, измерялась только местная горизонтальная составляю­щая внешних возмущений околоземного пространства на широте Санкт-Петербурга (пересчет угла ? во вторую экваториальную систему координат с точностью до градуса дает прямое восхож­дение ?).
  


Рисунок 4

   На графиках а, б виден мощный четкий сигнал от планеты Юпитер (при прохождении ее через диаграмму направленности за счет вращения Земли с неподвижным регистратором) в виде острого импульса, вслед за которым идут вторичные возмущения, объяснения которым пока не нашлось. Сигналы, принятые 19 и 20 ноября 1998 г., сдвинуты на время 25 минут, что соответствует реальной угло­вой скорости Юпитера относительно Земли около 6® в сутки.
   На осциллограмме в записан сигнал от Солнца, где диск звезды приходится на передний крутой подъем, а последующая часть импульса характеризу­ет последействие и, по-видимому, солнечный ветер. Наконец, на графи­ке г зарегистрирована анизотропия пространства, открытая Бауровым, Ефимовым и Шпитальной [8,9] и названная автором этой статьи анизотропией БЕШ. По­следействие в данном случае оказалось отрицательным, что по отношению к этому виду возмущений вполне естественно. По нашим исследованиям эта анизотропия вызвана системой эфирных ветров, возбуждаемых вращением Вселенной в целом.
   В рассмотренном способе регистрации нетрадиционных взаимодействий также используется искусственное биополе. Однако он более прозрачен в физическом от­ношении по сравнению с испытанными ранее [1-6], так как опирается на новую физическую силу, порождаемую движением массы в анизотропном пространстве Земли. Неожиданно большой сигнал от планеты Юпитер, сравнимый с влиянием Солнца и Луны, свидетельствует о том, что даже для малых по косми­ческим меркам тел, разделенным большим расстоянием, взаимное влияние на форму эфирного тела Земли весьма существенно. Нас­только существенно, что влияние Юпитера на анизотропию околоземного пространства способно изменить температуру проводника в простейшей электрической цепи на целые градусы (!).
   К сожалению, чувствительность описанного регистрирующего устройс­тва без принятия специальных мер падает заметно за 3...5 часов, благо­даря возникающему энергоинформационному барьеру между разномасштабными вихре-волновыми формами эфира, а вернее, между нашим миром и параллельным. Точно также ведет себя эфир и в от­ношении любых других физических процессов. Поэтому изучение способов и средств управления энергоинформационным барьером в лабораторных и природных условиях должно стать одним из приоритетных направлений для высшей физики, учитывая, что именно "мерцающее" влияние параллельных миров лежит в основе настоящей теории катастроф.
   Сопоставление научных фактов показывает, что причиной возникновения электрического поля Земли также является изменение с высотой энергетической плотности приземного слоя эфира. Поэтому указанное поле не подчиняется закону Кулона и падает до нуля на высоте около 10 км. На результаты описанных экспериментов это поле не оказывает влияния, так как в первом опыте (рисунок 1а) без электрического тока наведенный электрический потенциал не обнаруживается.
   В заключение заметим, что выполненные эксперименты относятся к наименее изученной области естествознания. Они технически просты, но затрагивают фундаментальные основы физики и для получения положите­льного результата требуют определенного искусства. Но разве не нужна была изобретательность при освоении первого электромотора или перво­го полупроводникового прибора - кристадина Лосева? А теперь электро­моторы и туннельные транзисторы просты и надежны в эксплуатации. То же может случиться и с приборами с искусственным биополем, принцип работы которых основан на использовании особых многомерных свойств пространства-эфира.
   Интересно, что с точки зрения элементарной физики проводимые ав­тором исследования можно назвать поиском детерминированных законо­мерностей в информационном массиве фликкер-шумов, причину которых еще С.Э. Шноль видел в действии "космофизических факторов" [10] . Но более важно то, что "мерцающая" физика является таковой толь­ко на поверхности Земли, а по своей главной сути это настоящая де­терминированная физика для космических масштабов, - высшая (эфирная) физика, о существовании которой многие ученые, живущие на Земле, не подозревают.
   Автор выражает глубокую признательность профессору А.П. Смирнову за предоставленную возможность доложить эти результаты на III Международном Симпозиуме "Hydrogen Power, Theoretical and Engineering Solutions" в 1999 г., Санкт-Петербург, СПбГУ.
  

ЛИТЕРАТУРА

  
      -- Мишин А.М. О новых свойствах физического вакуума, гравитаци­онного поля и массы. - МО СССР, 1988. - 44 с.
      -- Мишин А.М. О макроскопической механике физического вакуума. В сб. Развитие классических методов в естествознании. Серия "Проб­лемы исследования Вселенной", вып. 17.- СПб: РАН, 1994, с. 94-99.
      -- Мишин А.М. Результаты эксперимента по регистрации эфирного ветра. В сб. Новые идеи в естествознании. Серия "Проблемы исследо­вания Вселенной", вып. 18.- СПб: РАН, 1995, с. 24-33.
      -- Mishin A.M. The Ether Model as Result of the New Empirical Conception. New Ideas in Natural Science (in materials International Conference), part 1 "Physics". St.-Petersburg: RAS, 1996, p. 95-104.
      -- Мишин А.М. Многомерные физические системы. В сб. "Иници­атива". - СПб: Изд-во "Механобр", N 3, 1997, с. 7-20.
      -- Мишин А.М. Новые свойства и возможности автоколебательной системы // "Физическая мысль России", 1998, N 1, с. 33-35.
      -- Козырев Н.А. Избранные труды. - Л: Изд-во Ленинградского Университета, 1988. - 448 с.
      -- Бауров Ю.А. Структура физического пространства и новый способ получения энергии. - М: Изд-во "Кречет", 1998. - 240 с.
      -- Ефимов А.А., Шпитальная А.А. Об анизотропии вспышечной и пятнообразовательной деятельности Солнца в инерциальном простран­стве. В сб. Физические аспекты современной астрономии. Серия "Проблемы исследования Вселенной", вып. 11. - Л: АН СССР, 1985, с. 147-154.
      -- Шноль С.Э. и др. Дискретные спектры амплитуд (гистограммы) макроскопических флуктуаций в процессах различной природы. - Пущино: Б.И., 1985. - 39 с. (Препринт/ИБФ АН СССР).

Физика параллельных миров

  
   На основе оригинального эмпирического материала рассмотрена эфирная концепция вещества, пространства, времени и проблема параллельных миров.
   Mishin A.M. On the basis of an original empirical material the ether concept of substance, space, time and problem of parallel worlds is considered.
  
   Многолетние наблюдения и эксперименты по нетрадиционной методологии [1-5] показывают, что все сущее в нашем мире представляет собой различные формы движения некой единой первичной материи. Прав оказался Декарт, утверждавший, что "во Вселенной нет ничего, кроме эфира и его вихрей". Но насколько необычными должны быть свойства этого таинственного многоликого эфира, чтобы его динамические трехмерные структуры создавали все разнообразие физических объектов и явлений природы, включая различные виды живой материи. В рамках концепции эфира рассмотрим физические аспекты фундаментальных категорий естествознания и проблему параллельных миров.
   Мировой эфир во всех своих проявлениях демонстрирует особые квантовые сверхтекучие свойства. Поэтому логично связать образование вещества с вращением Вселенной в целом, которое является установленным научным фактом. Тогда под вещественным миром следует понимать устойчивую и энергичную корпускулярную вихре-волновую "структуру" определенного пространственно-временного спектра, обладающую квантованным однозначным моментом "спирального" движения эфира. Подобная "структура" состоит из элементарных частиц, длительность существования ("жизнеспособность") которых обеспечивается многомерным автоколебательным режимом [5]. Естественно, что параметры проявленного вещества зависят от свойств первичного эфира и характеристик вращательно-поступательного движения Вселенной. При этом вихре-волновой, или корпускулярно-волновой дуализм выступает в роли абсолютного принципа мироздания, что находит подтверждение в новейших экспериментах. Во Вселенной нет объектов, не обладающих волновыми свойствами.
   Реальное пространство стереодинамически и топологически многомерно, так как представлено множеством разномасштабных вихревых "решеток", т.е. подпространств. Главным подпространством следует называть условно "твердые" жидкокристаллические вихре-волновые структуры трехмерного сверхтекучего эфира, обладающие нулевыми результирующими моментом импульса и спиральностью. В указанном смысле материальность любого потенциального подпространства виртуальна. Более первично тонкоструктурное ньютоново подпространство, или энергетическое "дно" Вселенной. Следующее подпространство - это основа нашего Мира (физический выкуум) с присущим ему классическим веществом. Остальные подпространства создаются веществом (массой) и представляют особые материальные объекты, - гравитационные поля, заполненные квазивеществом. Гравитация - это чисто эфирное явление, реализующее принцип наименьшего возмущения (наименьшего действия) при взаимодействии неоднородных подпространств, энергия которых пропорциональна массе физических тел. Гравитационные поля обладают неизученными голографическими свойствами. В общем случае энергия подпространства тем больше, чем тоньше его структура.
   Можно сказать, что Вселенная представляет собой вращающийся жидкий кристалл, взаимодействующий с еще более тонкоструктурным и, следовательно, более энергоемким пространством между вселенными. Поэтому межвселенское энергетическое "дно" глубже "дна" нашей Вселенной и находится в состоянии плазмы, "огня" (энергетический вихревой спектр Единого Поля Эфира изображен на рисунке 1, стр. 160 ). Количество проявленных вещественных миров сейчас неизвестно. Однажды появившись, вещество создает вторичные вихре-волновые структуры, симметричные по количеству право- и левовинтовых вихрей как отдаленных аналогов частиц и античастиц. Статический вариант таких структур соответствует квазивеществу, заполняющему подпространства гравитационных полей и образующему параллельные миры. Динамический вариант - это особое вихре-волновое излучение, пронизывающее просторы Вселенной. Квазивещество можно назвать топологическими гармониками (субгармониками) вещества, которые появляются в результате взаимодействия физических тел с другими неоднородными подпространствами. Существование макроскопических квазивещественных объектов подтверждают наблюдаемые в нашем мире фликкер-шумы.
   До сих пор под параллельным миром подразумевалась любая вихревая материальность, существующая за пределами подпространства (физического вакуума), занимаемого нашим вещественным миром. Однако следует различать потенциальный параллельный мир как протовещественное подпространство и реальный параллельный мир, когда такое подпространство заполнено соответствующим квазивеществом, родственным по физической сущности нашему, но иного пространственно-временного масштаба. Родство определяется использованием принципа автоколебаний, обеспечивающего "живучесть" локализованных вихревых форм, и отличным от нуля результирующим спиральным моментом импульса.
   Электромагнетизм также имеет вихре-волновую природу и занимает строго определенное положение на пространственно-временном спектре вихревых движений эфира. В эфире нет движения без вращения. Электромагнитные явления, как и механические и все другие, имеют свои топологические гармоники, т.е. все природные явления и процессы многомерны в эфиродинамическом смысле. Этим объясняется живучесть эзотерических и оккультных представлений, оправданных в рамках высшей физики.
   Понятие времени, принятое сейчас в науке, - это совершенно условная категория, субъективно, подсознательно привязанная к течению человеческой жизни, а по сути характеризующая меру динамики наблюдаемого процесса. С физической точки зрения время должно отражать, соответствовать скорости передачи вихревого взаимодействия и угловой скорости вращения вихрей эфира в рассматриваемой структуре пространства. В стереодинамически и топологически многомерном пространстве время также многомерно, потому что каждое подпространство имеет свой ход времени. Физическое время проявляет свои "материальные" свойства в процессах масштабной пространственной трансформации эфирных вихре-волновых структур (вещества или квазивещества), сопровождающейся термодинамическими эффектами. Проф. Н.А. Козырев в своей теории имел в виду именно физическое время, управляющее космическими энергетическими процессами в многомерном пространстве.
   Категория времени тесно связана с проблемой взаимодействия физических миров, под которыми подразумеваются разномасштабные вихре-волновые структуры эфира, образующие вещество и квазивещество (автоколебательные системы), а также протовещество (вихри первичной "виртуальной" турбулентности). Этому взаимодействию препятствует энергоинформационный барьер, обусловленный, с одной стороны, сверхтекучими свойствами эфира, а с другой, - особенностями перехода в другой масштаб пространства и физического времени. Материальный (энергетический) переход из одного подпространства в другое возможен за счет "бифуркации", дробления или укрупнения элементарных вихрей как отдаленного аналога классических реакций ядерного распада и синтеза. При этом процесс дробления сопровождается ускорением физического времени, увеличением массы и дополнительными энергетическими затратами. Превращение эфирного вихря в более крупный характеризуется обратными процессами. Вихревые спектральные энергетические каскады, - "красный" и "фиолетовый", - выполняют главную роль в космической энергетике. Именно эти природные явления, воспроизведенные в лаборатории [6], вносят ясность и правомерность в трактовку времени Н.А. Козыревым.
   Здесь фиксируется важнейшее научное положение, что эфирные вихри обладают вещественными свойствами при любых размерах. Однако большинство эфирных структур, сопровождающих обычные физические тела, виртуальны в том смысле, что содержат равное число вещественных и антивещественных образований, соответствующих сущностям "ян" и "инь" в древнекитайской философии. Величина взаимодействия таких структур с телами нашего мира за счет "вихревой вязкости" падает во времени по экспоненте даже в том случае, если удается создать отдельные эфирные квазитела типа "ян" или "инь", что также подтверждено экспериментами.
   Данный факт объясняет, почему рядом с нами существует малоизученный мир "мерцающей" физики, именуемой во все времена метафизикой. Удивительно, что все живые системы обладают способностью управлять энергоинформационным барьером.
   Все потенциальные и реальные миры Вселенной со своими подпространствами и качеством времени можно расположить на оси в зависимости от размеров элементарных вихрей и оценить изменение главных физических характеристик Единого Поля Эфира. Новые экспериментальные данные позволяют утверждать, что скорость передачи взаимодействия и скорость вращения вихрей как ход времени, плотность и энергия (температура) эфира имеют обратную зависимость от размеров вихрей. Например, скорость распространения многомерного электромагнитного возмущения стремится к бесконечности в начале оси, равна световой в микромасштабах и приближается к нулю в мегамирах (см. рисунок 1 на стр.160 этой книги).
   Необходимо учитывать, что в реальных физических системах занимаемый ими объем пространства заполнен вихрями эфира от нуля до размеров самой системы. Причем с увеличением размеров системы расширяется ее собственный активный спектр в сторону меньших масштабов, т.е. углубляется ее энергетическое "дно". Так, галактический вихрь увлекает тонкоструктурное подпространство, отвечающее за явление инерции, что наделяет систему новым качеством. В частности известно, что в механике галактик нарушаются законы Ньютона.
   До сих пор говорилось о вещественных и квазивещественных мирах, обладающих значительной энергией вихревого движения эфира. Если бы другие цивилизации существовали в параллельных подпространствах в вихре-волновой форме, то у них и у нас было бы достаточно возможностей для общения, несмотря на различие в значениях фундаментальных физических констант. Поскольку явно осмысленного физического общения не наблюдается, видимо, надо искать принципиально иные формы жизни.
   В настоящее время имеются экспериментальные доказательства, что твердые подпространства обладают малоизученными голографическими и фрактальными свойствами, т.е. способностью к накоплению и запоминанию глобальных объемов информации. Хотя физический механизм такой памяти пока не совсем ясен, вполне допустимо, что новые возможности устойчивых вихре-волновых структур, или матриц эфира в составе гравитационных полей объясняют способ существования бестелесных в обычном понимании, но одухотворенных миров.
   При этом выявляется известная из эзотерических источников иерархия потусторонней жизни: земная, солнечная и др. Взаимодействовать такой цивилизации с нашим плотным миром очень сложно, потому что энергии у них меньше, чем у компьютерных вирусов. Последнее сравнение весьма многозначительно и указывает на примитивный аналог специфического разума, на аппарат "фазовой" информатики, т.е. нематериальной по нашим меркам структуры. Более того, вирусная форма гомеопатической и компьютерной природы подсказывает направление для поиска способов общения с обитающими рядом с нами бестелесными сущностями. Наряду с этим, необходимо указать на возможность информационного управления энергетическими, вещественными процессами нашего мира. Реальным прообразом такого управления являются известные достоверные факты воздействия на материю с помощью мысли.
   В заключение отметим, что первичная сверхтонкая структура эфира - нераскрытая тайна, и введение в теорию пространств гипотетических частиц, таких как амеры Ацюковского, бюоны Баурова, фитоны Акимова и десятки других, не приближают нас к истине. Против засилия надуманных гипотез возражали Ньютон и Ломоносов, потому что нет ничего вреднее для физики, чем нагромождение полудостоверных математических моделей. Это тем более преждевременно, что еще не изучены доступные наблюдению макроскопические свойства эфира. Чтобы исправить положение, необходимо при построении теории единого поля вернуться к исторически оправданной концепции топологически фрактально многомерного материального эфира-пространства-времени (теории ЭПВ).
  

ЛИТЕРАТУРА

  
      -- Мишин А.М. О новых свойствах физического вакуума, гравитаци­онного поля и массы. - МО СССР, 1988. - 44 с.
      -- Мишин А.М. О макроскопической механике физического вакуума. В сб. Развитие классических методов исследования в естествознании. Се­рия "Проблемы исследования Вселенной", вып. 17. - СПб.: РАН, 1994, с. 94-99.
      -- Мишин А.М. Результаты эксперимента по регистрации эфирного ветра. В сб. Новые идеи в естествознании. Серия "Проблемы исследова­ния Вселенной", вып. 18. - СПб.: РАН, 1995, с. 24-33.
      -- Mishin A.M. The Ether Model as Result of the New Empirical Conception. New Ideas in Natural Sciences. (On materials International Conference). Part I. - St.-Petersburg:RAS, 1996, p. 95-104.
      -- Мишин А.М. Многомерные физические системы. В сб. "Инициатива". - СПб.: Изд. "Механобр", 1997, N 3, с. 7-20.
      -- Mishin A.M. Gravitation electrical effect. III International Symposium "Hydrogen Power, Theoretical and Engineering Solutions". Abstracts of the special Section. - St.-Petersburg State University, 1999, p. 221.
  

Основной закон эфиродинамики

  
   Экспериментально открыт закон возбуждения в свободном эфире нетрадиционных вихревых волн динамическими процессами нашего мира (механическими колебаниями физических тел, переменным электрическим током, электромагнитными волнами и др.). Неизвестные ранее волны распространяются узкими пучками по определенным направлениям, причем каждому направлению соответствует свой тип волны. Оказалось, что по этому закону аналогичные волны излучают все космические тела. По пространственной диаграмме распространения волн с привлечением результатов других авторов были определены точные координаты Центра Вселенной.
  
   Эмпирическое изучение физических основ мироздания открывает все новые стороны единой сверхтонкой, сверхтекучей трехмерной субстанции, из которой создано все сущее в материальном мире. Наши предшественни­ки с древнейших времен называли эту субстанцию эфиром (по-гречески "огонь", "сияние"), отлично понимая, что это самая таинственная и до конца непознаваемая физическая сущность.
   Эксперименты подтверждают концепцию Рене Декарта. Собственно материальными, т.е. со­держащими энергию в нашем понимании и, следовательно, наблюдаемыми яв­ляются вихре-волновые возмущения эфира, занимающие пространственно-временной спектр от нуля до масштабов Вселенной. Определенный интервал этого спектра отводится известным материальным частицам, соста­вляющим плотный физический мир, к которому мы привязаны энергетически. Простейшие вихри эфира, как и в обычной сверхтекучей жидкости типа гелия-II, имеют вид торов, вихревых нитей, солитонов, однако долгоживущие элементарные частицы - это особые стереодинамически (масштабно) многомерные автоколебательные системы в энергетическом каче­стве описанные В.И. Ильиным [1]. Сейчас разработаны экспериментальная методология и приборы, позволяющие наблюдать и изучать вихре-волновые формы эфира, не принадлежащие нашему проявленному миру [2-5].
   Следует заметить, что свойства свободного эфира принципиально от­личаются от свойств эфира в форме устойчивого проявленного вещества, изучаемого официальной наукой. В земных лабораториях законы классиче­ской физики, описывающие вещественные процессы, выполняются в среднем на 96% [6], в пределах галактики законы свободно­го и связанного эфира действуют совместно, а динамика Вселенной в целом подчиняется только законам свободного эфира, так как обычное вещество и антивещество составляют ничтожную часть ее объема. Именно по этой причине динамика галактик отклоняется от законов Ньютона, а не только из-за влияния гипотетической "скрытой массы".
   Специальные наблюдения и эксперименты показывают, что в реальной Природе общеизвестным элементарным частицам и полям сопутствует топологическое, можно сказать, "матрешечное" множество других вихре-волновых структур свободного эфира (топологических гармоник), находящихся условно в твердом, жидком, газообразном, плазменном квазивещественном состоянии, а также в особом пятом состоянии, недавно открытом американскими учены­ми и названном "фермионным газом". Основные законы многомерной эфиродинамики изложены в моих предыдущих работах [2-5,7, 8]. Однако вихре-волновые процессы в свободном эфире имеют неизвестные в вещественном мире уникальные особенности, рассмотрению которых посвящена настоящая ста­тья. В дальнейшем понятия "вещественный" и "антивещественный" применя­ются к вихре-волновым структурам независимо от характерных размеров эфирных вихрей (уровней Мироздания).
   В работе [5] были описаны в общих чертах новые свойства и возможности модифицированной электромеханической автоколебательной системы с искусственным биополем, содержащей линейный маятник, качающийся в гори­зонтальной плоскости с собственной частотой 1...7 Гц. Дальнейшие иссле­дования показали, что полная картина возбужденных маятником эфирных волн выглядит значительно сложнее и соответствует изображению на рисунке 1 (в горизонтальной плоскости). Здесь точка 8 соответствует месту крепления пружины маятника, а в центре чертежа показан колеблющийся груз 9. Впервые эта диаграмма была продемонстрирована мною в докладе на Ме­ждународном конгрессе в г. Санкт-Петербурге в 1998 г. [9] .
   Напомню кратко о методах экспериментального исследования. Посколь­ку речь идет об излучении с частотой нескольких герц узких пучков с ра­сходимостью меньше 2®, то ясно, что это принципиально новые, нетради­ционные волновые процессы. По эфирной модели такие волны распространя­ются с малой скоростью, так как принадлежат к макроскопическому участ­ку вихревого спектра [8]. Указанные на рисунке 1 лучи с оценкой интенсив­ности и некоторых других характеристик легко наблюдаются методом физической сенсорики. Наряду с этим нетрадиционные волны не только излучаются, но и регистрируются прибором с искусственным биополем [5]. Конечно, изучение свойств эфира - это тонкая и кропотливая работа, сравнимая для традиционного физика, может быть, с работой в обычной лаборатории, с обычными приборами, но в полной темноте.
   А теперь проведем качественные физические рассуждения о природе волн, возбуждаемых механическим маятником в особой сверхтекучей материальной среде в условиях воздушной атмосферы и земного гравитационного (эфирного) поля.
  


Рисунок 1

  
   Излучение по линии 1-1, совпадающее с направлением колебаний маятника, - это продольные эфирные волны в виде тороидальных наиболее нейтральных вихрей, закрученных только в направлении движения. Направо и налево распространяется один и тот же тип волны, но в противопо­ложных фазах. При сенсорном восприятии продольные волны "мягкие", упругие, отражающие свойства вещества, из которого сделан груз маятника. Впрочем, последнее обстоятельство, демонстрирующее "материю" макровихрей, в равной мере относится ко всем рассмотренным далее типам волн.
   Под материей эфирного вихря следует понимать ансамбль, спектр бо­лее мелких вихрей глубинных уровней, участвующих в рассматриваемом локализованном движении. Поскольку вихревой спектр эфира квантован во всех мыслимых пространственных масштабах (и соответствующих круговых частотах - "вибрациях"), такой же характер имеют любые эфирные процессы.
   В перпендикулярном направлении 2 - 2, естественно, формируются по­перечные волны, которые можно назвать топологическими гармониками (субгармониками) классических электромагнитных волн, потому что их вихревая структура в этом эксперименте имеет макроскопические размеры, точнее размеры образующих волны вихрей. По В.А. Ацюковскому [10] такие волны имеют вид дорожки Кармана, что близко к истине. Эти волны и сенсорно, и прибором воспринимаются слабее продольных, что, однако, не свидетельствует об их мень­шей интенсивности.
   По линии 3 - 3 (в горизонтальной плоскости!) под углом 45® к направлению движения маятника, т.е. к направлению распространения продольных волн формируется особое про­дольно-поперечное излучение, имеющее правововинтовую вихревую структуру с угловым шагом винта 45®, с торами, закрученными в двух направлениях. Исследования показали, что это излучение соответствует обычной ве­щественной структуре, называемой в традиционной физике волнами де Бройля. Это самые "тяжелые" и вязкие спиральные волны, в наибольшей мере взаимодействующие с веществом. В направлении 3' - 3' излучение имеет аналогичный характер, но с винтом левого направления, что соответствует антивещественной по особому воспринимаемой структуре. Продольно-поперечные волны - это квазивещественные образования, относящиеся в данном случае к макроэтажу вселенской иерархии и соответствующие сущностям "ян" и "инь" в древнекитайской философии.
   Еще раз напомним, что по ходу распространения продольных волн на поверхности Земли левая продольно-поперечная волна является веществен­ной, а правая - антивещественной. Подобные волны представляют собой последовательность тороидальных вихрей, закрученных в двух направлениях так, что точка на поверхности тора движется по правой или левой спира­ли под углом 45®.
   Квазивещественные винтовые свойства выражены также в излучениях по направлениям (4 - 4) - (7 - 7), относящихся к типу совершенно неожиданных продольно-поперечных волн с угловым шагом винта 15®, 30®, 60®, 75® и таких же антивещественных излучений по направлениям (4' - 4') - (7' - 7'). Ин­тенсивность этих вихрей-волн по имеющимся данным меньше по сравнению с основными (для использованных методов регистрации).
   Все рассмотренные излучения распространяются преимущественно в горизонтальной плоскости. Объяснение такой особенности заключается в том, что приземный слой эфира в рассматриваемой части пространственно-вре­менного спектра вихрей имеет ярко выраженную вертикальную анизотропию, а в горизонтальной плоскости практически однороден. Экспериментально доказано, что анизотропия эфира обусловлена гравитационным полем Земли при участии присоединенной "жидкой" массы [2,11].
   Следует учитывать тот факт, что гравитация (анизотропия эфирного пространства) оказывает непосред­ственное влияние и на сам процесс формирования эфирных волн. Поэтому в вертикальной и других плоскостях эфирные волны имеют свои особенности и в настоящее время недостаточно изучены. Но установлено, что от горизонтальной плоскости вниз распространяются вещественные волны, а вверх - антивещественные, что роза излучения формируется также в плоскостях, проходящих через луч продольной волны под углом 45® к вертикальной плоскости.
   Рассмотренные волны в свободном эфире существенно отличаются от известных упругих волн, так как в данном случае излучение можно считать и потоком макроскопических квазичастиц, распространяющихся с малыми скоростями и расходимостью около 2®. (Эти 2® обязаны криволинейному движению маятника, а в действительности луч практически не расходится). Волновые свойства, тем не менее, сохраняются и проявляются в частичном отражении от границ раздела и в выполнении законов геометрической оптики при прохождении через обычные линзы. Как известно, оптические свойства нетрадиционных волн первым обнаружил и использовал Н.А. Козырев [12]. В твердой эфирной фазе, например, в гравитационном поле, по-видимому, могут существовать и упругие волны, не обладающие собственной вихревой структурой, но эти динамические процессы относятся уже к особому "квазивещественному" эфиру ("голограмме стоячих волн").
   Описанный выше технически простой, а в физическом отношении достаточно сложный опыт имеет глубокое познавательное значение и позволяет сделать следующие выводы.
   1. Поскольку продольно-поперечной волне с угловым винтовым шагом 45® как волне де Бройля близка по физической сути классическая вещественная структура в виде элементарных частиц, то и другим обнаруженным эфирным волнам этого типа с другим винтовым шагом должны соответство­вать некие формы вещества, поиск которых целесообразно включить в программу научных исследований. Потенциально, кроме известных, может су­ществовать еще по 4 вида элементарных частиц и античастиц как принадлежащих нашему пространственно-временному этажу, так и за его пределами, или как говорят эзотерики, в других диапазонах вибраций.
   В традиционной физике момент импульса элементарных частиц характеризуется спиновым числом, которое имеет значение для фотона 1, для электрона 1/2 и для К- и пи-мезонов 0. По диаграмме рисунка 1 первому соответствует поперечная эфирная волна, второму - продольно-поперечная с угловым шагом 45о, а мезонам - продольная волна. Наш эксперимент утверждает, что должны существовать элементарные частицы и античастицы со спином 1/6, 1/3, 2/3 и 5/6.
   По принципу топологической и системной фрактальности [7] семилучевая роза вещественного вихре-волнового излучения присуща всем масштабам Вселенной, в том числе геофизическому, солнечному и другим. При этом нужно иметь в виду, что понятия "правое" и "левое" имеют смысл только при наличии центра гравитации, также как понятия "верх" и "низ", когда рассматриваются процессы в вертикальной плоскости. Центр гравитации имеет любая локализованная масса, т.е. любое физическое тело или системы от элементарной частицы до Вселенной в целом. Как ни удивительно, но о 7 животворящих лучах "света" неоднократно упоминается в эзотерических источниках.
   2. Все волны в свободном эфире имеют вихревую природу (упругие волны в квазивещественной твёрдой фазе эфира требуют отдельного рассмотрения), поэтому логично распространить установленные законы волновой эфиродинамики на весь естественный диапазон пространственно-временных вихревых масштабов. Тогда продольные и поперечные волны оказываются общими для любых вещественных и антивещественных миров. Отсюда следует, что по оптическому и другим видам электромагнитного излучения нельзя определить, какой объект мы наблюдаем - галактику или антигалактику. Этот вывод следует принять во внимание астрофизикам.
   Очевидно также, что двойные и тройные нетрадиционные изображения космических тел могут найти теперь свое объяснение, если учесть суще­ствование 7 типов узконаправленных вещественных эфирных волн, возникающих в каждой гравитирующей системе.
   3. Скорость распространения и собственная частота (угловая скорость вращения вихрей) эфирной волны обратно пропорциональны размеру образующих ее вихрей. Следовательно, левее микромира с уменьшением вихревых масштабов скорость волн (в первую очередь электромагнитных топологических гармоник) будет все более превышать световую, а правее микромира - волны (топологические субгармо­ники) будут замедляться [8].
   Регистрация (детектирование) нетрадиционных волн обычными физиче­скими методами затруднена потому, что между вихре-волновыми структурами эфира, принадлежащими различным сечениям пространственно-временного вихревого спектра (различным уровням Мироздания), существует энергоинформационный барьер, отражающий фундаментальное свойство сверхтекучего эфира как стереодинамически многомерной, фрактальной синергетической системы [7]. Можно сказать, что здесь реализуется принцип наименьшего действия на эфирном уровне (в многомерном варианте). Способность управлять указанным барьером лежит в основе функцио­нирования всех естественных устойчивых систем и специфически реализована в мире элементарных частиц, звезд и в живой природе, чем обусловлено пос­тоянство всего, что нас окружает.
   Время "жизни" приборов с искусственным биополем [5] в неизменных лабораторных условиях лежит в пределах от трех часов до нескольких дней. Испытаны устройства, реагирующие детерминировано на нетрадиционные возмущения до нескольких недель. Не исключено, что указанный барьер портит жизнь многим изобретателям вечных двигателей и инерциоидов при попытке использовать в качестве рабочего тела свободный сверхтекучий эфир (материальное, но виртуальное пространство).
   Эфирные волны и квазивещество проявляются в нашем мире в виде фликкер-шумов, которые характеризуют изменение проницаемости энергоинформационного барьера во времени с ростом размеров вихрей (уменьшением круговой частоты) и статистически отражают влияние космофизических и геофизических факторов [6]. Внешние связи Земли на классическом вещественном и полевом уровне имеют другую природу, энергетика которой определяется винтовым движением звездных вихрей тонкоструктурного эфира в автоколебатедьном режиме.
   Увеличение проницаемости энергоинформационного барьера с ростом пространственного масштаба физического процесса подтверждают не только характеристики фликкер-шумов, но и другие экспериментальные факты. Например, регистрация юго-западного геофизического эфирного потока в лаборатории эффективна первые 3 часа. Тем не менее, более открытые системы, такие как деревья, воспринимают этот поток постоянно (среднестатистически), что подтверждается асимметрией годовых колец в соответствующем направлении [2,4]. Таким образом, роль свободного эфира действительно растет с увеличением размеров вихрей, о чем упоминалось в начале статьи, и это должно учитываться при построении теоретических моделей.
   Создавать искусственные биополя, т. е. "расковыривать" энергоинформационный барьер и выходить за пределы естественного спектра вихревых возмущений эфира - занятие небезопасное и ответственное. Наиболее безобидной разновидностью продукции нетрадиционных процессов является так называемый электронный "смог", генерируемый современными электротехническими и другими устройствами, создатели которых не учитывают свойств реального эфира.
   4. Следующим фундаментальным направлением физических исследований является поиск и изучение способов "остановки" излучений, т.е. перехода вихре-волнового квазивещества в локализованные квантовые автоколебательные системы типа элементарных частиц. Пути решения этой проблемы требуют дальнейшей детализации эмпирической модели стереодинамически многомерного эфира с разработкой основного закона Мироздания. Пока можно лишь предполагать, что за пространственно-временными пределами обычного вещества, в других квантовых сечениях вихревого спектра, "температуры" квазивещества ниже "абсолютного нуля" даже на поверх­ности Земли. Поэтому там нет условий для появления устойчивых локализованных вихре-волновых форм (макро- или фемтоскопических элементарных частиц). Очевидно для перехода в настоящее вещество волновым прямолинейно движущимся структурам необходим приток значительной дополнительной энергии. Однако феномены шаровой молнии и НЛО несомненно доказывают реальность существования макроскопических элементарных частиц.
  
   Должно быть понятно, что сейчас делаются первые шаги в общую теорию эфирных нетрадиционных волн и квазивещества. За пределами данного физического эксперимента с привлечением другого эмпирического материала установлено, что вихре-волновыми свойствами обладает любой поток, любое движение эфира независимо от его происхождения [4,7,11]. Физическое тело, находящееся в эфирном потоке, становится источником вторичного излучения с учетом иерархии гравитационных полей, но уже по описанной выше схеме, т.е. телом генерируется эфирные волны всех 12 типов в трех плоскостях. При этом под телом подразумевается любой вещественный объект, обладающий классической массой.
   Таким образом, кроме рассмотренного макромеханического способа (рисунок 1), эфирные волны в виде топологических субгармоник и малоизученных гармоник (фемтомасштаб) возбуждаются всеми формами материального движения, в том числе электронами. Поэтому пространственно-временной спектральный состав нетрадиционных волн чрезвычайно широк и многообразен, что создает известные трудности в их идентификации и изучении. Когда же физические основы таких волн вообще неизвестны, начинаются рассуждения о "нефизической компоненте" лазерного излучения [13] , хрональных полях, пси-волнах и т.д.
   Фундаментальный закон эфиродинамики играет важную роль в формировании облика Вселенной, включая и наш плотный мир. Двенадцатилучевая роза вихре-волнового излучения позволяет заглянуть под феноменологическое покрывало электродинамики. Например, на основании этого закона открыта тонкая эфирная структура магнитного поля и теоретически предсказано новое физическое явление, которое затем было обнаружено в лабораторном опыте. Об этом будет рассказано в статье "Продольный термомагнитный эффект".
   Вращение Земли создает поток эфира (эфирный ветер) с востока на запад, который, распадаясь в каждой точке гравитационного поля Земли на 12 лучей в горизонтальной и других плоскостях, создает устойчивую решетку спиральных вихрей и антивихрей, называемую сеткой Хартмана [4]. С юго-запада на северо-восток направ­лены наиболее интенсивные вещественные продольно-поперечные волны ти­па де Бройля (ян), а с северо-запада на юго-восток - аналогичные антивещественные волны (инь) с характерными размерами вихрей макроскопических размеров. В моей экспериментальной практике геофизический ян-ветер был обнару­жен первым, и вызывало большое недоумение, почему он отклоняется на юго-запад, а не совпадает с направлением вращения Земли (точный запад) [2] .
   Спирально-вихревые ячеистые структуры должны существовать также в гравитационных полях звезд, галактик и Вселенной. Известно, что все эти объекты имеют магнитные поля, которые относятся к вещественным образованиям. Но выше было показано, что в свободном эфире рождаются также материальные миры с результирующим спиральным моментом импульса равным нулю, т.е. равным количеством квазивещества и антиквазивещества. Следовательно, на всех иерархических уровнях Вселенной, как и в приземном подпространстве, должны существовать нелинейные подпространства свободного эфира с ячеистыми вихревыми структурами соответствующих параметров.
   Однако неизвестно, как в звездах и галактиках рождается обычное вещество. Насколько применима современная теория сверхтекучей жидкости к вихревой динамике многомерного фрактального физического пространства в межгалактических масштабах? Поэтому сегодня нет ответа на вопрос о существовании в нашей Вселенной антигалактик с антизвездами. В данном случае и традиционные инструментальные наблюдения бессильны, так как независимо от знака спиральности вещество излучает одинаковые световые волны. Остается надеется, что эта задача будет решена с применением инструментальной базы высшей физики.
   На Земле спирально симметричный мир стереодинамических, топологических гармоник, сопровождающих вещественные процессы, вполне можно назвать виртуальным в сравнении с правовоспиральным плотным физическим миром ("физическим планом"). Также виртуальны аналогичные симметричные миры на других уровнях иерархии Вселенной.
   Основной закон эфиродинамики (рисунок 1) позволяет отождествить глобальную ани­зотропию пространства [14, 15] с вещественной продольно-поперечной волной типа де Бройля, порождаемой вращением Вселенной в целом (в вертикальной по гравитационному полю, или экваториальной плоскости). Главный орбитальный продо­льный эфирный поток, регистрируемый на поверхности Земли, составляет с этим направлением угол 45®. Располагая данны­ми о розе излучения, удалось определить истинные координаты Центра Вселенной во второй экваториальной системе:
   прямое восхождение ? = 330® Ђ 3®;
   склонение ? = 25® Ђ 3®.
   По наблюдениям за активностью Центра нетрадиционным методом в 2001 г. были зафиксированы максимумы излучения 5, 22 марта, 3 апреля, 2 и 26 июня, 23 августа, 10 и 30 сентября. Сотрудником ГАО РАН в Пулково А.А. Шпитальной документально подтверждено повыше­ние активности Солнца в последующие дни после указанных дат. Замечено, что найденный Центр Вселенной по направлению ? совпадает с одной из группи­ровок квазаров, тогда как другая группировка этих объектов расположена в той же плоскости (? = -30®) под углом ? = 15® [15]. Характерно, что угловое расстояние по ? между группировками квазаров составляет 45®.
   Как следует из вышеизложенного, основной закон эфиродинамики, про­ливающий свет на динамику Вселенной и первопричины образования виртуальных и реальных параллельных миров, для высшей физики оказывается сравнимым по значимости с законом всемирного тяготения. В объеме полученных эмпирических материалов сфор­мулируем этот закон в следующем виде.
   Любой динамический физический процесс возбуждает в свободном эфире 12 типов вихревых волн, в их числе продольные, поперечные и продольно-поперечные, распространяющиеся прямолинейно в виде узких пучков через каждые 15® в плоскостях, перпендикулярной, параллельной и под углом 45® к градиенту гравитационного поля. От вертикальной нулевой плоскости, проходящей через продольную волну, слева от наблюдателя, нормально ориентированного в гравитационном поле лицом в сторону распространения волны, создаются вещественные вихре-волновые потоки, а справа - антивеществен­ные; в перпендикулярной плоскости вещественные волны направлены вниз, а антивещественные - вверх.
   Волны, излучаемые в плоскости под углом 45® к градиенту гравитационного поля, а возможно, и под другими углами, требуют дальнейшего более детального изучения.
   О главных следствиях из этого закона было сказано выше. Но отмечу еще раз, что внешний эфирный поток (продольная волна) при взаимодействии с Землей порождает на ее поверхности в горизонтальной плоскости встречную наиболее легко регистрируемую квазивещественную волну де Бройля, отклоняющуюся влево на угол 45®. Если этот внешний поток вызван движением Земли по орбите Вселенной, то это и есть глобальная анизотропия пространства. Поэтому попытки отождествить эту волну с гипотетическим космологическим векторным потенциалом, перпендикулярным радиальному направлению в плоскости экватора Вселенной, приводят к ошибочному результату [14,15].
   В реальном Космосе имеется множество иерархически обозначенных ма­лых и больших гравитационных центров, поэтому любая роза эфирно­го излучения, отражая суперпозицию гравитационных полей, представляет собой сложное многолучевое и многоуровневое образование, изучение ко­торого представляется мне наиважнейшей научной задачей.
   Остается сожалеть, что, несмотря на очевидную конструктив­ность, концепция эфира до сих пор замалчивается и отвергается официа­льной наукой. А для преодоления эфирного дальтонизма надо всего лишь напрячь свою интуицию и чувственную сферу. Тогда, перешагнув границы одномерного в эфирном смысле вещественного мира, на каждом лабораторном столе, в любом движении вы откроете для себя уди­вительную и совершенно не изученную новую физическую реальность. Непо­нятно, почему научную элиту всех стран устраивают идеи примитивного материализма, почему ее завораживает, восхищает иллюзия простоты и мощи лег­ко управляемой технократической колесницы, которая катится в пропасть? Однако и легковерие в реализации безопасных нетрадиционных технологий не менее удивительно, потому что эту проблему нельзя решить, не создав высшую физику мироздания, один из законов которой обсуждался в данной статье.
   Автор выражает глубокую благодарность сотруднику ГАО РАН в Пулково А.А. Шпитальной за активное сотрудничество в изучении корреляции солнечной активности с процессами в Центре Вселенной.
  

ЛИТЕРАТУРА

  
      -- Ильин В.И. Физика за гранью фантастики. - М., 1999. - 104 с.
      -- Мишин А.М. О новых свойствах физического вакуума, гравитационного поля и массы. - МО СССР, 1988. - 44 с.
      -- Mishin A.M. The Ether Model as Result of the New Empirical Conception. New Ideas in Natural Sciences. (On materials International Conference). Part I "Physics". - St.-Peters­burg:RAS, 1996, p. 95-104.
      -- Мишин А.М. Экспериментальные доказательства гидродинамических свойств эфира. Вестник "Международная академия". - СПб.: МАИСУ, 2000, N 1-4с, с. 9-17.
      -- Мишин А.М. Новые свойства и возможности автоколебательной системы // "Физическая мысль России", 1998, N1, с. 33-35.
      -- Шноль С.Э. и др. Дискретные спектры амплитуд (гистограммы) макроскопических флуктуаций в процессах различной природы. - Пущино: Б.И.,1985. - 39 с. - (Препринт/ИБФ АН СССР).
      -- Мишин А.М. Фундаментальные свойства эфира. В сб. Фундаментальные проблемы естествознания. Серия "Проблемы исследования Вселенной", вып. 21, том 1. - СПб.: РАН, 1999, с. 176-178.
      -- Мишин А.М. Физика параллельных миров. Материалы Международного конгресса-2000 "Фундаментальные проблемы естествознания и техники" (тезисы докладов). - СПбГУ, 2000, с. 41.
      -- Мишин А.М. Экспериментальные доказательства гидродинамической модели эфира (эфирная сила Магнуса). Материалы Международного конгресса-98 "Фундаментальные проблемы естествознания" (тезисы докладов). - СПб.: РАН, 1998, с. 140-141.
      -- Ацюковский В.А. Общая эфиродинамика, - М.: Энергоатомиздат, 1990. - 280 с.
      -- Mishin A.M. Gravitation Electrical Effect. III International Symposium "Hydrogen Power", Theoretical and Engineering Solutions. Abstracts of the special Section. - St.-Petersburg State University, 1999, p. 221.
      -- Козырев Н.А. Избранные труды. - Л.: Изд-во ЛГУ, 1988. - 448 с.
      -- Квартальнов В.В., Перевозчиков Н.Ф. Открытие нефизической компо­ненты излучения ОКГ // "Парапсихология и психофизика", 1999, N 2 (28), с. 64-67.
      -- Бауров Ю.А. Структура физического пространства и новый способ по­лучения энергии. - М.: Изд-во "Кречет", 1998. - 240 с.
      -- Шпитальная А.А., Ефимов А.А., Заколдаев Ю.А. Роль бауровской силы в природных взаимодействиях. В сб. Фундаментальные проблемы есте­ствознания. Серия "Проблемы исследования Вселенной", вып. 21, том I. - СПб.: РАН, 1999, с. 162-168.

Пулковский радиотелескоп принимает сигналы из
Центра Вселенной

  
   В статье [1] сообщалось, что открытие основного закона эфиродинамики позволило определить координаты Центра Вселенной (ЦВ). Это область Метагалактики в направлении между созвездиями Пегас и Лебедь с координатами во второй экваториальной системе: прямое восхождение ? =330® и склонение ? = 25®. Также было обнаружено, что ЦВ спорадически интенсивно излучает волны-частицы неизвестного происхождения, которые по своим характеристикам более всего соответствуют мощным нетрадиционным (эфирным) возмущениям в широкой полосе вихревого спектра. С марта 2001 контроль данного излучения осуществлялся с помощью лабораторного прибора с искусственным биополем, принцип работы которого основан на использовании многомерных свойств мирового эфира [2].
   В октябре 2001, по предложению А.А. Шпитальной, в расчетное время был включен большой радиотелескоп ГАО РАН в Пулково. И вновь открытие подтвердилось - радиотелескоп зарегистрировал нетрадиционные сигналы из ЦВ!
   Для доказательства не электромагнитной природы принимаемых волн, облучатель антенны был герметично закрыт массивной металлической крышкой, что никак не отразилось на избирательных свойствах антенны и величине принимаемого сигнала. Таким образом, было доказано, что в этом эксперименте волновые физические процессы аналогичны тем, которые профессор Козырев Н.А. изучал на оптическом телескопе [3].
   Пока остается загадкой одно важное обстоятельство. Приборы с искусственным биополем содержат специальные элементы для поддержания нужного режима работы [2]. Каким образом обычный радиотелескоп оказался способным выполнять те же функции? Как в наиболее чувствительном приемном канале на длине волны 20 см создается искусственное биополе, существование которого подтверждено специальными экспериментами? Исследования в данной области продолжаются.
   В публикации [1] сообщалось также, что всплеск излучения ЦВ сопровождается последующим повышением активности Солнца. Этот факт подтверждают приведенные ниже результаты астрофизических наблюдений.
   На рисунке 1 график а соответствует нормированному по амплитуде нетрадиционному сигналу из ЦВ, зарегистрированному радиотелескопом на волне 20 см при закрытом рупоре в декабре 2001 года (по горизонтальной оси отложены числа месяца на 00 часов). График в показывает изменение потока излучения Солнца на волне 4,4 см, принятого радиотелескопом в стандартном режиме. В данном случае, как следует из сравнения графиков, корреляционный сдвиг по времени равен примерно 2 суткам.
  


   Рисунок 1
  
   Соответствующие состояния солнечной короны изображены на рисунке 2, где а) - невозмущеннёая корона, и в) - корона после воздействия эфирной ударной волны. На втором изображении видно, что возбуждение произошло со стороны прихода волны из ЦВ, то есть на диске Солнца слева внизу. Замечено, что в последующие дни это возбуждение переходит на все видимое полушарие Солнца. Повышение активности нашей звезды отразилось также на числах Вольфа; в данном случае зафиксирован рост числа от 160 до 290.
  



   а) б).
  

Рисунок 2

   Приведенные документальные материалы подтверждают реальную возможность краткосрочного прогноза солнечной активности, что важно для служб предупреждения о природных катаклизмах на Земле и в космосе.
   Несколько лет назад на примере Северо-западного региона России было установлено, что развитие активных областей на Солнце коррелировано с атмосферной циркуляцией и, следовательно, с метеорологической обстановкой. На этой основе создана методика, повышающая надежность метеопрогнозов [4]. Аналогичные методики могут быть разработаны для прогноза биосферных и других аспектов солнечно-земных связей.
  

ЛИТЕРАТУРА

  
      -- Mishin A.M. The main principle of etherodynamics // "New Energy Technologies". - SPb: Faraday Lab Ltd, 2001, N2, p. 32-36.
      -- Mishin A.M. The physical System of Artificial Biofield // "New Energy Technologies - 2001, N1, p.45-50.
      -- Козырев Н.А. Избранные труды. - Л.: Изд-во ЛГУ, 1988. - 448 с.
      -- Петрова Н.Г., Цыркунов B.C., Шпитальная А.А. Проверка метода корректировки краткосрочного прогноза погоды по наблюдениям радиоизлучения Солнца. В сб. Новые идеи в естествознании. Серия "Проблемы Исследования Вселенной", вып. 19. - СПб.: РАН, 1996, с. 414-422.
  

Продольный термомагнитный эффект

  
   На основании ранее открытых законов эфиродинамики предсказано теоретически и подтверждено экспериментально явление анизотропии теплопроводности проводников вдоль силовых линий магнитного поля. При нагревании средней части металлического магнита до 20% общего теплового потока направляется к южному полюсу. Предполагается, что этот эффект объясняет естественнонаучный факт тепловой асимметрии полушарий Земли и Солнца.
  
   В современной физике известен термомагнитный эффект, характеризующий поведение теплового потока в твердом проводнике, помещенном в постоянное магнитное поле. Это эффект Риги-Ледюка, состоящий в том, что в проводнике с перепадом температуры, помещенном в перпендикулярное тепловому потоку магнитное поле напряженностью
, возникает вторичная разность температур в направлении, перпендикулярном первичному тепловому потоку и полю
. Эффект объясняется действием силы Лоренца на движение носителей тока в магнитном поле. Подчеркнем, что указанное физическое явление наблюдается в плоскости, перпендикулярной вектору
, и в этом смысле не только это, но и все известные гальваномагнитные и термогалъваномагнитные явления можно назвать поперечными, впрочем, как и всю классическую электродинамику.
   Однако в 1988 г. появилась публикация [1] с описанием продольного гальваномагнитного эффекта, предполагающего взаимодействие электронов с магнитным полем вдоль линий
. Автор публикации с помощью чувствительного микроамперметра обнаружил устойчивый в среднем электрический ток между полюсами электропроводящего подковообразного магнита (северный полюс имел отрицательную полярность, а южный - положительную).
   Попытка воспроизвести это явление в моей лаборатории дала отрицательный результат. Может быть, сложности с повторением и стали причиной того, что очень важный для теоретической физики опыт А.К. Сухвала не нашел должного отклика в официальных научных кругах. Впрочем, не менее существенные результаты Г.В. Николаева, изучавшего продольные электромагнитные эффекты [2], также были проигнорированы.
   Особый интерес к продольным гальвано- и термомагнитным явлениям возник у меня после того, как удалось разобраться в тонкой эфиродинамической структуре магнитного поля, опираясь на фундаментальные свойства эфира и основной закон эфиродинамики [3-5] . Из моей теоретической модели следовало, что любая реальная электромагнитная система, включающая металлические проводники и магнитопроводы, т.е. твердые физические тела, является автономной системой в эфирном смысле со своим центром или осью гравитации. Следовательно, к эфирному многолучевому вихреволновому излучению, возбуждаемому электрическими токами, применимы понятия "правого" и "левого" при образовании квазивещественных (ян) и антиквазивещественных (инь) структур свободного эфира [5] . Важно уяснить, что речь идет о "топологических субгармониках" классических электромагнитных процессов, рождение которых тесно связано с атомно-молекулярной структурой обычного вещества.
   На рисунке 1 изображен отрезок цилиндрического проводника, по которому течет электрический ток (указано направление движения электронов). Внутри и в окрестности проводника возбуждаются следующие эфирные волны. Во-первых, совпадающая с направлением электронного тока продольная волна 1. Во-вторых, две поперечных волны 2 электромагнитного типа (электромагнитные волны в неклассическом подпространстве), распространяющиеся направо и налево под прямым углом к току электронов в противоположных направлениях и фазах. Эти волны образуют замкнутые кольцевые траектории вокруг проводника и самокомпенсируются. Главными оказываются продольно-поперечные волны 3, распространяющиеся под углом 45® к вектору тока: налево идет квазивещественная волна (ян), а направо - антиквазивещественная (инь). Такие волны образуют два пересекающихся под углом 90® винтовых потока, которые являются эфирным "фантомом" классического магнитного поля.
   Линии на рисунке 1 показывают только направления движения волн, которые в действительности заполняют все прилегающее пространство. Более слабые продольно-поперечные волны, распространяющиеся под другими углами, а также малоизученные волны в радиальной плоскости для упрощения модели здесь не рассматриваются.
  


Рисунок 1

  
   Если проводник намотан на ферромагнитный сердечник в виде соленоида, то автономный центр гравитации совмещается с осью магнитопровода. В этом случае продольно-поперечные волны совместно с продольной волной образуют единый вращающийся тороидальный вихрь, включающий два встречно направленных под 90® винтовых потока типа ян и инь, как условно изображено на рисунке 2. (На срезах проводника показано направление электронного тока). Получается вихревая система размером с соленоид из вложенных друг в друга тороидальных квазичастицы и антиквазичастицы. На рисунке 2 показаны границы результирующих потоков, хотя на самом деле это винтовые движения с угловым шагом 45®.
  


Рисунок 2

  
   Внутренняя структура (пространственно-временной спектральный состав) вихре-волнового тороидального винтового потока существенно различна в воздухе и в ферромагнетике, поэтому на границах полюсов возникают своеобразные потенциальные барьеры, легко контролируемые физикосенсорным методом. На северном полюсе с внешней стороны образуется избыток левовинтовых вихрей (инь), а на южном полюсе, напротив, избыток правовинтовых вихрей (ян). Естественно, наибольшая концентрация эфирного потока наблюдается внутри ферромагнитного сердечника. Поэтому в силу различия сущностей ян и инь намагниченный стержень для определенных физических процессов должен обладать анизотропией вдоль силовых линий
. Разумеется, эти свойства присущи и любому постоянному магниту.
   Подобные теоретические рассуждения послужили основанием для проведения лабораторных экспериментов с целью обнаружения указанной анизотропии. Причем не было повода предполагать, что магнит сам по себе может создавать значительную ЭДС или термопотенциал, но ожидалось, что пространственная эфирная анизотропия способна создать в намагниченном ферромагнетике асимметрию прямого и обратного теплового потока, созданного внешним источником энергии.
   Основной эксперимент заключался в следующем (рисунок 3). Подковообразный металлический магнит с напряженностью около 400 Э (от магнетрона ИМ-58), лежащий на лабораторном столе, нагревался в средней части до температуры ТМ = 30®...40® по Цельсию с помощью проволочного остеклованного сопротивления R = 2000 Ом. Через сопротивление пропускался пульсирующий ток от автотрансформатора, включенного в сеть переменного напряжения 220 В. Нагревающиеся приборы были удалены от магнита на расстояние более 1 м. Температура полюсов магнита ТN , ТS и средней части ТM измерялась термометром с точностью до 0,1®С. Помимо этого к полюсам магнита с помощью специальных железных башмаков прижимались концы термопары с чувствительностью 0,3 мВ на градус, электрическое напряжение с которой подавалось на самопишущий микроамперметр Н399.
  


Рисунок 3

  
   Первые эксперименты показали удивительные результаты. При температуре в лаборатории ТЛ= 20®С и нагреве средней части магнита до 40® разность температур между северным и южным полюсом составила ?Т = =ТS -ТN> 1®С с потоком тепла в сторону южного полюса.
   Для оценки величины продольного термомагнитного эффекта был введен коэффициент тепловой асимметрии (КТА), слабо зависящий от температуры окружающей среды:


,
,

   где ТS, TN - температуры южного и северного полюсов магнита, ТM - температура средней части магнита, а ТC - средняя температура полюсов.
   Для ТM = 40® и устойчивых в первые дни значений TN = 34,5® и ТS = =35,5® получена ТC = 35® и


.

   Различие в тепловых потоках, идущих к магнитным полюсам, оказалось 20%, а в отдельных случаях достигало 30%! На рисунке 4 приведена осциллограмма величины ?Т = =ТS -ТN , где изменение знака сигнала получено путем переворачивания термопары через каждый час, что равносильно смене полюсов магнита. Заметим, что интенсивность других сверхфизических явлений за 3 часа падала в два раза [6].
  


Рисунок 4

  
   На второй неделе экспериментов изучаемый эффект стал менее устойчив. Установлено, что на величину оказывают влияние вспышки на Солнце (возмущения в центре Вселенной [5]) и магнитные бури, а также анизотропия пространства, изменяющаяся при неподвижном магните за счет вращения Земли.
   Продольный термомагнитный эффект своим существованием подтверждает, что вихре-волновые структуры свободного эфира, описанные в начале статьи, оказывают существенное влияние на перенос тепла в теле металлического магнита вдоль силовых линий магнитного поля (по вектору
), т.е. квазивещественные частицы ян и инь способны прямо или косвенно взаимодействовать с электронами и влиять на процесс теплопереноса.
   Новые термодинамические процессы качественно отличаются от классических как зависимостью от внешних космофизических факторов, так и особой лабораторной спецификой. Например, установлен аномальный факт временной полной потери чувствительности термопары (исчезновение эффекта Зеебека!) при длительном контакте с полюсами нагретого магнита. Термоэлектроды с чувствительностью 0,3 мВ на градус после удаления магнита около минуты не реагирует на перепад температуры даже в 10® (пределы шкалы прибора, Н399 0-1 мВ). На величину эффекта влияет гальваническое закорачивание полюсов магнита любым проводником. Характерно, что в ферритовых диэлектрических материалах, помещенных в магнитное поле, асимметрии теплового потока не наблюдается.
   Градиент температуры в теле металлического магнита должен создавать разность электрических потенциалов между северным и южным полюсом по типу эффекта Томсона. Этот новый термогальваномагнитный эффект ждет своих исследователей. При этом отрицательный потенциал должен быть у северного полюса, как и в эксперименте А.К. Сухвала, который, возможно, наблюдал именно этот эффект.
   Подводя итог лабораторным экспериментам, приводим формулу открытия:
   Экспериментально установлено неизвестное ранее явление несимметричного распространения теплового потока в направлении полюсов металлического магнита (электромагнита) при нагревании его средней части, при этом южный полюс нагревается больше северного. Таким образом, теплопроводность магнита или проводника, помещенного в магнитное поле, зависит от направления теплового потока вдоль поля
.
   Новое явление названо продольным термомагнитным эффектом (продольным к силовым линиям магнитного поля).
   В прикладных задачах новый термомагнитный эффект дает техническую возможность управлять определенной частью теплового потока в электропроводящих материалах с помощью магнитного поля. Для выяснения конкретных условий использования открытия, его технической и экономической целесообразности необходимо выполнение специальных исследований. Может оказаться, что указанный эффект наиболее перспективен в роли детектора нетрадиционных возмущений эфира. Наконец, просто важно знать, что такое физическое явление в природе и технике существует, чтобы учитывать его влияние на традиционные процессы. Существенно, что аномальное поведение термопотоков в магнитном поле наиболее устойчиво из всех изученных сверхфизических явлений.
   В мировоззренческом плане не менее актуален и перспективен другой результат. Эффект асимметрии в распространении тепловых потоков должен наблюдаться в теле Земли и на других небесных телах, обладающих магнитным полем. Если в центре Земли, действительно, имеется железное ядро, то Земля-магнит имеет много общего с нашей лабораторной моделью. В результате северный географический полюс, соответствующий южному физическому, должен быть теплее южного, что и наблюдается в действительности. Известно, что геофизический экватор смещен к северу на 6® относительно геометрического экватора и северное полушарие отличается большей вулканической активностью. Следует ожидать, что концентрация сущности ян и положительного электрического потенциала на северном полюсе Земли окажутся причастными к природе северных сияний. В перспективе на основе открытого эффекта могут быть разработаны методы прогноза тенденций изменения широтных тепловых потоков.
   Астрофизические наблюдения показывают [7] , что северное и южное полушария фотосферы Солнца также имеют не одинаковую температуру (дифференциал яркости) особенно в периоды повышенной солнечной активности. Это различие по дифференциалу яркости достигает в максимуме 15%, а по разности температур превышает 150®. В работе [7] отмечается неустойчивый характер наблюдаемых процессов, но не рассматривается связь с магнитным полем Солнца.
   Открытый эффект в совокупности с другими экспериментальными результатами [6,8] служит основанием для одного очень важного наблюдения. Планета Земля как цельная эфирная система, аналогична описанному выше соленоиду (магниту), так как содержит два реально наблюдаемых пространственно совмещенных тороидальных винтовых вихря, потоки которых пересекаются под углом 90®. На поверхности земли вихре-волновой поток ян направлен с юго-запада на северо-восток, а поток инь - с северо-запада на юго-восток. Естественно, существует и продольная волна с запада на восток, и поперечная волна, - все в полном соответствии с основным законом эфиродинамики [5] . Эмпирически подтверждается, что "интерференция" эфирных волн создает на земной поверхности устойчивую вихревую решетку из повторяющихся в шахматном порядке стержневых вертикальных вихрей с противоположным направлением вращения, известную в "метафизических" публикациях под названием сетки Хартмана.
   В работе [5] было сделано обобщение этого явления на всю пространственно-временную (масштабную) иерархию эфиродинамических систем, т.е. на звезды, галактики и Вселенную в целом. Но логично распространить такое обобщение и в сторону меньших масштабов. Справедливость такого хода рассуждений снова подтверждает эмпирический факт, - существование "сетки Хартмана" на теле человека в виде хорошо изученной китайско-индийской системы акупунктурных точек и чакр. Следовательно, соленоид и постоянный магнит также должны обладать стабильной и характерной для этих систем вихревой решеткой.
   Автором этой статьи экспериментально доказано, что в узлах сетки Хартмана сверхфизические системы работают более устойчиво. Отсюда следует, что эффективный детектор нетрадиционных эфирных волн создаст тот, кто обнаружит "акупунктурную" систему вихрей на теле постоянного магнита (электромагнита) и научится ее использовать. Только через эту устойчивую структуру макровихрей можно установить детерминированную связь между вещественным миром и параллельными мирами, что наглядно демонстрируют биосистемы.
   Полученные результаты раздвигают границы современной теоретической физики, указывая на область высшей физики. Новый эффект доказывает, что стандартная модель электромагнетизма нуждается в основательном пересмотре, потому что при ее построении не учитывалась вихревая многомерность эфира. Наряду с физическим вакуумом существует свободный эфир, который потому и назван свободным, что на него в отличие от вещественного уровня не оказывается фрактального "давления" со стороны нашей Галактики. По этой причине свободный эфир, представленный макроскопическими структурами, ведет себя по отношению к вещественному миру как "фантомная", виртуальная среда, не проявляющая устойчивых инерционных свойств в нашей лаборатории. Именно этим объясняется существование энергоинформациоиного барьера между разномасштабными сущностями мирового эфира.
   В заключение еще раз подчеркнем, что мои сверхфизические опыты в отличие от явлений и законов элементарной физики относятся к "мерцающей" физике свободного эфира, представленной в вещественном мире известным явлением фликкер-щумов. Случайный характер последних объясняется совокупным действием "мерцающих" явлений, характеризующих взаимодействие сверхтекучей среды с объектами обычного мира.
   Описанная выше лабораторная установка с магнитом демонстрирует один из видов нетрадиционного взаимодействия. Увеличение размеров магнита может пропорционально увеличить среднее значение КТА, что вытекает из главной особенности фликкер-шумов (рост интенсивности с увеличением временного периода и пространственного масштаба процесса).
   Элементарная научная логика вынуждает признать, что для объяснения продольного термомагнитного эффекта помимо микроскопических структур эфира в виде "физического вакуума" требуются вихре-волновые сущности других пространственно-временных уровней, условно названные "топологическими субгармониками" классических вещественных процессов. Непонятная для ортодоксов природа фликкер-шумов объясняется влиянием указанных сущностей на наш мир (для механических явлений пятая физическая сила), а открытый термомагнитный эффект является наиболее прозрачным окном в новую физическую реальность.
   Как бы ни хотелось "элитарной" науке отсидеться в уютной нише примитивного материализма, эволюция неизбежно раздвинет горизонты познания и зажжет на небосклоне естествознания божественную радугу иных миров.
  
  

ЛИТЕРАТУРА

  
      -- Сухвал А.К. ЭДС на полюсах // Химия и жизнь, 1988, N 3, с. 27.
      -- Николаев Г.В. Современная электродинамика и причины ее парадоксальности. Деп. рукопись N 8610-В86. - М.: ВИНИТИ, 1986. - 148 с.
      -- Мишин А.М. Фундаментальные свойства эфира. В сб. Фундаментальные проблемы естествознания. Серия "Проблемы исследования Вселенной", вып. 21.- СПб.: РАН, 1999, с. 176-178.
      -- Мишин А.М. Физика параллельных миров. В сб. Фундаментальные проблемы естествознания и техники. Серия "Проблемы исследования Вселенной", вып. 23.- СПб.: СПбГУ, 2001, с. 258-269.
      -- Mishin A.M. The main principle of etherodynamics // "New Energy Technologies". - SPb: Faraday Lab Ltd, 2001, N2, p. 32-36.
      -- Mishin A.M. The physical system of artificial biofield // "New Energy Technologies". - SPb: Faraday Lab Ltd, 2001, N1, p. 45-50.
      -- Калиняк А.А. Дифференциальные спектрофотометрические измерения яркости и температуры фотосферы Солнца. В сб. Некоторые вопросы физики Космоса, вып. 2.- М.: ВАГО, 1974, с. 33-44.
      -- Mishin A.M. Antigravitation and new energy processes // "New Energy Technologies". - SPb: Faraday Lab Ltd, 2001, N2, p. 37-41.
  
   Вселенная, как "жернов", вращается, опираясь
   на "твердое" ложе расслоенного пространства,
   и "мелет" из эфира фрактальные вихревые
   структуры, из которых строятся вещественные
   и живые миры по законам, известным только
   Создателю.
  
   Автор
  

Эфир как единое поле

  
   На основе оригинальных наблюдений и экспериментов даны уточнения ранее разработанной модели эфира. Рассмотрены общие законы эфиродинамики Вселенной. Описана новая физическая реальность в виде квазивещественных эфиродинамических структур ("топологических гармоник"), порождаемых динамикой вещественного мира.
   Mishin A.M. On the basis of original observations and experiments the more accurate definitions before designed model of ether are given. The common laws of etherdynamics of the Universe analyzed. The new physical reality as quasimaterial etherdynamic structures ("as topological harmonics") generated by dynamics of a material world is described.
  
   На современном этапе развития физики и становления концепции высшей физики особую актуальность приобрета­ют слова английского философа Моэма: "Великие истины слишком важны, чтобы быть новыми". И действительно, мы все больше убеждаемся в том, что наши далекие предки были знакомы с фундаментальными законами миро­здания, более того, они знали эти законы лучше нас. Но какой методоло­гией познания Природы, какими источниками информации владели древние ученые? Сегодня можно открыто сказать: они владели не только обычным, но и эзотерическим, сверхчувственным опытом, не испытывая необходимости делиться на материалистов и идеалистов. Более подробные сведения об эволюции физических идей можно найти в работе [1] .
   Открывая все заново, мне тоже пришлось разработать методику "кле­точного осязания" (физической сенсорики), которая позволяет чувственно воспринимать и оценивать важнейшие характеристики эфиродинамических процессов. Главное в том, что все мои сенсорные наблюдения однозначно воспроизводятся в лабора­торных экспериментах с использованием простейшего физического оборудо­вания.
   Достоверные знания о Природе мы можем получить только от самой При­роды. Поэтому фундамент классической физики, описывающей обычный веще­ственный мир, также построен на эмпирических фактах, изученных Галиле­ем, Ньютоном, Фарадеем и многими другими физиками-натурфилософами. И хотелось бы защитить великого Ньютона от нападок за его приверженность индуктивным методам, которые и привнесли в науку непреходящие ценности.
   Новый виток познания возможен при условии введения в науку новых понятий, базирующихся на эмпирическом изучении неизвестных ранее физи­ческих сущностей. В связи с этим мне очень близка мысль профессиональ­ного математика Елены Вентцель: "Математические методы не полезны, а вредны до тех пор, пока явление не освоено на доматематическом, гумани­тарном уровне". Только на идейно-логическом языке сегодня и можно об­суждать проблему эфира, решение которой требует осмысления естествен­нонаучных фактов, лежащих за пределами традиционных веками устоявшихся представлений.
   Проведенные многолетние исследования подтвердили, что исчерпывающее определение фундаментальной природной сущности дано Рене Декартом: "Во Вселенной нет ничего, кроме эфира и его вихрей". Это не простой постулат, а объективный итог эмпирических наблюдений явлений Природы. В любой академической модели микромира без ответа остается вопрос: из какой субстанции "сделаны" электроны, кварки, струны? Вот эту субстан­цию с древнейших времен наши предшественники назвали эфиром. Эфир и есть единое поле; и выходит, Эйнштейн почти всю жизнь искал то, что лежало у него под ногами. В этой статье на основе оригинальных экспериментов [2-6] предпринята попытка создания качественной, но близкой к реальности модели Единого Поля Эфира (ЕПЭ).
   Необходимо признать, что невозмущенного, неподвижного эфира в При­роде не существует, как не существует вихрей нулевых размеров. Поэтому в привычном смысле понятие эфира вытесняется за трансцендентный гори­зонт и превращается в некую непостижимую сущность, таинственность которой равносильна религиозным представлениям. Но материальными, содержащими энергию в научном понимании являются все квантовые вихре-волновые воз­мущения сверхтекучего трехмерного эфира, имеющие вид торов, нитей, солитонов и занимающие пространственно-временной спектр от нуля до масштабов Вселенной. Материальны любые пространства в виде турбулентных и регулярных вихревых полей: физический вакуум и другие подпространства, гравитационные поля и, конечно, вещество, - все это эфиродинамические структуры реального мира. Пространст­венную иерархию вихрей эфира называют квантовой лестницей, фрактальной структурой или "матрешкой" [4].
   Для понимания основных законов эфиродинамики необходимо дать общее определение классического вещества и других состояний эфира. В первом приближении назовем классическим веществом эфирные микроскопические правововинтовые автоколебательные вихре-волновые системы (элементарные частицы), существование и параметры которых обусловлены вышестоя­щими иерархическими системами. Это наш проявленный мир с его электро­магнитными, гравитационными полями и фундаментальными константами. Свободным эфиром на­зовем вихре-волновые структуры любого вихревого размера, которые в рас­сматриваемой области пространства уравновешены по количеству лево- и правовинтовых вихрей, соответствующих веществу и антивеществу с прис­тавкой "квази" (в том числе и протовеществу - невозмущенному пространству). Это могут быть и устойчивые вихревые решетки с череду­ющимся направлением спиральности или переменой знака момента импульса. К свободному эфиру в естественных условиях относятся все материальные формы, которые не являются классическим вещественными образованиями и аналогичными фракталами в параллельных мирах.
   Особое свободное подпространство созда­ет совокупность топологических гармоник [5], сопровождающих все физические процессы. Промежуточное положение занимает так называемый физический вакуум и сопутствующие гравитации вихревые поля, представляющие "напряженные" нелинейные подпространства, заполненные протовеществом и занимающие определенные места на пространственно-временном спектре мирового эфира. Эфирный спутник гравитационного поля выделен потому, что относится к особому классу устойчивых анизотропных вихревых решеток.
   Очевидно, в общем случае энергия свободного эфира виртуальна для нашего мира по причине его спиральной симметрии, скомпенсированного момента импульса и квазивещественности в смысле отличия от нашего микромира по размерам характерных вихрей. Но дело не только в этом. Есть еще сверхтекучесть эфира, вихревая вязкость которого обладает удивительными свойствами. В результате создаются феномены "мерцающей" инерции и эне­ргоинформационного барьера, отделяющих наш вещественный мир от постоянного воздействия квазивещественных структур, или турбулизованного многомерного простран­ства.
   Классическая инерция как вихревая вязкость возникает в микроскопи­ческом и более тонкоструктурном ньютоновом пространстве и всегда закономерно проявляет себя при ускорении вещественных тел. Но совершенно другая картина наблюдается на этажах свободного эфира, где инерция обладает свойствами адаптации. Речь идет о взаимодействии вещества нашего мира с квазивеществом параллельноых подпространств.
   Да, здесь утверждается, что явление инерции присуще всему пространственно-временному спектру вих­ревого эфирного поля, но с переменой ее характера при изменении размеров вихрей. В "топогармоническом" подпространстве в лабораторных масштабах инерционный закон в каждом опыте "убывает" во времени по экспо­ненциальной зависимости, постоянная времени которой определяется кон­кретными условиями и изменяется в широких пределах (от секунд до многих суток). По истечении этого времени инерционное и другие виды взаимодействий переходят в закон фликкер-шумов. Можно сказать, что фликкер-шумы характеризуют проницаемость энергоинформационного барьера по истечении времени сверхфизического закономерного явления [6]. Таким образом, бСльшую часть времени взаимодействие нашего мира со свободным макроэфиром через пятую физическую силу имеет случайный характер и должно оцениваться по среднему значению. То же самое можно сказать о взаимодействии с наномиром через "нулевые колебания вакуума".
   Для расширения понятийных рамок нашего исследования можно добавить, что в классической гидродинамике жидкость наряду с обычной инерцией об­ладает детерминированной вихревой макроинерцией, которую создают вихри самой жидкости. Поэтому необходимо постоянно сравнивать процессы на всех уровнях единого поля эфира. Например, специфической инерцией явля­ется электрическая индуктивность, а топологические гармоники как особые фракталы электро­магнитных и других явлений также подчиняются энергоинформационному барьеру (проверено в условиях лаборатории).
   В вышеприведенных рассуждениях подспудно, неосознанно присутствует принцип относительности, который в рамках высшей физики необходимо рассматривать в многомерном варианте. Но этот непростой вопрос требует отдельного рассмотрения. Однако устойчивость обычного закона инерции можно объяснить тем, что классические элементарные частицы, обладающие автоколебательными активными свойствами, соизмеримы с вихрями окружающего физического вакуума и упомянутый выше энергоинформационный барьер на микроскопическом участке спектра для них не существует. Тем более, суть самого барьера сводится к "запоминанию" гравитационными полями Земли и лабораторным оборудованием сверхфизических процессов. Подпространство физического вакуума такой "памятью" не обладает.
   На рисунке 1 изображены графики спектральной плотности энергии вихрей, скорости передачи взаимодействия v и круговой частоты
в зави­симости от размеров вихрей мирового эфира
(в пикометрах). Как видим, скорость распространения возмущений v равна скорости света
в физичес­ком вакууме, т.е. в размерах электрона, превышает
в наномире и стре­мится к нулю в сторону мегамиров. Аналогичную качественную зависимость имеет круговая частота вращения вихрей (частота "вибраций") и ход физического времени. Одна­ко энергия
вихрей имеет особенность и растет в обе стороны от лабора­торных масштабов. Номера эфиров присвоены условно, однако указан­ные фазовые состояния отражают физическую реальность. Не указанный на графике эфир-5 соответствует свободному эфиру.
  
  

Рисунок 1

  
   Один из наиболее сложных вопросов - это определение материи вихря в каждом конкретном случае. Приведенный график отражает энергию эфира в виде вихре-волновых структур (простейших виртуальных частиц-вихрей), а энергия классических элементарных частиц как спирально однозначных автоколебательных выбросов эфирного поля ло­кализована в наиболее нелинейном подпространстве (физическом, или "веще­ственном" вакууме). Объединение элементарных частиц в атомы и макротело не означает прямого перехода в параллельный мир с другими фундаменталь­ными константами, тогда как изменение размера вихря на графике спектра подразу­мевает именно такой переход, пусть на уровне квазивещества. Это очень сложный и существенный момент. Например, звезда, безусловно, является эле­ментарной частицей соответствующего уровня мироздания, хотя имеет в своем составе обычное вещество.
   Левое крыло энергетического спектра отражает свойство турбулентного поля эфира тяготеть, оседать на "дно", передавая энергию вихрям меньших масштабов. Это явление распределенной "гравитации" присутствует в каж­дой точке пространства и объясняет принцип наименьшего действия. Нагля­дным аналогом этой закономерности является гравитационное поле и строе­ние Земли. В центре планеты находится плотная плазма, принимаемая за железное ядро, выше - магма, твердая кора, вода и воздух. Эти фазовые состояния существуют и в свободном эфире в масштабах Вселенной. Поэтому в фемтомире, а может быть, и более глубоком энерге­тическом "дне" должно быть плазменное подпространство (см. рисунок 1); и, по-видимому, не случайно в переводе с греческого эфир означает "огонь", "сияние".
   Рост энергии в правую сторону связан с расширением динамической по­лосы спектра вихрей с ростом масштаба. В нашем мире этот рост идет по закону фликкер-шумов, но это только то, что мы воспринимаем через энергоинформационный барьер. В действительности энергия вихрей на этом участке должна расти намного круче, так как наши наблюдательные возможности огра­ничены доступными (косвенными) вещественными процессами.
   Возвращаясь к звездам мож­но утверждать, что современная наука не в состоянии оценить их реальную энергию (оценки существенно занижены). Галактический вихрь увлекает в свое вращение такие глубокие уровни многомерного пространства-эфира, что это приводит к нарушению закона инерции Ньютона. Понятие "скрытой массы" не может объяснить все особенности динамики галактик. Необходимо учитывать, что в дифференциальное вращение вовлекается тонкоструктурный эфир (инер­ционное подпространство), и этот процесс приводит к уменьшению инерции и внешних центробежных сил.
   К сожалению, рисунок 1 отражает лишь характерный размер галактического вихря и воочию не демонстрирует его активную полосу спектра. В действительности спектры всех иерархических вихревых систем перекрываются, в то время как в реальном пространстве они дискретны и локализованы. На мой взгляд, это яркая демонстрация закона единства и борьбы противоположностей, когда законы едины как в масштабах ЕПЭ, так и в пространственно обособленных вихревых системах, входящих в состав ЕПЭ. Этот факт ранее был отражен в принципе автономности [3].
   Чем тоньше структура пространства, тем более оно инертно и ближе к абсолютной системе отсчета. Очевидно, для неодно­родного, стереодинамически многомерного и многофазного эфира требуется совершенно новая теория случайных полей, учитывающая также феномен ве­щественного мира. Тем самым обосновывается необходимость разработки математических аппарата высшей физики.
   Процессы перемещения энергии, или спектральные энергокаскады по оси абсцисс обладают необычными свойствами и имеют решающее значение для существования нашего мира и Вселенной. "Фиолетовый" каскад сопровождает­ся уменьшением размеров вихрей, поглощением энергии вещества и стреми­тся увеличить концентрацию энергии на "дне" мирового эфира (в плазменном подпространстве на рисунке 1). Эта закономерность, подтвержденная экспериментально и в пространственной, и во временной областях, - прямое следствие упомянутого выше явления распределенной гравитации и объясняет существование левого крыла спектра. В классической физике влияние "фиолетового" каскада от­ражено в принципе наименьшего действия и законах термодинамики.
   "Красный" энергокаскад (правое крыло спектра) соответствует увеличе­нию размеров вихрей и сопровождается выделением энергии. Для его запус­ка в земных условиях требуются специальные технологии [7] . Это подтверждено лабораторными экспериментами и лежит в основе теории "вечных" дви­гателей, перекачивающих энергию из наномира в классический вещественный мир. Разработанная мною концепция искусственного биополя [6] рассмат­ривает способы создания в физических системах эфирных вихре-волновых возмущений от микро- до макроскопических масштабов. По сути, речь идет о возбуждении и способах перераспределения энергии в естественном пространственно-временном спектре осевшего в себя эфира за счет создания подпространства топологических субгармоник классических элементарных частиц, атомов и молекул (физических тел) в рамках основного закона эфиродинамики [5].
   Правое крыло спектра даже в пределах действия флуктуирующего энергоинформационного барьера демонстрирует существование в Природе естественных процессов, как бы нарушающих известные законы термодинамики [8]. Но поскольку Природа не может себе противоречить, приходится признать, что в геофизических и бСльших масштабах "работает" другая, высшая физика, где роль энергоинформационного барьера требует переоценки. По-видимому, Вселенная как вихрь увлекает в свое вращение плазменное подпространство эфи­ра и все остальные фазы, а на участках наибольшего градиента плотности ("спектральной" нели­нейности) создаются условия для реализации "красного" энергокаскада и образования устойчивых форм вещества. Это вещество самой Вселенной, вещество галактик, звезд и нашего Мира, - всего четыре вида вещества и четыре наиболее энергичных мира по числу фазовых состояний, "стихий" эфира.
   Однако как рыба в океане не знает причину течений и штормов, так и мы никогда не узнаем, какая сила раскручивает маховик Вселенной, энергия которого питает эти вещественные миры. Я не знаю также, почему в эзотерической концепции рассматривается 7 качественных состояний эфира. По-видимому, это связано с ограниченными возможностями моего метода "физической сенсорики".
   Тем не менее, для начал высшей физики наиболее существенны две обобщенные компоненты поля эфира. Первая (левое крыло) располагается на спектре около "дна" в виде плотной "плазменной" и жидкокристаллической среды, переходящей в ньютоново инерционное подпространство и физический вакуум. Поскольку инерция также закономерна, как и электрическая индуктивность, подпространство физического вакуума (как и другие междуфазовые сечения спектра) оказывается особо материальным и не таким уж свободным, потому что ему присущи свойства, навязанные вращением Вселенной и распределенной "гравитацией".
   Вторая компонента эфирного пространства (правое крыло спектра) простирается от физического вакуума в сторону б?льших масштабов. За исключением известных космических объектов, это непо­знанный океан макровихревого истинно свободного эфира, или топогармоник, рождаемых динамикой вещественного мира. Экспериментально доказано, что топогармоники генерируются фотонами, электронами и всеми движущимися телами, включая космические [5,9].
   Вторая свободная компонента обладает способностью воздействовать обратно на поро­дившее её вещество, а также другие вещественные объекты через "мерцаю­щие" силы [10, 11] . Это особое подпространство оказывается дважды виртуальным, настоящим фантомом, поэтому оно с таким трудом завоевывает звание фи­зической реальности, хотя китайские философы знали о ней тысячи лет назад, выделяя сущности "ян", "инь" и др..
   Лабораторные эксперименты показывают, что топогармоники обладают не только свойствами, описанными в [5], но и способностью взаимодействовать с пространством, создавая по ходу распространения вихрей-волн статическую область возбужденного эфира, а вернее область, насыщенную квазивеществом. При этом "заряжаются" находящиеся в этом объеме пространства физические тела [2,9]. Указанная активная область (например, горизонтальная трасса) "сепарируется" гравитационным полем Земли: быстро оседает квазивещественная составляющая, образуя вертикальный поток, но некие "безваттные" фазовые структуры распадаются очень медленно (дни, месяцы, годы).
   Может быть, эти последние структуры, слабее других взаимодействующие с нашим Миром, образуют недостающие до 7 вещественные состояния эфира? Обращает на себя внимание и тот факт, что по основному закону эфиродинамики [5] также возбуждается 7 видов вихревых волн.
   Удивительно, что биосистемы в равной мере принадлежат обеим рассмотренным выше компонентам эфира, не испытывая ограничений со стороны энерго-информационного барьера. Так называемое биополе человека - это в первую очередь топогармоническая эфирная часть физического тела, занимающая свое место на пространственно-временном спектре (рисунок 1). Квазивещественная составляющая (ян) и антиквазивещественная (инь) строго уравновешены, а акупунктурные точки и чакры являются аналогом хорошо известной "сверхфизикам" геофизической сетки Хартмана. Однако в эзотерической литературе биополе человека описывается семью уровнями, перекрывающими обе компоненты спектра.
   Концептуальное обобщение физических идей в рамках единого поля эфира дает конструктивный познавательный импульс в решении проблемы выбора Природой исключительных законов существования "правовинтового" вещественного мира, а также перезревшей проблемы фликкер-шумов. При этом принципиальное значение имеет изучение физических процессов, отвечающих за положительный заряд протона.
   В заключение отметим условность деления эфирного поля на две компоненты по форме энергетического спектра, так как эта форма - результат неполноценного наблюдения со стороны нашего мира. Реальный вид спектра может быть совершенно иным. Кроме того, топогармоники генерируются веществом как в сторону бСльших пространственных частот (субгармоники), так и меньших (гармоники), и заполняют все уровни мироздания, образуя подпространства свободного эфира.
   Изложенное выше имеет целью сделать доступнее восприятие наиболее изученной стороны новой физической реальности, затуманенной многообразием гипотетических описаний в публикациях на эту тему.
  

ЛИТЕРАТУРА

  
      -- Смирнов А.П., Прохорцев И.В. Принцип порядка. - СПб: ЗАО "П и К", 2002. - 296 с.
      -- Mishin A.M. The ether model as result of the new empirical conception. New ideas in natural sciences. (On materials International Conference). Part 1 "Physical". - St.- Petersburg: RAS, 1996, p. 95-104.
      -- Мишин А.М. Фундаментальные свойства эфира. В сб. Фундаментальные проблемы естествознания. Серия "Проблемы исследования Вселенной", вып. 21. - СПб: РАН, 1999, с. 176-176.
      -- Мишин А.М. Физика параллельных миров. В сб. Фундаментальные проблемы естествознания и техники. Серия "Проблемы исследования Вселенной", вып. 23. - СПб: Изд-во СПбГУ, 2001, с. 258-269.
      -- Мишин А.М. Основной закон эфиродинамики. В сб. Фундаментальные проб­лемы естествознания и техники. Серия "Проблемы исследования Вселен­ной", вып. 26, ч. Ш.- СПб: Изд-во СПбГУ, 2003, с. 206-218.
      -- Мишин А.М. Физическая система с искусственным биополем. В сб. Фунда­ментальные проблемы естествознания и техники. Серия "Проблемы исследования Вселенной", вып. 23, - СПб: Изд-во СПбГУ, 2001, с. 258-269.
      -- Золотарев В.Ф., Рощин В.В., Годин С.М. О структуре пространства-вре­мени и некоторых взаимодействиях. - М.: Изд-во "ПРЕСТ", 2000. - 309 с.
      -- Старр В. Физика явлений с отрицательной вязкостью. - М.: МИР, 1971.
      -- Квартальнов В.В., Перевозчиков Н.Т. Открытие "нефизической" компонен­ты излучения ОКГ. Журнал "Парапсихология и психофизика". - М.: 1999, N 2 (28), с. 64-67.
      -- Мишин А.М. Продольный термомагнитный эффект. В сб. Фундаментальные проблемы естествознания и техники. Серия "Проблемы исследования Все­ленной", вып. 26, ч. III.- СПб: Изд-во СПбГУ, 2003, с. 219-228.
      -- Ефимов А.А., Шпитальная А.Д., Заколдаев Ю.А. Эруптивные протуберанцы и землетрясения с точки зрения глобальной анизотропии пространства. В сб. "Новые идеи в естествознании". Серия "Проблемы исследования Вселенной", вып. 19, ч. II. - СПб: РАН, 1996, с. 403-413.
  

Получено "темное" вещество, решающее космические проблемы

  
   Синтезировано устойчивое квазивещество ("темное" вещество), названное "эфиронием", путем слияния квазивещества и антиквазивещества. По основному закону эфиродинамики эти три исходные эфиродинамические структуры состоят из винтовых квантованных тороидальных вихрей, занимающих все масштабные уровни мироздания. Открытые физические сущности составляют основу возбужденного физического пространства и заключают в се6е более 90% энергии Вселенной.
  
   Высшая физика мироздания давно стучится в двери научных институтов. Астрофизические исследования все чаще доказывают ущербность концептуальных основ ортодоксальной физики. Началось с того, что классические законы механики не смогли объяснить устойчивость вращения галактических систем. Поправить положение пытались прибалтийские ученые, предположив существование в галактическом пространстве "скрытой массы" [1] . Затем начались проблемы с энергетическим балансом в масштабах Метагалактики. И теперь почти официально ведущие ученые РАН признают, что более 90% энергии Космоса содержится в "темном" веществе. Этим ученым придется снова уточнять содержание пространства-времени и выходить за рамки общепризнанной элементарной модели физического вакуума.
   Решение многих космических и, естественно, земных фундаментальных проблем физики намного проще, чем это представляется консервативно настроенным академическим лидерам. Достаточно оглянуться назад, на научные истины, установленные далекими предками. Принцип Великого Гермеса "как наверху, так и внизу" означает, что законы Космоса можно изучать в обычной земной лаборатории. Если добавить сюда древнюю философию Востока (Китая, Японии, Индии), то методология научного познания становится предельно ясной. Исходить надо из того, что пространство и объекты Вселенной есть Единое Поле Эфира, - топологически, стереодинамически и фрактально многомерной квантовой, сверхтекучей вихревой среды, свойства которой и следует изучать всеми доступными средствами (см. [2] и цитированную литературу).
   В декабре 1999 г. на рубеже тысячелетий, опираясь на эмпирические результаты, я сформулировал основной закон эфиродинамики [3] . Было установлено, что любой физический процесс, движение любой частицы или физического тела в гравитационных полях возбуждают 7 видов вихревых эфирных волн, включая квазивещественные и антиквазивещественные волны-потоки. (Термин "квазивещество" отражает факт, что вихрь эфира любой величины обладает свойствами вещества, т.е. имеет массу, но не всегда является жизнеспособной, долгоживущей системой [4]). В результате все земные и небесные тела, как морские ежи, окружены множеством узконаправленных "темных" квазивещественных лучей.
   Это был прорыв в изучении физических основ Мироздания. Стала понятной иерархическая система эфиродинамических структур Вселенной. Был обнаружен Центр Вселенной и определены его координаты [3]. С помощью прибора с искусственным биополем [4] установлено, что этот Центр очень активен и спорадически (средний период около недели) "вспыхивает", выбрасывая мощное излучение и управляя ходом физических процессов в Солнечной системе, а также во всей Вселенной [5,6] .
   Чтобы стало понятно, что такое не гипотетическое, а настоящее "темное" вещество и как оно получается в лаборатории, рассмотрим вначале излучение основных видов нетрадиционных волн с применением конкретного технического устройства. Например, электроннолучевой прибор (телевизор, монитор компьютера), изображенный на рисунке 1, является хорошим излучателем рассматриваемых волн и иллюстрирует важнейшее содержание основного закона эфиродинамики (картину главных волн в горизонтальной плоскости).


Рисунок 1

  
   Электронный луч в вакууме автоматически входит в режим искусственного биополя и излучает 4 наиболее интенсивных волны [3,4]: продольную (спиновое число S = 0), поперечную (аналог электромагнитной со спиновым числом S = 1) и две продольно-поперечные под углом 45® относительно продольной (спиновое число S = Ђ0,5). Продольно-поперечная волна, излучаемая влево по ходу движения продольной (в горизонтальной плоскости земного гравитационного поля!), является правовинтовой и особо вещественной (поток винтовых тороидов - аналогов электрона [7]), а излучаемая направо - левововинтовой и антиквазивещественной.
   Нет никакого сомнения, что древние китайские философы знали об этом и называли квазивещественную волну сущностью "ян", а вторую - сущностью "инь". Как будет ясно из дальнейшего изложения, эти волны-потоки могут существовать и в остановленном виде, т.е. в виде статического "облака", состоящего из тороидальных вихрей эфира соответствующих размеров и параметров.
   В мае 2002 г. я провел эксперимент по взаимодействию квазивещественной и антиквазивещественной волн, которые хотя и возникают в неклассическом вихревом подпространстве, все же близки по физической сути к волнам де Бройля. Схема эксперимента изображена на рисунке 2, где цифрами 1 и 2 обозначены генераторы (не электроннолучевые приборы), излучающие соответственно антиквазивещество и квазивещество, а под цифрой 3 изображено регистрирующее устройство.
   Поскольку я ожидал процесса аннигиляции, то был немало удивлен, когда обнаружил в месте смешения волн плотное, энергичное и устойчивое "темное" вещество, названное "эфиронием".
  


Рисунок 2

  
   По всем критериям эфироний является аналогом известного позитрония, но в своем подпространстве имеет б?льшее время существования. Он состоит из элементарных частиц, образованных из двух тороидальных вихрей противоположной спиральной направленности. Размеры эфирононов (частиц эфирония) могут быть различными на квантовой "лестнице" и зависят в лабораторном эксперименте от вещества излучателя и от частоты колебаний возбуждающего эфир процесса или скорости тела (электронов в пучке).
   Первый пространственный канал, заполненный эфиронием, был получен на частоте электрической сети 50 Гц с медным излучателем и оказался очень плотным и устойчивым по сравнению с исходными волнами. Я опасался вредных последствий от воздействия неизвестной физической сущности и стал искать средства ее уничтожения. Благодаря многолетнему опыту, быстро удалось установить, что эфироний, полученный в данном режиме, "сгорает" в открытом пламени свечи. Более того, канал эфирония диаметром 7-9 см загорелся, как бикфордов шнур, со скоростью около 15 см в минуту. Это была первая самоподдерживающаяся реакция горения нетрадиционного вещества!
   Когда "темное" пламя дошло до места, где стоял выключенный генератор 1 на рисунке 2, раздался бесшумный взрыв, заполнивший пространство лаборатории неизвестным "темным" излучением, которое относительно быстро рассеялось.
   Все эти процессы я контролировал физикосенсорным методом, достоверным на 100%. Кроме того, было получено документальное подтверждение этого опыта с помощью прибора с искусственным биополем [4]. Это прибор 3 на рисунке 2, зафиксировавший "взрыв" эфирония, показанный на графике рисунке 3.
  


Рисунок 3

  
   Несмотря на принятые меры, через пару часов у меня подскочило верхнее кровяное давление, хотя до этого не было склонности к гипертонии. Я уничтожил генератор "темного" вещества и решил не публиковать результаты этих опытов, рассказав о них только А.В. Фролову, проф. А.П. Смирнову и А.А. Шпитальной.
   Но прошло время, и захотелось узнать свойства эфирония в более широком диапазоне пространственно-временных частот и других режимах генерации. Вместе с тем, стало ясно, что "темное" вещество естественным путем образуется в природе. И действительно, облака эфирония регулярно возникают на поверхности земли, особенно во время гроз и солнечных вспышек, а из Космоса постоянно течет его поток к центру Земли, являясь основным источником энергии для ионосферы. По-видимому, еще более интенсивные потоки эфирония, существующего в более тонком подпространстве, притягиваются Солнцем и сгорают в его короне.
   Горючий эфироний, полученный в первом опыте особым способом (схема на рисунке 2 демонстрирует только идею опыта), оказался для меня удачным исключением, так как другие виды "темного" вещества к самоподдерживающейся реакции горения не способны.
   Картина эфирных вихревых волн, показанная на рис. 1, отражает процессы возбуждения эфира в гравитационном поле Земли. Но аналогичные волны формируются колеблющимся и движущимся телом в гравитационных полях Солнца, Галактики и Вселенной. В вертикальной плоскости квазивещественные волны направлены вниз под углом 45®, а антиквазивещественные - вверх под тем же углом. Все вихревые эфирные волны обладают удивительным свойством: они возбуждают неоднородную, анизотропную эфиродинамическую структуру гравитационного поля Земли, оставляя после себя свое стационарное подобие в виде пространственного канала, заполненного соответствующим квазивеществом. Подобный "след" оставляет и лазерный луч, и электромагнитные волны более низких частот во всех гравитационных полях Вселенной.
   Вращение Земли частично "размывает" образовавшиеся каналы, действует на них и гравитационное поле. Квазивещество и эфироний (более устойчивый и плотный) медленно уходят к центру Земли, встречая сопротивление от горизонтальных перекрытий здания на определенных пространственно-временных частотах. При этом антиквазивещество обладает свойством антигравитации. Взаимодействие эфирония со своим подобием зависит от соразмерности элементарных частиц - эфирононов и может полностью отсутствовать, так как разномасштабные эфирононы не "замечают" друг друга. Аналогично ведут себя исходные эфирные волны.
   Эксперименты с лазерным лучом, потоками электронов и жидкостей позволяют сделать вывод, что по мере уменьшения частиц эфирония (повышения частоты "вибраций") их вредное воздействие на человека уменьшается, хотя этот вопрос требует специального исследования. Эфироний является "темным" двойником породившего его классического вещества и отражает его свойства в своем пространственно-временном спектре топологических гармоник, что также должно учитываться при решении задач экологии экспериментов.
   В эзотерической литературе фигурируют сущности "ян" и "инь", а также сущность "ци", трактуемая как жизненная энергия. Это полностью соответствует описанному выше набору "темного" вещества (квазивещество, антиквазивещество, эфироний). В учении йогов эфироний, по-видимому, называется "праной".
   Итак, фундаментальные законы мироздания можно и нужно изучать в физической лаборатории даже без применения громоздкой и дорогостоящей аппаратуры. (Последняя, конечно, необходима для исследования количественных характеристик изучаемых явлений). Но при изучении неизведанной области природы вначале важнее всего найти базовые принципы, т.е. определить истинные "направляющие косинусы". Например, из изложенного ясно, что "темное" вещество в виде эфирония должно содержаться в каждом физическом теле. Как обнаружить этот эфироний и оценить его количество, массу в конкретном случае?
   Вызывает досаду обстоятельство, что методику такой оценки я предлагал научной общественности в 1988 г. [8] . Более того, в 1990 г. обсуждал работу [8] в доброжелательной обстановке с вице-президентом АН СССР академиком В.А. Котельниковым, но продолжения этого обсуждения не последовало. А опыт, доказывающий существование "жидкой массы" - эфирония в твердом теле и описанный в [8] , очень простой.
   Берем в руки долго (не меньше недели) лежащий неподвижно свинцовый или железный диск диаметром около 25 см и толщиной 5-7 мм. Медленно придаем диску горизонтальное положение и устанавливаем так, чтобы потом можно было диск быстро повернуть вокруг центра как можно на больший угол с резкой остановкой. Сосредоточиться надо на поведении диска сразу после остановки. Если выполнены эти условия, то в конце опыта вы почувствуете сильное давление на руки со стороны уже неподвижного диска, как будто внутри его, цепляясь за металл, продолжает вращаться тяжелая жидкость вроде ртути.
   При повторном опыте эффект станет значительно меньше, а на третьем - вообще будет едва заметен. Это и есть "закон триады", или энергоинформационный барьер, - главное препятствие в изучении "темного" вещества и эфира вообще [9] . В этом вековая трагедия всей метафизики! После третьего раза эфироний никак не проявляет себя, что бы вы ни делали.
   Почему так происходит? Потому что эфироний, как и другие квазивещественные структуры эфира, - сверхтекучая, квантовая жидкость (в твердом теле густая), и взаимодействует с классическим веществом только через вихревую вязкость. Эта сверхтекучая вязкость, реализуя принцип наименьшего действия, за время описанного опыта формирует в атомно-молекулярной решетке свинца систему вихрей (антиматрицу), подобную решетке, в результате чего движущееся твердое тело и наполняющий его эфироний ведут себя как единое целое. Чтобы вновь почувствовать эфироний, его нужно "застать врасплох" в спокойном состоянии, когда он сливается с эфирным телом Земли. Ждать придётся долго, поэтому лучше для повторного опыта использовать другой диск и в другом месте. Таковы особенности нетрадиционных экспериментов в лабораторных условиях.
   В реальной Природе взаимодействие вещества нашего мира с эфиронием и исходным квазивеществом подчиняется закону фликкер-шумов, т.е. интенсивность взаимодействия растет с уменьшением частоты изменения процесса. Как упоминалось в [3] , уже в геофизических масштабах среднее значение фликкер-шумов содержит постоянную составляющую, которая обладает свойствами реальной силы (пятой силы). На долю "темного" вещества и эфирных волн приходится около 50% энергии атмосферных и океанических движений.
   В галактических процессах эфироний соответствующего вихревого спектра приобретает важную роль как одна из компонент невидимого галактического вещества (в этих масштабах роль классического вещества резко падает). Поэтому нет ничего удивительного, что наблюдаемое в наших опытах "темное" вещество, т.е. эфироний, но главным образом космические квазивещественные эфиродинамические структуры как составляющие единого поля в широком спектре пространственно-временных частот содержат значительную часть энергии Вселенной. Классического вещества в космических просторах не так уж много. Но, безусловно, основную долю энергии (до 90%) содержит тонкоструктурное правовинтовое вещество, рожденное по принципу "жерновов" и составляющее тела звезд, галактик и Вселенной, а также плазменная фаза ("дно") Единого Поля Эфира.
   Описанный выше лабораторный качественный опыт по оценке характеристик присоединенной "жидкой" массы показывает, что на долю эфирония приходится примерно пятая часть массы свинцового диска. По-видимому, 1 см3 металла по удельному весу должен быть легче 1 дм3, потому что в последнем содержится больше эфирония. В порошках эфирония тоже должно быть меньше, чем в монолитном теле. Это предположение можно проверить лабораторным экспериментом.
   В технических системах эфироний участвует во всех физических процессах, выдавая себя только в особых ситуациях (например, "первый блин комом"). В остальных случаях, как правило, сохраняется специфика сверхтекучей субстанции, неспособной совершать работу. Но поскольку в биосистемах решена проблема регулярного, детерминированного взаимодействия физического и эфирного тел, то должны существовать способы решения этой проблемы и в технических системах. Здесь, во-первых, поиск должен быть направлен на постоянное, пусть малое изменение эфирной "ауры" физической системы. Например, известно, что установки холодного термояда для нормальной работы требуют периодической смены места расположения аппаратуры. Чтобы более эффективно использовать эфироний, необходимо глубже изучить многомерное функционирование биосистем, используя древние источники знаний.
   Элементарные частицы эфирония могут быть любых квантовых размеров, в том числе меньше электрона. Именно последние являются главными в процессах получения свободной энергии. Участие наноэфирононов в физических процессах обеспечивает приток дополнительной энергии, если созданы условия для развития "красного" энергокаскада, т. е. трансформации вихрей в сторону увеличения их размеров [2]. Этому процессу способствует механическое и электромагнитное вращательное движение.
   Еще раз подчеркнем, что космическое пространство, кроме известного всем физикам вещества, содержит эфир в форме эфирония, другого квазивещества и эфирных вихревых волн в иных подпространствах. Последняя совокупность, действительно, подобна "темному" веществу, топологически и масштабно многомерному, как квантовая, фрактальная "матрешка". Проявленное классическое вещество рождается в слое, сечении пространственно-временного спектра эфира, которое является границей между увлекаемым во вращение звездным вихрем эфира и менее увлекаемым, что соответствует нелинейному межфазному подпространству. Это и есть принцип "жерновов".
   Вихревые структуры эфира, несравненно более тонкие по сравнению с электроном, относящиеся к "твердому" плазменному аттомиру, не участвуют во вращении Вселенной, являясь неподвижным подпространством. Если наладить связь с этим подпространством, то можно получить абсолютную систему отсчета. А физический вакуум - это "прослойка" между вращающимися с различной скоростью полями эфира. Классическое "электронное" вещество, определяющее главные черты нашей физической сущности, обладает однозначным спиральным моментом импульса.
   Вихри эфира и эфироний как основа единого поля Мироздания тесно связаны с веществом, начиная с элементарных частиц и кончая вихрем Вселенной. Уплотнение эфирония в конденсированных телах до массивной жидкости делает его соучастником гравитационного поля, которое в свою очередь модифицирует эфирные процессы. Все так взаимообусловлено и тесно связано в мире, все так неимоверно сложно "наверху и внизу", что каждому должно быть ясно, насколько беспомощна в своей самонадеянности ортодоксальная, по сути элементарная физика.
   Академический клан, к представителям которого я обращался неоднократно, отвергает принципиально новые для него идеи и опыты, полученные по возрождающейся древней идеологии. РАН мои публикации не нужны, но эти ученые окольными путями под дымовой завесой математики неизбежно придут к тем же результатам. Потому что Истина одна!
   Эмпирическим путем открыта особая материя ("темное" вещество), названная "эфиронием", и его составляющие - квазивещество и антиквазивещество, которые существуют как в виде дебройлевских вихревых волн (потоков), так и в виде статических образований (локализованных сгустков). Эти три эфиродинамические структуры во главе с эфиронием по основному закону эфиродинамики [3] состоят из элементарных тороидальных вихрей, занимающих весь природный вихревой спектр пространственно-временных движений эфира и заключающих в себе значительную долю энергии Вселенной. Открытые физические сущности нетрадиционного вихревого спектра зарегистрированы в лаборатории и в космических явлениях с помощью специальных приборов [4,10].
  

ЛИТЕРАТУРА

  
      -- Эйнасто Я.Э., Яаниста Я.А. Сказание о "скрытой массе". - В сб. "Будущее науки", вып. 19. - М.: Изд-во "Знание", 1986, с. 151-165.
      -- Mishin A.M. Aether as Unified Field // "New Energy Technologies". - SPb: Faraday Lab Ltd, 2003, N3, p. 52-55.
      -- Mishin A.M. The Main Principle of Etherodynamics // "New Energy Technologies". - SPb: Faraday Lab Ltd, 2001, N2, p. 32-36.
      -- Mishin A.M. The Physical System of Artificial Biofield // "New Energy Technologies". - SPb: Faraday Lab Ltd, 2001, N1, p. 45-50.
      -- Frolov A.V. The Center of the Universe, which Controls Activity of the Sun and the Earth, has been Discovered // "New Energy Technologies". - SPb: Faraday Lab Ltd, 2002, N2 (5), p. 13.
      -- Shpitalnaya A.A., Mishin A.M. Pulkovsky Radio-Telescope Receives the Signals from the Center of the Universe // "New Energy Technologies". - SPb: Faraday Lab Ltd, 2002, N1(4), p. 37.
      -- Ацюковский В.А. Общая эфиродинамика. - М.: Энергоатомиздат, 1990. - 280 с.
      -- Мишин А.М. О новых свойствах физического вакуума, гравитационного поля и массы. - МО СССР, 1988. - 44 с.
      -- Mishin A.M. Fundamental Properties of Aether // "New Energy Technologies". - SPb: Faraday Lab Ltd, 2002, N3 (6), p. 36-37.
      -- Мишин А.М. Антигравитация и новые энергетические процессы. В сб. Фундаментальные проблемы естествознания и техники (Труды Конгресса - 2000). Серия "Проблемы исследования Вселенной", вып. 23. - СПб.: СПбГУ, 2001, с. 275-283.
   "Один опыт я ставлю выше тысячи мнений,
   рожденных только воображением"
  
   М. Ломоносов
  

Эмпирическая модель Вселенной со Звездой Абсолюта в Центре

   Обобщены результаты многолетних наблюдений и экспериментов и построен фундамент эфиродинамической модели Вселенной со Звездой Абсолюта в центре вращения. Найдены общие закономерности в иерархии вращающихся автоколебательных вихревых систем (Солнце - Галактика - Вселенная). Дана новая трактовка космического энергообмена.
  
   1. Введение
  
   Когда некий объект или явление Природы, - в данном случае мировой эфир, - в течение тысячелетий описывается сотнями теоретических моделей, часто несовместимых и противоречащих друг другу, то вывод только один: этот объект или явление не поняты в своем главном физическом качестве. Все попытки привлечь для решения проблемы математику еще дальше уводят от истины, потому что для изучения принципиально новой физической реальности нужны адекватно новые эмпирические методы познания.
   Сейчас над традиционной физикой довлеет привязанность к веществу и физическому миру, который подавляющей частью ученых воспринимается пятью органами чувств. Это существенно, - что вижу, что чувствую, то и изучаю. Общепризнанные модели пространства-времени отражают микроскопический, вещественный уровень Мироздания, распространяя этот подход на процессы любых масштабов. При этом обрубаются целые стволы древа познания, и официальная наука демонстрирует беспомощность как в космологии, так и перед фактами паранормальных явлений.
   Однако на рубеже тысячелетий сформировалась новая школа нетрадиционно мыслящих ученых-физиков, возглавляемая в Санкт-Петербурге проф. А.П. Смирновым. Весь человеческий опыт и здравая логика вынуждают признать существование более широкого спектра видов материи. Обобщение этой необозримой в обе стороны масштабной глубины протовещественных и квазивещественных вихре-волновых структур (дуализм волна-частица распространяется на все Мироздание) приводит к понятию стереодинамически, топологически, фрактально многомерного сверхтекучего эфира как единого поля. Но поскольку материальны и наблюдаемы только указанные динамические структуры, постольку само понятие эфира остается непознанной реальностью, хотя обычно эфиром называют материю, заполняющую пустое геометрическое пространство, а вернее, создающую это пространство. По мнению А.П. Смирнова, "эфир пока самая энергетичная фаза в нашем представлении о Вселенной" [1].
   Новых научных работ (статей и монографий), посвященных теоретическому, а вернее гипотетическому решению фундаментальных проблем Мироздания, появилось слишком много, чтобы делать их обзор в рамках этой статьи. Скажу только, что содержание большинства публикаций достаточно далеко от моего собственного натурфилософского мировоззрения, основанного на феномене физикосенсорного восприятия эфиродинамических структур и экспериментальной методологии искусственного биополя [2,6] .
   В моих работах [3-5] уже делалось обобщение наблюдений и лабораторных опытов с целью создания фрагментов эфиродинамической модели Вселенной. Данная статья продолжает и уточняет начатые исследования с исправлением допущенных ранее технических ошибок. По прежнему будем называть протовеществом и квазивеществом соответствующие эфиродинамические структуры, лежащие по масштабу вихрей за пределами особого подпространства - физического вакуума, которому принадлежит классический микромир (наш физический мир).
  
   2. Эфиродинамическое пространство
  
   В едином поле мирового эфира (общем пространстве) вещественны только вихре-волновые процессы, создающие обычные элементарные частицы и поля, а также квазивещественные структуры различных уровней типа эфирония (аналога позитрония) и другого "темного" вещества [5]. Электрон и лабораторные квазивещественные вихревые волны и структуры правововинтовые (ян), а антиквазивещественные - левововинтовые (инь).
   Простейшая качественная двухмерная модель стереодинамически многомерного эфиродинамического пространства представлена в наиболее наглядном виде на рисунке 1. Здесь изображен условный стоящий на столе сосуд, наполненный эфиродинамическими структурами. Роль принципа наименьшего действия выполняет поле тяжести. Размеры вихрей уменьшаются в направлении дна сосуда до нулевых; энергия (плотность), скорость передачи взаимодействия и угловая скорость вихрей, напротив, растут в направлении дна. Показаны качественные уровни среды в виде фазовых состояний (газ, жидкость, физический вакуум - особая жидкость, жидкий кристалл, специфическая плазма). Поскольку плотность и вязкость эфира увеличиваются с глубиной нелинейно, при образовании большого вихря (рисунок 1) образуется сдвиговая особенность, которая наиболее выражена в слое физического вакуума. Это слой с аномальным градиентом плотности и вязкости, где вращение Вселенной через иерархическую систему вихрей (галактики, звезды) образует вещество (классические элементарные частицы и поля), и где скорость передачи взаимодействия равна световой.
  


Рисунок 1

  
   Сосуд на рисунке 1 в реальном мире не имеет вертикальных осей, потому что все фазы эфира одновременно заполняют некий объем трехмерного пространства по принципу фрактального поля. Величина сосуда и изображенный вихрь подразумевают масштабы Вселенной. Можно сказать, что наш вещественный мир рождается на трехмерной "поверхности" жидкокристаллической фазы эфира (отсюда аномальный градиент плотности).
   Задача принципа наименьшего действия ("поля тяжести") - осадить энергию среды-эфира на предельно низкий уровень. Следовательно, в Природе существует или существовал обратный механизм "раскачки" единого поля с образованием вихря-Вселенной. При наличии такого вихря главные энергетические связи и энергокаскады направляются сверху вниз, - большие системы рождают меньшие, в частности элементарные частицы в физическом вакууме.
   С появлением вещественного мира вступает в действие основной закон эфиродинамики [3] , противодействующий принципу наименьшего действия и наполняющий Вселенную квазивеществом, антиквазивеществом и эфиронием, т.е. "темными" веществами и вихре-волновыми потоками (топологическими гармониками и субгармониками вещества) [5] .
   Эфироний и более простые вихревые образования гравитационно притягивается обычными физическими телами, образуя присоединенную "жидкую" массу [6] , величина которой может изменяться во времени в зависимости от состояния окружающего пространства. Эта масса обладает особыми свойствами [5]. На границе тела всегда существует большой градиент плотности эфирного поля, отвечающий за эффекты электрофорные и "полостных структур" [7] . В масштабах Земли этот градиент создает земное электрическое поле, которое вопреки закону Кулона существует только до высот менее 10 км и имеет другие удивительные свойства.
   Тонкоструктурные эфирные вихри (эфироний и квазивещество) из космоса постоянно поглощается Землей по радиальным направлениям (вертикальный эфирный ветер), нагревая верхний слой атмосферы (термосферу) и недра планеты, т.е. те области, где образуется плазма. Выделение энергии происходит за счет аннигиляции эфирония и превращения жидкого квазивещества в газообразное, так как в центре Земли создаются условия для реализации "красного" энергетического каскада. Плазменное фактически "твердое" ядро Земли насыщено фотонами, квазифотонами (фотонами неклассических размеров) и "отработанным" квазивеществом. Все эти "квази" излучаются Землей в окружающее пространство в газообразной фазе эфира, создавая восходящий эфирный ветер. По моим представлениям главным поставщиком тонкоструктурного и энергоемкого эфира в космических масштабах является эксавихрь, т.е. вращение Вселенной в целом.
  
   3. Взаимодействие подпространств единого поля
  
   Взаимодействие между фазами (подпространствами) в сосуде на рисунке 1, так же как и в Природе, происходит постоянно, что подтверждается явлением фликкер-шумов и их зависимостью от космических и геофизических факторов, а также "нулевыми" колебаниями физического вакуума [8]. Физически фликкер-шумы в нашем мире возникают за счет флуктуаций пространственно-временных характеристик физического вакуума со стороны низких частот. Тот факт, что интенсивность этих шумов растет с уменьшением временной частоты (увеличением пространственного масштаба процесса) свидетельствует об инерционности рассматриваемой среды. Чтобы ее "раскачать", чтобы макровихрь проник и увлек во вращение физический вакуум, нужно время, а обычные скоротечные процессы идут по классическим законам (равномерный высокочастотный спектр "белого" шума).
   Гравитационное поле Земли материализовано в эфире устойчивой в среднем вихревой матрицей в виде решетки вихрей противоположной направленности. (Существует сложная непрямая связь этой решетки с сеткой Хартмана). В результате лабораторное пространство приобретает голографические свойства и способность к запоминанию происходящих в нем сверхфизических (нетрадиционных) процессов. Это равносильно "заряду", который экранирует следующее аналогичное воздействие и делает невозможным наблюдать такие процессы обычными приборами (за исключением фликкер-шумов как флуктуаций "заряда"). Указанной памятью обладают и физические тела [9]. Информационные элементы "голографической" памяти имеют тонкую фазовую структуру, но в твердых телах существует и более грубая вихревая матрица в масштабе атомов и молекул, также запоминающая нетрадиционные вихре-волновые возмущения [5] .
   Реально здесь вновь работает принцип наименьшего действия, исключающий в земной лаборатории детерминированное взаимодействие нашего мира с другими уровнями Мироздания. В публикациях [2, 10, 11] я называл это явление адаптацией ("законом триады"), энергоинформационным барьером и принципом автономности. Все сказанное имеет надежное экспериментальное подтверждение [2, 11, 12]. Физическая причина неустойчивой связи между подпространствами - это сверхтекучие свойства эфира и разномасштабность взаимодействующих вихревых структур с включением информационного аспекта.
   Подпространство физического вакуума не запоминает происходящие в нем процессы, благодаря чему наш вещественный мир динамически устойчив и имеет законы Ньютона, если говорить о механике. Это объясняется тем, что во-первых, физический вакуум является "родственной", согласованной по масштабу вихрей средой для элементарных частиц вещества, а во-вторых, Земля как лаборатория находится в потоке физического вакуума, что исключает возможность его статического структуирования. Что Земля не несет с собой физический вакуум, свидетельствуют маятник Фуко, гироскопический эффект и геофизическая сила Кориолиса. Однако заметим, что все указанные физические явления связаны с вращательным движением.
   Обычное тело взаимодействует с другими уровнями пространства по закону фликкер-шумов, выбросы которого называются аномальными явлениями. Последние свободно вторгаются в наш мир, но не могут оказать существенного влияния на его стабильность. Для изучения физики этих явлений более доступен феномен, обнаруженный А.А. Шпитальной [13] . Оказалось, что импульсное излучение Центра Вселенной (ЦВ) [3] всегда влияет на работоспособность большого пулковского радиотелескопа (независимо от направления антенны), что можно трактовать как устойчивую, детерминированную регистрацию нетрадиционного излучения. Изучение этого конкретного феномена, демонстрирующего влияние пространственных параметров прибора (размещение аппаратуры в здании и за его пределами) и особенностей указанного излучения на энергоинформационный барьер, очень важно для науки.
   Теперь представим себе два потока эфирония ("темного вещества") одного спектрального вихревого состава. Казалось бы, они должны детерминированно взаимодействовать между собой, например, в жидкой фазе эфира. Возможно, так оно и есть. Но наблюдать за нетрадиционным процессом мы можем только с этажа нашего мира, т.е. с уровня физического вакуума (рисунок 1). Вот тут для регулярного, а не случайного преодоления энергоинформационного барьера и требуются специальные способы и алгоритмы, реализованные в биосистемах. В технике для решения этой проблемы я использовал метод "искусственного биополя". Но созданные приборы теряют чувствительность со временем [2, 11] и пока далеки от массового применения, главным образом, из-за инерционности мышления общественного сознания.
   Выше шла речь о лабораторном околоземном пространстве. Переход к космическим масштабам означает выход на принципиально новое качество энергоинформационного барьера. Это обусловлено вихревой широкополосностью космических процессов. Частично такой выход обозначен уже в геофизике, - основном источнике аномальных явлений. Законы высшей физики тем более оказываются на переднем плане в эфиродинамике звезд, галактик и Вселенной. Реальное тому подтверждение - это закономерное влияние излучения ЦВ на активность Солнца и планет [3, 13].
  
   4. Эфиродинамическая модель Вселенной
  
   В астрофизике известна масштабная иерархия "звезда - галактика - Вселенная", когда большие системы обнимают меньшие и воочию демонстрируют принцип "матрешки", а вернее, принцип фрактальной автономности. Попытаемся найти общие черты для указанных вращающихся автоколебательных вихревых систем.
   На рисунке 2 изображены Солнце, Земля на своей орбите, волны, возбужденные Землей по основному закону эфиродинамики, и космические солнечные потоки. Гравитационное поле Солнца, как и у Земли, имеет эфирную материализацию в виде вихревой решетки-матрицы. В районе Земли градиент плотности этой решетки невелик, что объясняет меньшее в 5 раз влияние Солнца на океанские приливы по сравнению с Луной. Однако скорость гравитационного попутного потока примерно в 12 раз больше орбитальной скорости Земли
= 30 км/с, так как Солнце вместе с гравитационным полем делает один оборот за 28 земных суток.
   По основному закону эфиродинамики главные вихре-волновые излучения в плоскости земной орбиты (схема "верх-низ" [3]) направлены под 45® к вектору
. Движение планеты Земля возбуждает в окружающем пространстве квазивещественную вихревую волну ВВЗ и антиквазивещественную АВЗ (рисунок 2). Попутный гравитационный ветер Солнца соответственно возбуждает волны ВВС и АВС. Экспериментально установлено, что наиболее энергичным и эффективным является направление АВС - ВВЗ, потому что к этому направлению добавляется излучение Солнца по основному закону [3].

 []

Рисунок 2

   Сделаем небольшое отступление. Известно, что величина электрического поля Земли имеет суточные вариации с минимумом в 6 часов и максимумом в 21 час по московскому времени. Средняя амплитуда вариаций одновременно на всей поверхности Земли равна Ђ 15%. Это явление не находит объяснения в рамках традиционной физики [14] . Я же обратил внимание на то, что в направлении ВВЗ в 6 ч Земля поворачивается евразийским континентом и частью африканского, а в 21 ч практически весь мидель Земли перекрывает Тихий океан. Это различие в площади суши и океана небезразлично для вихре-волновых потоков и может оказывать влияние на градиент плотности эфира на поверхности Земли и величину электрического поля. Конечно, этот физический механизм требует специального экспериментального подтверждения.
   Дифференциальное вращение солнечного вихря в масштабах земной орбиты с учетом изменения вязкости подпространств (рисунок 1) создает для земного наблюдателя три солнечных изображения, если наблюдатель обладает "многомерным" зрением. Истинное положение Солнца соответствует точке 0 на прямой пунктирной линии. В видимом спектре наблюдается изображение 1 под углом ? < 90® относительно вектора
, что отражает дифференциальную завихренность физического вакуума. Экспериментально установлено, что космический энергоемкий эфир (и эфироний) движется к Солнцу и отклоняется влево от изображения 1 на 4®...5®, т.е. распространяется в менее скрученном подпространстве, где скорость "нанофотонов" больше световой, и создает условное изображение 2 (в данном случае Солнце поглощает, а не излучает). Благодаря этому радиальному практически линейному (на рисунке 2 плоскоспиральному) потоку атмосфера Солнца разогревается до миллионов градусов (аналогично нагреву верхней атмосферы Земли). Но в основном тонкоструктурное квазивещество трансформируется по "красному" энергокаскаду в центре звезды, передавая энергию классическому веществу (фотонам), а также жидкой фазе эфира, образуя квазифотоны (фотоний). Последние излучаются в наиболее скрученном подпространстве с отклонением от видимого изображения Солнца вправо на 7® и формируют размытое изображение 3. Квазифотоны также являются поперечными плоскими дифференциально вращающимися вихрями с чередующимся направлением вращения. Рисунок 2 отражает процессы в плоскости земной орбиты, но энергоемкий эфир поглощается Солнцем по всем радиальным направлениям (по Бледнову "звездный эфирный ветер").
   Несколько изображений Солнца и звезд нетрадиционным методом наблюдали Н.А. Козырев [15] и М.М. Лаврентьев [16] с объяснением этого феномена в рамках своих научных теорий.
   Галактики имеют невидимое плотное центральное тело, т.е. звезду своей иерархии. Размеры галактического вихря таковы, что главное взаимодействие связывает более тонкоструктурный эфир с уровнем физического вакуума. Как упоминалось выше, этот уровень (рисунок 1) имеет аномально большие градиенты характеристик единого поля, поэтому именно в масштабах галактик рождаются обычные звездные системы и классическое вещество.
   Радиальные потоки квазивещества и эфирония с "аннигиляцией" его в Центре Галактики (ЦГ) должны быть аналогичны солнечному сценарию, также как и вращение Галактики в нескольких подпространствах единого поля. Даже при большом склонении ? - 50® (в экваториальной системе отсчета), анизотропные направления нашей Галактики четко проектируются на горизонтальную плоскость в месте наблюдения (на широте Санкт-Петербурга). Это позволило с помощью прибора с искусственным биополем с горизонтальным направлением диаграммы направленности зарегистрировать ЦГ и направление движения Солнца (Земли) по галактической орбите (к созвездию Лебедя [2]). Тройное изображение ЦГ также зафиксировано в лаборатории. Это ценная информация, так как Галактика вращается по часовой стрелке, и отклонение радиального потока эфира фиксируется справа от астрономического изображения ЦГ.
   Выход на эфиродинамическую структуру Вселенной стал возможным, благодаря открытию А.А. Ефимовым, А.А. Шпитальной и Ю.А. Бауровым глобальной анизотропии космического пространства ("векторного потенциала
") [17] . Мне с самого начала было ясно, что эта анизотропия имеет эфиродинамическое происхождение. Как сенсорно, так и прибором с искусственным биополем регистрировался обычный вихре-волновой поток [2, 11]. Поскольку анизотропия БЕШ (как я ее назвал по первым буквам фамилий первооткрывателей) уверенно регистрировалась мной и Ю.А. Бауровым, а также эффективно влияла на солнечные процессы, изученные А.А. Шпитальной [13], то оставался один вывод, что это квазивещественный вихре-волновой поток, удовлетворяющий основному закону эфиродинамики и вызванный вращением Вселенной в целом. Такой вывод подтверждался сенсорной сравнительной оценкой спектрального состава земного, солнечного, галактического и вселенского эфирных вихре-волновых потоков. С увеличением иерархического масштаба эфиродинамической системы в процесс вращения вовлекаются все более глубокие тонкоструктурные слои мирового пространства, включая жидкокристаллическую фазу (рисунок 1).
   Зная направление квазивещественного канала БЕШ и розу излучения основного закона эфиродинамики [3], под углом прямого восхождения ? = 45®, отложенного по часовой стрелке от вектора БЕШ в экваториальной системе координат, был найден основной продольный орбитальный поток и направление вектора скорости Земли, перпендикулярного оси вращения Вселенной. Под углом ? = 45® от направления БЕШ против часовой стрелки был обнаружен Центр Вселенной, который уверенно лоцировался в горизонтальной плоскости при наблюдении с Земли. Оказалось, что Вселенная, как и Солнечная система, вращается против часовой стрелки.
   В работах [3, 13] склонение ? = - 30® соответствует не ЦВ, а группе квазаров, имеющих прямое восхождение ? = 330® и создающих ложное изображение ЦВ за счет "ретрансляции" его сигналов. Значение ? = - 30® расходиться с координатами анизотропии БЕШ, которая, как и направление на ЦВ, должна лежать в экваториальной плоскости Вселенной. Потребовалась новая трактовка абсолютной скорости движения Галактики, чтобы окончательно созрела необходимость проведения новой серии наблюдений и экспериментальных исследований, исключивших неоднозначность в определении угла склонения ?. Окончательно координаты ЦВ равны:
   прямое восхождение ? = 330® Ђ 3®;
   склонение ? = 25® Ђ 3®.
   Теперь в пределах точности измерений в экваториальную плоскость Вселенной, кроме направления ЦВ, ложится вектор БЕШ (
) (? = 285®, ? = 35®) и вектор абсолютной скорости движения Галактики к созвездию Гидры (? = 156®, ? = - 26®). В результате базовая эфиродинамическая структура Вселенной предстает стройной непротиворечивой системой в полном соответствии с основным законом эфиродинамики [ 3 ] при условии замены движения Галактики потоком квазивещества с соответствующим ему эфирным подпространством. Если использовать традиционную терминологию, то можно утверждать, что не Галактика движется относительно фонового излучения, а наоборот, фоновое излучение, втягиваясь Центром Вселенной, создает иллюзию движения Галактики.
   Общее представление о космической обстановке и эфиродинамических потоках Вселенной во второй экваториальной системе координат дает диаграмма-планшет, изображенная на рисунке 3, где в центре расположена наша Земля (наблюдатель). Здесь сплошными линиями показаны официальные астрофизические направления, полученные от А.А. Шпитальной, а пунктирными - направления нетрадиционных вихре-волновых потоков, найденных по основному закону эфиродинамики.
   Диаграмма-планшет состоит из двух дисков: на первом, жестком, изображаются характерные космические направления анизотропии, а на втором, вращающемся и прозрачном, - Солнце и вызванные им излучения Земли, показанные на рисунке 2. Чтобы не загромождать схему, планеты и Луна на ней не показаны, хотя их излучения на эфирном уровне сравнимы с изображенными [11] .
   Солнце на диаграмме делает полный оборот за год, поэтому его изображение на конкретный день должно устанавливаться под соответствующим углом ?. Например, в день весеннего равноденствия 22 марта поворотом диска изображение Солнца совмещается с направлением "Весна" (? = 0). Далее по календарю диск вращается против часовой стрелки и 22 июня в день летнего солнцестояния Солнце переходит в положение "Лето" (? = 90®), т.е. диск каждые сутки должен поворачиваться примерно на 1®.
   Чтобы сориентироваться в пространстве, диаграмма-планшет кладется на стол (горизонтальную поверхность), и диск с изображением Солнца устанавливается на данный день. Например, на рисунке 3 положение Солнца соответствует 19 июля (? = 117®). Затем все устройство ориентируется по геодезическому азимуту на реальное Солнце по линии "центр диаграммы - изображение Солнца". Несмотря на широтное отклонение плоскости диаграммы от плоскости земного экватора, все изображенные направления на широте Санкт-Петербурга с точностью до 1®...2® совпадают с расчетными значениями угла ?. Это проверено сенсорным методом и экспериментально с помощью прибора с искусственным биополем. Осциллограммы с записью почти всех анизотропных направлений (излучений), в том числе Луны и Юпитера, приведены в работах [2, 11, 12].
  

 []

Рисунок 3

   Главнейших космических потоков, наиболее интенсивно влияющих на активность Солнца, три (жирный пунктир на рисунке 3): излучение Звезды Абсолюта (ЦВ), анизотропия БЕШ (
) и инициированное ЦВ излучение ЦГ. Началом "встряски" Вселенной является импульс активности ЦВ. На дальней короне Солнца (в гелиоцентрической системе отсчета) эти направления в виде светлых лучей наблюдаются на короне Солнца в соответствии со значениями угла склонения ?.
   Учитывая общие закономерности эфиродинамики Земли, Солнца (рисунок 2) и непротиворечивых результатов по Галактике, есть все основания для поиска структурных закономерностей в масштабе Вселенной. Исследования убеждают в том, что Вселенная, как Галактическая и Солнечная системы, является плоской осесимметричной вихревой системой с многомерным автоколебательным вращением. Вселенная имеет конечные размеры, но далеко выходит за пределы "видимой" Метагалактики и вращается против часовой стрелки. Совокупность наблюдений и экспериментов доказывает, что в Центре Вселенной находится звезда наивысшей иерархии - Звезда Абсолюта, обладающая постоянной, периодической и вспышечной активностью. Импульсное излучение этой Звезды надежно регистрируется прибором с искусственным биополем и большим пулковским радиотелескопом [13] .
   Невидимое "свечение" Звезды Абсолюта (ЗА) дает энергию всей Вселенной, но особенно эффективны вспышки, которые сразу увеличивают активность ЦГ, Солнца, планет и интенсивность анизотропии БЕШ. К сожалению, волновой и вещественный состав этого излучения в настоящее время не изучен. По сенсорной оценке во время вспышек это очень "тяжелое" излучение, которое может содержать, кроме нетрадиционных вихревых волн, в виде вторичных процессов некоторые элементарные частицы, а также электромагнитное ?- излучение.
   Сравним диаграмму на рисунке 3 с рисунком 2, где изображены солнечно-земные эфиродинамические связи. Результаты наблюдений и экспериментов дают основание для вывода, что ЦВ, или Звезда Абсолюта, является эфиродинамическим аналогом нашего Солнца, и на рисунке 2 изображение Солнца можно считать Звездой Абсолюта. Анизотропия БЕШ, соответствующая направлению АВС - ВВЗ, также является наиболее энергичным космическим каналом, как и в Солнечной системе. Это излучение возбуждается космическим телом за счет вращения Вселенной и ее гравитационного поля против часовой стрелки (рисунок 2). Важно отметить, что излучение Звезды Абсолюта по основному закону эфиродинамики создает в направлении анизотропии БЕШ энергичный квазивещественный поток, который накладывается на аналогичный поток, генерируемый Землей при движении по орбите Вселенной, что увеличивает энергетическую плотность анизотропии БЕШ.
   По аналогии с Солнечной системой Звезда Абсолюта тоже имеет тройное изображение в едином поле эфира. На диаграмме рисунка 3 видно, что слева от ЦВ под углом ? = 336® (угол отсчитывается от точки весеннего равноденствия против часовой стрелки) направлен "эфирный ветер", создаваемый абсолютным движением Галактики к созвездию Гидры (по существующим представлениям). Но по моей модели это поток эфира, поглощаемый Звездой Абсолюта и не нуждающийся в указанном движении Галактики. Отклонение потока влево на 6® (у Солнца 4®) и совпадение углов склонения (для ЦВ ? = 25®, а для потока эфира ? = 26®) исключают возможность случайного совпадения.
   Итак, изображение 1 на рисунке 2 для Звезды Абсолюта соответствует направлению "света" и вспышек в физическом вакууме (в нашем восприятии), а изображение 2 - это идущий к Звезде поток эфирония и других видов квазивещества в "сверхсветовой" жидкокристаллической фазе эфира. Наконец, изображение 3 должно быть справа от ЗА на угол больше 7®, так как фотоний в виде плоских вихрей распространяется в наиболее скрученном подпространстве со скоростью меньше световой (в жидкой фазе эфира, рисунок 1). Экспериментально зарегистрированы излучение Звезды Абсолюта и поток эфира из созвездия Гидры. Поток фотония - это более слабые поперечные волны, потому что основная доля тонких структур эфира поглощается в ЗА. К тому же изображение 3 перекрывается траекторией движения Земли по галактической орбите к созвездию Лебедя, что создает эфиродинамический поток того же направления по углу ? и затрудняет обнаружение и регистрацию потока фотония (см. рисунок 3).
   Отмеченная аналогия Солнца и Звезды Абсолюта, конечно, касается только общих эфиродинамических закономерностей, наблюдаемых с Земли. Можно сказать, что эта аналогия по вторичным признакам. В действительности ЗА является объектом совершенно другой физической природы в силу своей пространственно-временной широкополостности и "заглубленности" в единое поле эфира (рисунок 1). Наш физический вакуум формируется за счет вращения Вселенной в целом и представляет особый, избранный пространственно-временной канал (аналогом является канал на поверхности Земли). Регистрация возмущений со стороны ЗА отражают факт взаимодействия различных уровней эфиродинамического пространства. Это наиболее мощный источник специфических фликкер-шумов, возбуждаемых динамикой наномира и еще более тонких миров, причастных к существованию Звезды Абсолюта.
   Наша Галактика не движется к созвездию Гидры, а лишь вращается в составе вселенского вихря, как планеты вращаются вокруг Солнца. Анизотропию микроволнового фонового излучения создает поток эфира к ЦВ. Однако размеры Вселенной таковы, что ее вихрь с разной скоростью увлекает за собой все фазы единого поля эфира и "скребет по дну" Мироздания (рисунок 1). По этой причине встречный "эфирный ветер" на орбите Вселенной имеет сложную многокомпонентную структуру, которая может содержать составляющие типа излучения Черенкова. Для изучения явлений этой категории требуется разработка более изощренных методов. С другой стороны, возмущение плазменного "дна" вращением Вселенной должно сопровождаться излучениями новых видов, возможно, проливающими свет на физическую природу фонового микроволнового излучения. Учитывая размеры Вселенной, вряд ли можно современными средствами обнаружить ее "млечный путь", хотя метод искусственного биополя способен решить эту задачу.
   На рисунке 3 в центре диаграммы находится Земля (наблюдатель). Движение Солнца по кругу (в действительности это орбитальное движение Земли) создает ситуации, когда Земля, Солнце и источник анизотропии расположены на одной линии по углу ?. Если парады планет оказывают влияние на солнечные процессы, а фазы Луны влияют на гео- и биофизику Земли, то космические явления, имеющие б?льшие масштабы, тем более заслуживают внимания исследователей. Например, в середине сентября в дневные часы излучение Звезды Абсолюта наибольшее время по касательной взаимодействует с поверхностью Земли на широтах 50®...60® в западной России. Как известно, в это время наступает "бабье лето". Весной эта ситуация переходит на ночную сторону (время "эфирного затишья"), поэтому в апреле "бабье лето" холоднее осеннего. Из этих фактов следует однозначный вывод, что главная Звезда Вселенной, будучи "темной" для официальной науки, все же способна нагревать космические тела.
  

 []

Рисунок 4

  
   Нетрудно заметить, как сложна космическая обстановка на диаграмме рисунка 3. Но есть еще кометы, яркие звезды, планеты и Луна. Еще раз подчеркну, что приходящие из Космоса нетрадиционные излучения на поверхности Земли попадают в своеобразный "волновой канал", созданный большим градиентом плотности эфира. Интенсивность волн, возбуждаемых в этом канале, соизмерима с интенсивностью прямого луча (примерная индикатриса рассеяния показана на рисунке 4), что необходимо учитывать при определении угла склонения ? источника излучения. Кроме того, горизонтальная компонента излучения "размыта" по углу ? и дает искаженное представление о размерах излучающего объекта (в сторону увеличения этих размеров).
   Величина горизонтального лепестка индикатрисы зависит от малоизученных космических и геофизических факторов (активности солнца, фаз луны, дня - ночи). Эта зависимость характеризует связь земных эфиродинамических процессов с внешним Космосом, существенную для функционирования биосистем.
   Неподвижный прибор с узкой горизонтальной диаграммой направленности за счет вращения Земли и вертикальной анизотропии околоземного пространства легко зарегистрирует по углу ? "гребенку" указанных на рисунке 3 излучений (анизотропных направлений). При этом из-за большого количества "сигналов" приобретает остроту проблема их идентификации. Но это лишь "экваториальная" плоскость, и останутся неизвестными склонения ?. Подобные измерения оказываются непростой задачей, учитывая весьма скромные возможности моей домашней лаборатории.
  
   5. Заключение
  
   В статье изложены важнейшие фрагменты эфиродинамической модели Вселенной со Звездой Абсолюта в Центре вращения. "Яркие" вспышки этой Звезды, наблюдаемые со средней периодичностью около 7 дней, опасны для людей и сложной техники. На основе результатов регистрации излучения ЗА и других вихре-волновых возмущений известный астрофизик А.А. Шпитальная разрабатывает методику прогноза активных процессов на Солнце и Земле [13,17]. Для большей надежности прогнозов необходима разработка специальной сверхфизической аппаратуры непрерывного наблюдения за интенсивностью излучения ЗА, где могут быть и некоторые составляющие классического спектра.
   Несмотря на мое стремление к ясности изложения, можно понять трудности с восприятием новых идей и трактовкой фактических результатов. Главное, надо признать, что вещественность, материальность присущи вихрям эфира независимо от их размеров, что различные уровни Мироздания (параллельные миры), условно показанные на рис. 1, реальны и взаимодействуют по своим малоизученным законам. В Природе существуют также законы эфиродинамического взаимодействия нашего вещества со свободным эфиром [3]. Важнейшим подтверждением развиваемой мной концепции являются вездесущие фликкер-шумы, принципиально необъяснимые в рамках ортодоксальной науки.
   Физические сущности в виде вихре-волновых структур эфира за пределами обычного вещественного мира были известны древним египетским и индокитайским ученым и использовались в эзотерической практике. Поэтому серьезные представители современной науки, для которых истина важнее личных амбиций и клановых интересов, не должны игнорировать древние знания, как и итоги научных конгрессов под председательством проф. А.П. Смирнова.
   Основные результаты моих исследований получены, благодаря новым методам изучения природных явлений с использованием приборов с искусственным биополем. Эффективность сверхфизических опытов можно существенно повысить, овладев физикосенсорным восприятием эфиродинамических процессов по простейшей доступной каждому экспериментатору методике. Суть последней - это оценка вихревой вязкости и анизотропии эфира через колебательное движение пробного тела (например, из гранита), зажатого между большим и указательным пальцем руки [6]. Возникающая реакция эфира на низких частотах сильнее инерционного сопротивления и имеет другое качество, восприятие которого требует присутствия Вашего заинтересованного Сознания. Внимание должно быть направлено на специфическое объемное "клеточное" осязание с участием биополя экспериментатора. Это новое шестое чувство, в котором важную роль играет капиллярный кровоток, а вернее, создаваемое им биополе. В любом случае колебательный режим детектора (пробного тела) на частоте 3...5 Гц на порядок снижает требования к так называемым экстрасенсорным способностям. Человек является самым совершенным сверхфизическим "прибором", способным в любой обстановке качественно оценить характеристики эфиродинамического пространства. Для большего успеха надо быть не целителем, а физиком-экспериментатором, готовым к встрече с новой физической реальностью. Поэтому не следует бороться с "лженаукой", напротив, время требует ввести в учебных заведениях новую научную дисциплину - "физическую сенсо­рику".
   Сказанное выше в основном относится к изучению макровихрей космических масштабов, естественный пространственно-временной спектр которых содержит несколько фаз единого поля эфира (рисунок 1). В лабораторных условиях имеется возможность избирательного взаимодействия с тем или иным уровнем эфиродинамического пространства, в частности с подпространством, называемым наномиром (расположенным глубже физического вакуума). В отличие от макро- и микромира наномир, являющийся источником так называемой "свободной энергии", не проявляет себя в обычных условиях и практически не участвует в явлении известных фликкер-шумов. Взаимодействие классического вещества с жидкокристаллической фазой эфира (наномиром) имеет свою специфику, изучение которой требует развития методов искусственного биополя и "физиической сенсо­рики", а возможно, и разработки новой экспериментальной методологии. Здесь в прикладном плане важнейшими являются результаты Н. Тесла и его последователей. Хотя головы изобретателей не расположены к теоретическому осмыслению используемых физических процессов, их опыты и созданные технические устройства говорят сами за себя; и от них следует отталкиваться при разработке теории лабораторных экспериментов и актуальных нетрадиционных технологий.
   Когда эта статья была уже готова к печати (03.09.04г.), в лабораторных условиях я нашел новое "окно" в параллельные миры. Для получения этого результата пришлось изучить свойства единого поля эфира [4], характеристики подпространств [5], вихревые волны [3] и эфиродинамические структуры Вселенной [18 и эта статья]. С космических высот удалось обозреть ключевую научную проблему и увидеть пути ее решения, удалось более эффективно преодолеть земной энергоиформационный барьер, отделяющий наш неорганический вещественный мир от других уровней Мироздания.
   По физическому смыслу открыта вихревая ячейка, обладающая свойствами малогабаритной (около 2 дм3) антенны-детектора с диаграммой направленности в горизонтальной плоскости менее одного градуса и способностью излучать и регистрировать нетрадиционные волны. Но! Вихревая ячейка в паре с усилителем является все тем же прибором с искусственным биополем, а последнее негативно влияет на самочувствие экспериментатора.
   В заключение выражаю глубокую благодарность проф. А.П. Смирнову за внимание к работе и усилия, направленные на организацию научного поиска, а также сотруднику ГАО РАН в Пулково А.А. Шпитальной за профессиональную помощь и сотрудничество.
  

ЛИТЕРАТУРА

  
      -- Смирнов А. П., Прохорцев И. В. Принцип порядка. - СПб.: ЗАО "ПиК", 2002. - 296 с.
      -- Мишин А.М. Физическая система с искусственным биополем. В сб. Фундаментальные проблемы естествознания и техники. Серия "Проблемы исследования Вселенной", вып. 23. - СПб: Изд-во СПбГУ, 2001, с. 258-269.
      -- Мишин А.М. Основной закон эфиродинамики. В сб. Фундаментальные проблемы естествознания и техники. Серия "Проблемы исследования Вселенной", вып. 26, ч. III. - СПб: Изд-во СПбГУ, 2003, с. 206-218.
      -- Мишин А.М. Эфир как единое поле. В сб. Фундаментальные проблемы естествознания и техники. Серия "Проблемы исследования Вселенной", выл, 27. - СПб: Изд-во "Акционер и К®", 2004, с. 313-322.
      -- Мишин А.М. Получено "темное вещество", решающее космические проблемы. В сб. Фундаментальные проблемы естествознания и техники. Серия "Проблемы исследования Вселенной", вып. 28. - СПб: Изд-во "Акционер и К®", 2004, с. 269-278.
      -- Мишин А.М. О новых свойствах физического вакуума, гравитационного поля и массы. - МО СССР, 1988. - 44 с.
      -- Гребенников В. С. Мой мир. - Новосибирск: Изд-во "Советская Сибирь", 1997.
      -- Шноль С. Э. и др. Дискретные спектры амплитуд (гистограммы) макроскопических флуктуаций в процессах различной природы. - Пущино: Б.И., 1985. - 39 с. - (Препринт / ИБФ АН СССР).
      -- Квартальнов В.В., Перевозчиков Н.Ф. Открытие "нефизической" компоненты излучения ОКГ // "Парапсихология и психофизика", 1999, N 2 (28), с. 64-67.
      -- Мишин А.М. Фундаментальные свойства эфира. В сб. Фундаментальные проблемы естествознания. Серия "Проблемы исследования Вселенной", вып. 21. - СПб: РАН, 1999, с. 176-178.
      -- Мишин А.М. Антигравитация и новые энергетические процессы. В сб. Фундаментальные проблемы естествознания и техники. Серия "Проблемы исследования Вселенной", вып. 23. - СПб: Изд. СПбГУ, 2001, с. 258-269.
      -- Мишин А.М. Результаты эксперимента по регистрации эфирного ветра. В сб. Новые идеи в естествознании. Серия "Проблемы исследования Вселенной", вып. 18. - СПб: РАН, 1995, с. 24-33.
      -- Shpitalnaya A.A., Mishin A.M. Pulkovsky Radio-Telescope Receives the Signals from the Center of the Universe // "New Energy Technologies". - SPb:Faraday Lab Ltd, 2002, N1(4), p.37.
      -- Фейнман Р. и др. Фейнмановские лекции по физике, том 5. - М.: Изд. "Мир", 1977. - 304 с.
      -- Козырев Н.А. Избранные труды. - Л.: Изд. ЛГУ, 1991, - 443 с.
      -- Лаврентьев М.М. О дистанционном воздействии звезд на резистор // ДАН СССР. 1990, т. 314, N 2 - с. 368-370.
      -- Ефимов А.А., Шпитальная А.А., Заколдаев Ю.А. Эруптивные протуберанцы и землетрясения с точки зрения глобальной анизотропии пространства. В сб. Новые идеи в естествознании. Серия "Проблемы исследования Вселенной", вып. 19. - СПб: РАН, 1996, с. 403-413.
      -- Мишин А.М. Физика параллельных миров. В сб. Фундаментальные проблемы естествознания и техники. Серия "Проблемы исследования Вселенной", вып.23 - СПб: Изд. СПбГУ, 2001, с. 270-274.

Космические энергетические каналы и солнечная активность

  
   Cosmic energy channels and solar activity. It has been established that the beginning of the high-frequency fluctuations of solar activity (SA) measuring in mean solar days is connected with a cosmic en­ergy transported from three channels disposed in next three directions: 1) ? - 330®, ? - +30®; 2) ? - 290®, ? - +35®; 3) ? - 270®, ? = -30® where ? - right as­cension, ? - declination in the second equatorial system of coordinates. The first of them was discovered by AM.Mishin and named "The center of Universe"(it is convent), the other coincides with direction of the cosmic vector potential Ar, the third coincides with direction to the center of Galaxy. It is supposed that cy­clic processes SA of any duration are developed according to the next scheme: "the branch of the growth" - deterministic process, provoked strong energetic "shock" from cosmos; The maximum phase is the reaction of the Sun in the form of the SA amplification; "the branch of the falling" - non-deterministic process, connected with dissipation of the energy received from cosmos; the minimum phase shows on absence of strong energetic "shocks" from cosmos. The "branch of the growth" is less long in time than "branch of the falling". It is possible N. A. Kozyrev's idea is confirmed: the stars of main sequence are not "nuclear boil­ers".
  
   Установлено, что возникновение среднесуточных флуктуации солнеч­ной активности (СА) связано с энергией, поступающей из космического пространства по трём каналам. Для земного наблюдателя их направления проектируются на небесную сферу в точках: 1) ? - 330®, ? - +25®; 2) ? - 290®, ? - +35®; 3) ? - 270®, ? - -30®, где ? - прямое восхождение, ? -склонение (вторая экваториальная система координат). Первое из этих на­правлений обнаружено А.М.Мишиным и названо им "Центром Вселенной" (ЦВ), второе - совпадает с направлением космологического векторного по­тенциала Аг (Аг), третье - с направлением на центр Галактики (ЦГ). Пред­полагается, что циклические процессы любой длительности развиваются по следующей схеме: "ветвь роста" - детерминированный процесс, вызванный сильным энергетическим "ударом" из космоса; "максимум" - реакция Солнца в виде усиления СА; "ветвь спада" - недетерминированный про­цесс, связанный с рассеянием энергии, полученной из космоса; "минимум" - отсутствие сильных энергетических "ударов" из космоса. Обычно, "ветвь роста" менее продолжительна, чем "ветвь спада". По-видимому, Н.А.Козырев был близок к истине, утверждая, что звёзды главной последо­вательности не являются "ядерными котлами".
  
   Одним из главных проявлений циклической активности Солнца яв­ляются пятна, площади которых сопоставимы с размерами планет: диа­метры средних по размерам пятен равны около 40000км, диаметры пор примерно в четыре раза меньше этой величины, а диаметры больших пятен могут превышать в пять, шесть раз среднее значение. Пятна на­блюдать гораздо проще, чем другие проявления СА. О существовании пятен на Солнце еще 1500 лет назад знали древнекитайские астрономы. В 1610-ом году Галилей впервые стал наблюдать их с помощью телеско­па. В 1843-ем году М. Швабе [1] обнаружил, что число пятен меняется с периодом около 10-ти лет. В 1850-ом году Рудольф Вольф подтвердил и уточнил этот период, который оказался равным 11.1 года [2]. Ранее в 1848 году он ввёл цюрихские числа солнечных пятен, которые впослед­ствии стали называть числами Вольфа (W). При этом
  

W = k (10g + s),

  
   где g - число групп пятен, s - общее число пятен во всех группах, k-коэффициент, учитывающий условия наблюдений и тип телескопа. Ис­пользуя разрозненные старые данные, Вольф продолжил значения W до 1749 года и установил эпохи максимумов и минимумов до 1610-го года.
   В настоящее время существует два международных центра: в США (the NOAA Space Environment Center, расположенный в Боулдере) и в Бель­гии (the Sunspot Index Data Center). Они являются ответственными за сбор данных из большого числа обсерваторий, участвующих в Междуна­родной Службе Солнца и публикацию чисел Вольфа.
   На рисунке 1 представлен ряд сглаженных среднегодовых чисел Вольфа за период около 400 лет (1610 - 2000). На рисунках 2 и 3 этот ряд продолжен до ноября 2004-го года и представляет собой текущий 23-ий цикл СА (в Internet в файле http://www.spaceweather.com/ представляются данные американского центра, а в файле http://sidc.oma.be/ европейского центра). Числа Вольфа (рисунок 2), поступающие из центра в Боулдере (США) в 1,5 раза выше, чем из бельгийского международного центра (рисунок 3). На рисунках 2 и 3 показаны не только сглаженные среднегодовые W, но и сглаженные среднемесячные числа Вольфа, а на рисунке 3 даже среднесуточные W. На рисунке 1 просматривается цикл порядка сотни лет (точнее около 80 лет). На рисунке 4 показан среднегодовой и среднемесячный ход потока радиоизлуче­ния Солнца на волне ? = 10,7 см в 23-ем цикле СА. Кривые, представленные на рисунках 2 и 4, неплохо согласуются между собой, хотя ряд W, в отли­чие от потока радиоизлучения на волне ? = I0,7 см, характеризует поведе­ние объектов, занимающих небольшую площадь на полусфере Солнца.

 []

Рисунок 1. Среднегодовые значения чисел Вольфа за период с
1610 года по 2000-ый год (Бельгия)


Рисунок 2. Среднегодовые и среднемесячные значения чисел Вольфа в текущем 23-ем цикле СА (Боулдер, США)

 []

Рисунок 3. Среднегодовые, среднемесячные и среднесуточные значения чисел Вольфа в текущем 23-ем цикле СА (Бельгия)

 []

  

Рисунок 4 Среднегодовые и среднемесячные значения потока радиоизлучения на волне ? = 10,7 см в текущем 23-ем цикле

  
   В настоящем исследовании рассмотрены флуктуации следующих че­тырёх среднесуточных индексов СА в текущем 23-ем цикле: поток ра­диоизлучения на волне ? = 10,7 см, выраженный в единицах солнечного потока (solar flux units), числа Вольфа (W), суммарная площадь пятен на солнечном диске (Sp), измеренная в миллионных долях полусферы Солнца и общее число рентгеновских и оптических вспышек (ni). Чис­ленные значения этих индексов получены на основании информации, представляемой в Internet в виде таблиц и графиков на файлах, организо­ванных Международными Службами Солнца:
  -- http:// www.sec.noaa.gov/indices/old _indices/
  -- http://www.sec.noaa.gov/ftpdir/latest/DSD.txt
  -- http://sidc.oma.be/. архив.
   На рисунках 5, 6, 7 численные значения индексов СА отложены на осях ординат и обозначены sfu 10,7; W; Sp и ni.
   Среднесуточные флуктуации СА как объект исследования выбраны нами неслучайно. Они позволяют более глубоко проникнуть в природу солнечной цикличности и избежать эффекта "иллюзии дискретизации" [3, стр. 79,80].
   Во время первого среднегодового максимума 23-го цикла СА, в июле 2000-го года произошли два события, заслуживающие внимания: 13-го июля на диске Солнца было зарегистрировано рекордное число вспышек в рентгеновском и оптическом диапазоне длин волн - ni = 67, а 20-го ию­ля - самое большое число Вольфа - W=401. Максимальные значения Sp и потока радиоизлучения отмечены на ветви спада 23-го цикла: 26 ок­тября 2003-го года - ? = 10,7см =298 sfu, a 30 октября 2003 года Sp =5690 м.д.п.
   В течение 23-го цикла возникло более сотни среднесуточных флук­туаций. В [4] отмечалось, что число их мало зависит от фазы цикла СА, что подтверждается и на примере текущего цикла.
   Из рисунков 5, 6, 7 видно, что по форме сильные среднесуточные флуктуа­ции мало отличаются от флуктуаций более низкочастотной цикличности (рисунки 1, 2, 3, 4) с их короткой "ветвью роста" и более продолжительной "ветвью спада".
   Причиной возникновения среднемесячных солнечных флуктуаций впервые заинтересовался Ю.И.Витинский [5, 6], познакомившись с рабо­той [7], в которой исследовался сезонный ход СА в зависимости от фазы и чётности 11-летних циклов. В [5] он пришел к выводу, что безотноси­тельно к тому, какими факторами обусловлен механизм солнечной цик­личности, - внешними или внутренними, - выявление сильных годичных вариаций чисел Вольфа на "ветви спада" 11-летних циклов указывает на
   возможность воздействия "...и притом довольно значительного, внеш­них факторов в то время, когда действие внутренних факторов солнеч­ной активности существенно ослаблено или вовсе отсутствует...". Сред­несуточные флуктуации на "ветви спада" в октябре-ноябре 2003-го и 2004-го года, которые привлекли особое внимание специалистов, под­тверждают вывод автора [5].
   О возможности влияния внешних факторов неизвестного происхож­дения на природные процессы может служить, например, информация, полученная по материалам журнала New Scientist от 6-го июня 2002-го года (Internet)
   Современные астрофизики пришли к заключению, что большая часть вещества Вселенной существует в форме "тёмной материи" ("dark matter"), которая почти не взаимодействует с обычной материей. Без этого допу­щения никак не удается понять особенности движения галактик и объяс­нить, откуда приходят космические лучи сверхвысокой энергии, непре­рывно бомбардирующие Землю. Предполагается, что жесткое гамма-излучение приходит к нам из центра Галактики, где в изобилии присут­ствует генерирующая их "тёмная материя". Сравнительно недавно полу­чены данные с помощью телескопа, состоящего из 13-ти связанных мо­дулей, установленного на возвышенности в чилийской пустыне на высо­те 5080 метров (Атакама), о распределении и колебаниях температуры в фоновом космическом излучении. Эти сведения привели к понятию ре-пульсивной (отталкивающей) силы, названной "тёмной энергией" ("dark energy"), которая противодействует гравитации и растягивает Вселенную с увеличивающейся скоростью.

 []

Рисунок 5. Среднесуточная флуктуация СА, длившаяся с 14 марта по 14 апреля 2001-го года (а)


Рисунок 6 Среднесуточная флуктуация СА, длившаяся с 1-го по 22-е июня 2003-го года (b)

 []

Рисунок 7. Среднесуточная флуктуация, длившаяся с 16-го октября по 9-е ноября 2003-го года (с).

  
   Авторы данной статьи, независимо друг от друга [8, 9, 10, 11, 12], а за­тем и в совместных исследованиях, начавшихся в марте 2001-го года, ус­тановили, что возбуждение среднесуточных флуктуации СА происходит под воздействием энергии, поступающей из космического пространства по трём направлениям. Одно из них хорошо известно и совпадает с направле­нием на центр Галактики (ЦГ). Второе направление связано с космологи­ческим векторным потенциалом Аг(Аг), предсказанное на основании тео­ретических работ и найденное с помощью многочисленных эксперимен­тальных исследований Ю.А. Бауровым и его коллегами [13], а также неза­висимо обнаруженное А.А. Ефимовым и А.А.Шпитальной [14] при иссле­довании анизотропии пространственных распределений большого числа мощных нестационарных процессов на Солнце и Земле (вспышек и земле­трясений). Третье направление, открытое А.М. Мишиным [15], исходит из "Центра Вселенной" (ЦВ), или "Звезды Абсолюта".
   Направления пространственной анизотропии в виде трёх энергетиче­ских каналов с качественной оценкой их интенсивности были определе­ны и в лабораторных условиях по новой методологии эксперименталь­ной регистрации нетрадиционных возмущений пространства, заполнен­ного эфиром. Первый прибор с искусственным биополем, методика из­мерений и основные экспериментальные результаты, характеризующие анизотропию космического пространства описаны в [8, 9, 10]. Лабора­торная регистрация характеристик излучения ЦГ, Аг и ЦВ производи­лась ежедневно, начиная с 1-го марта 2001-го года до мая 2004-го года. Резкое изменение интенсивности потоков по трём каналам происходило, практически, синхронно (в пределах точности измерений).
   Направления, связанные с тремя космическими каналами в трёх сис­темах координат: второй экваториальной, эклиптической и галактиче­ской, указаны в таблице 1, где ? и ? - прямое восхождение и склонение; ? и ? - эклиптические долгота и широта; L и В - галактические долгота и широта. Направления указаны с точностью Ђ 5®. Они пересекают поверх­ность Солнца, проходя через его центр на гелиографических широтах (В): ЦГ - Ђ5®, Аг - Ђ60®, ЦВ - Ђ40®.
   Согласно данным гелиосейсмологии [16] максимальная асферич­ность конвективной зоны на Солнце, по-видимому, неслучайно достига­ется на широте В =+60® (выход вектора Аг, проходящего через центр Солнца, на его поверхность). Асферичность конвективной зоны на сол­нечном экваторе имеет другой знак и меньше по абсолютной величине.
   Параметры сферического треугольника, образованного точками ЦГ, Аг и ЦВ на сфере имеют следующие значения в градусной мере:
   Дуга между точками ЦВ и Аг равна 36,3® , между Аг и ЦГ - 68,2®, между ЦГ и ЦВ - 79,2®.
  
   Таблица 1
  
   Канал

?

?

?

?

L

В

   ЦГ(+)

270

-30

270

-7

0

-4

   (-)

90

+30

90

+7

180

+4

   АГ(+)

290

+35

301

+57

67

+10

   (-)

110

-35

121

-57

247

-10

   ЦВ(+)

330

+25

342

+34

80

-24

   (-)

150

-25

162

-34

260

+24

  
  
  
  
  
  
  
  
  
   Угол между дугами Аг, ЦГ и ЦТ, ЦБ равен 67,5®; ЦВ, ЦТ и ЦГ, Аг равен 36,2®; ЦГ, Аг и Аг, ЦВ равен 78,2®.
  
   На рисунках 5, 6 и 7 показаны среднесуточные флуктуации четырёх индексов СА с 14 марта по 15 апреля 2001-го года, с 1 июня по 7 июля 2003-го года и с 12 октября по 21 ноября 2003-го года. Сплошными жирными линиями обозначены потоки радиоизлучения на волне 10,7 см, измеренные в солнечных единицах потока, крестиками и штрихо­выми линиями числа Вольфа, точками и пунктирными линиями сум­марные площади пятен на видимом диске Солнца, кружками и тонки­ми сплошными линиями показаны среднесуточные вариации общего числа рентгеновских и оптических вспышек. Заштрихованные столб­цы отмечают даты возбуждённых состояний космических каналов, зафиксированные лабораторными приборами [8, 9, 10]. В таблице 2 ука­заны гелиографические координаты (В - гелиографическая широта, L - гелиографическая долгота, отсчитываемая от центрального мери­диана Солнца), входа (-) и выхода (+) каналов на видимой стороне солнечного диска во время развития флуктуации.
   Из рассмотрения таблицы 2 видно, что рождение флуктуации всегда связано с расположением одного из трёх возбуждённых энергетических каналов на восточном или западном краю солнечного диска. В случае (а) возбудителем являлся канал ЦГ (рисунок 5). Длительность его воздейст­вия составляла 4 дня. На ветви спада, рассматриваемой флуктуации, Солнце само в течение пяти дней становится источником излучения нетрадиционной энергии. 13-го апреля 2001 года после нового удара, связанного уже с направлением Аг, длительность воздействия которого составлял 2 дня, возникла новая флуктуация меньшей мощности, чем мартовская.
   На рисунке 8 представлена схематическая карта Солнца за 29 марта 2001 года (файл в Internet'e: http://www.solar.ifa.hawaii.edu). Запятнённость Солнца в момент максимальной фазы, рассматриваемой флуктуации, очень велика. Наибольший вклад в суммарную площадь пятен вносит группа 9393 - Sp = 2240 м.д.п. Её площадь была самой большой по срав­нению со всеми другими группами пятен в 23-ем цикле СА. Она образо­валась в первом максимуме текущего 11-летнего цикла.
   Как правило, после "удара" на Солнце появляется большое число групп пятен, состоящих в основном из мелких пятен и пор и только вблизи максимальной фазы флуктуации, через несколько дней появляют­ся группы с большей площадью (рисунок 8). Ветвь спада флуктуации связана либо с заходом групп пятен на западном краю солнечного диска, либо с исчезновением их на самом диске.
  
  
  
  
  
  
  
   Таблица 2
  
   Дата
  
   ЦВ
  
   Аг
  
   ЦГ
  
   2001
  
   L
   В
   L
   В
   L
   В
   март
   01
   0
   -40
   -50
   -60
   -70
   +4
  
   15
   -14
   -40
   -65
   -60
   -85
   +4
   а
   20
   -19
   -40
   -70
   -60
   -90
   +4
  
   25
   -24
   -40
   -75
   -60
   +85
   -4
   +
  
   29
   -28
   -40
   -80
   -60
   +80
   -4
   +
   апрель
   13
   -43
   -40 -
   +85
   +60 +
   +65
   -4
   +
   2003
  
  
  
  
  
  
  
   июнь
   02
   +90
   +40
   +
   +40
   +60
   +
   +20
   -4
   +
   b
   04
   +88
   +40
   +
   +38
   +60
   +
   +18
   -4
   +
  
   10
   +82
   +40 +
   +32
   +60
   +
   +12
   -4
   +
  
   14
   +78
   +40
   +
   +28
   +60
   +
   +08
   -4
   +
   2003
  
  
  
  
  
  
  
   октябрь
   20
   -40
   +40
   +
   -90
   +60
   +
   +60
   +4
  
   24
   -44
   +40
   +
   +86
   -60
   +56
   +4
   с
   29
   -49
   +40
   +
   +81
   -60
   +51
   +4
   ноябрь
   03
   -54
   +40
   +
   +76
   -60
   +46
   +4
  
   05
   -56
   +40
   +
   +74
   -60
   +44
   +4

 []

Рисунок 8. Схематическая карта Солнца за 29 марта 2001 года.

  
   В случае (b) причина флуктуации связана с каналом ЦВ (рисунок 6, таблица 2) Для возбуждения флуктуации потребовалось 2 дня. Переизлучение Солнцем нетрадиционной энергии началось в максимуме и закончилось в минимальной фазе, рассматриваемой флуктуации.
   В случае (с) грандиозная флуктуация на ветви спада текущего 11-летнего цикла, удивившая специалистов неожиданностью своего появле­ния на фоне абсолютно спокойного Солнца, обязана вектору Аг. Поток радиоизлучения на волне ? = I0,7см во время этой флуктуации был макси­мальным за текущий цикл и равнялся 26 октября 298 s.f.u., вслед за пото­ком радиоизлучения 30 октября рекордного значения достигла суммарная площадь пятен - Sp = 5690 м.д.п,.(см. правую шкалу по оси ординат на рисунке 7)
   Закономерности при возникновении, развитии и исчезновении сред­несуточных флуктуаций, характерны не только для рассмотренных здесь явлений, но и для других флуктуаций 23-го цикла.
   По-видимому, закономерности, связанные с развитием активных процессов любых пространственных и временных масштабов в нашей Вселенной, носят универсальный характер. СА является лишь частным их проявлением, но очень важным для земной цивилизации. Эти законо­мерности необходимо изучать и знать.
   Авторы пришли к выводу, что Солнечная магнитная цикличность с любым периодом инициируется благодаря энергии, поступающей по трём энергетическим каналам: ЦВ, ЦГ, Аг. Поэтому "ветвь роста" носит детерминированный характер. После поглощения нетрадиционной энер­гии Солнце, как возможно и другие объекты Вселенной, само становится переизлучателем этой энергии. При этом каждый объект, по-видимому, обладает характерным только для него спектром поглощения и излучения этой нетрадиционной энергии. Реакция Солнца на "удар" выражается в возникновении сначала большого числа групп, состоящих из мелких пятен и пор, а затем и возникновении или развитии групп, в состав которых входят большие пятна. Процесс носит глобальный харак­тер. Развитие больших групп со сложной магнитной конфигурацией при­водит к возникновению и усилению вспышечной активности во всех спектральных диапазонах (от гамма-лучей до радиоизлучения) и на всех "этажах" солнечной атмосферы. Происходит возникновение новых цен­тров активности или активных областей (АО) и разрушение старых АО. Солнечная корона, первой принимающая "удар", начинает усиленно све­титься в виде узких лучей на гелиографических широтах, связанных с широтами входа и выхода энергетических каналов. "Ветвь спада" связа­на с рассеянием полученной энергии и носит недетерминированный ха­рактер. В моменты, когда Солнце спокойно, нетрадиционное излучение имеет минимальную интенсивность и в лабораторных условиях регист­рируется в виде фликкер-шумов.
   Полученные результаты позволяют сделать вывод о возможности прогнозов среднесуточной циклической активности Солнца. При этом лидирующую роль играет канал ЦВ, который вспышечно-ударным излу­чением возбуждает другие каналы.
   В настоящее время господствует теория, утверждающая, что основ­ным источником энергии любой звезды главной последовательности на диаграмме Герцшпрунга-Рассела является энергия, освобождающаяся в результате термоядерных реакций в центре звезды, которая затем пере­носится в верхние слои. Полученные нами результаты делают сомни­тельным это утверждение. Возможно, термоядерные реакции и играют какую-то роль в энергетическом "питании" звезды, но не главную.
   Николай Александрович Козырев справедливо говорил о том, что звезда - это экономная машина, перерабатывающая неизвестную форму энергии, приходящую извне, в радиацию. На производство энергии она, практически, не затрачивает своего материала. Так, один грамм солнеч­ного вещества даёт мощность около двух ватт, тогда как внутризвездный ядерный реактор требует существенных затрат звёздного вещества при переработке его в излучение по принципу эквивалентности массы и энергии [17]. Излучение одиночных аномальных рентгеновских пульса­ров нельзя объяснить ни энергией вращения, ни аккрецией материи из звезды-компаньона [18]. Они особенно должны взаимодействовать с не­традиционными источниками энергии.
   Изложенные здесь результаты не являются истиной в последней ин­станции и нуждаются в доработке и дополнительных ис­следованиях, но они должны способствовать развитию новых научных направлений, более точно объясняющих закономерности природных яв­лений.
  

ЛИТЕРАТУРА

  
      -- Schwabe M., Astron.Nachr., 21, 234 ,1849.
      -- Wolf A.R. Astron. Mitt. Eidg. Stern, Zurich, 10,6,1858.
      -- Степанюк И.А. Особенности реакций биологических и физико-химических систем на внешние факторы. - СПб.: Изд-во РГГМУ, 2004. - 98 с.
      -- Зирин Г. Солнечная атмосфера. - М.: Изд-во "Мир", 1969, с. 379,380.
      -- Витинский Ю.И. Цикличность и прогнозы солнечной активности. - Л.: Изд-во "Наука", 1973.
      -- Витинский Ю.И. О годичной вариации сильных флуктуаций чисел Вольфа. "Солнечные данные", 1974, N 4, с. 111-118.
      -- Васильева Г.Я., Кузнецов Д.А., Шпитальная А.А., Петрова Н.С. К вопросу о годичных вариациях солнечной активности. Зависимость сезонного измене­ния от фазы цикла. "Солнечные данные", 1974, N 4, с. 96-109.
      -- Мишин A.M. Результаты эксперимента по регистрации эфирного ветра. В сб. Новые идеи в естествознании. Серия "Проблемы исследования Вселенной ", вып. 18. - СПб.: РАН, 1995, с. 24-33.
      -- Мишин A.M. Антигравитация и новые энергетические процессы. В сб. Фундаментальные проблемы естествознания и техники. Серия "Проблемы исследования Вселенной", вып. 23. - СПб.: Изд-во СПбГУ, 2001, с. 275-283.
      -- Мишин А.М. Новые свойства и возможности автоколебательной системы // "Физическая мысль России", 1998, N1, с. 33-35.
      -- Шпитальная А.А. Серия "Проблемы исследования Вселенной", вып.7. - М.-Л., 1978, с.264.
      -- Шпитальная А.А. В сб. Развитие методов астрономических исследований. Серия "Проблемы исследования Вселенной", вып.8. - М.-Л., 1979,с.193.
      -- Бауров Ю.А. Структура физического пространства и новый способ получения энергии (теория, эксперимент, прикладные вопросы). - М.: Изд-во "Кречет", 1998. - 240 с.
      -- Ефимов А.А., Шпитальная А.А. К вопросу о движении Солнечной системы относительно фонового излучения Вселенной. В сб. Проявление космических факторов на Земле и звездах. Серия "Проблемы исследования Вселенной", вып.9. - М.-Л., 1980, с.67-75.
      -- Мишин A.M. Эмпирическая модель Вселенной со Звездой Абсолюта в цен­тре. В сб. Фундаментальные проблемы естествознания и техники. Серия "Проблемы исследования Вселенной", вып. 29, часть II. - СПб: Изд-во "Осипов", 2005, с. 178-195.
      -- Antia H.M., Chitre S.M., Thompson M.J. On variation of the latitudinal structure of the solar convection zone // Astron. Astrophys., 2003, v399, p.p. 329-336.
      -- Козырев Н.А. Избранные труды. - Л.: Изд-во ЛГУ, 1991. - 443 с.
      -- Gavriil F. P., Kaspi V. M. and Woods P.M. Magnetors -like X-ray bursts from an anomalous X-ray pulsar. Nature, vol. 419, 2002, p.142.
  

Эфирные источники энергии Солнца

   В дополнение к ранее опубликованным материалам по влиянию на солнечную активность космических энергетических каналов рассмотрен принцип автономности Солнечной системы, который реализован "мерцающим" энергоинформационным барьером, закрывающим наш Мир от внешнего Космоса. Открыты новые сверхфизические источники энергии Солнца.
  
   На исходе 1999 г. был открыт основной закон эфиродинамики, закон возбуждения вихре-волновых потоков в свободном эфире с образованием невидимой ("темной") сверхфизической материи [1,2]. Это позволило объяснить существующее в Космосе анизотропное направ­ление (БЕШ), найти неизвестные ранее направления потоков нетрадиционной энергии, понять физику "темного" вещества (квазивещества) и определить точные координаты Центра вращающейся Вселенной (ЦВ). С 2001 г. совместно со Шпитальной А.А. изучается влияние ЦВ, других активных центров и ани­зотропных направлений на солнечную активность [3].
   В публикации [4] изложена эмпирическая модель вращающейся Вселен­ной со Звездой Абсолюта (ЗА) в Центре. Из результатов измерений приборами с искусственным биополем (аппаратурой высшей физики) [5] следует вывод, что ЗА обладает высокой "вспышечной" активностью, пре­вышающей нетрадиционное излучение всех известных космических источни­ков. Однако одновременно с ЗА повышается интенсивность излучения Центра Галактики, направления анизотропии Баурова-Ефимова-Шпитальной (БЕШ) и других энергетических каналов Космоса, влияющих на активность Солнца. Можно предположить, что излучение ЗА ретранслируется (отражается) космическими объектами, но такое объяснение наблюдаемых явлений тре­бует близкой к бесконечной скорости распространения нетрадиционных возмущений в пространстве-эфире.
   По моей модели Единого Поля Эфира [6] скорость передачи взаимодей­ствия растет с уменьшением размеров вихрей-корпускул и приближается к бесконечной на "дне" Вселенной. В принципе ЗА, как наиболее широкополо­сная по вихревому спектру, может "касаться дна" и почти одновременно воздействовать на все объекты Вселенной через сверхсветовой "туннельный" канал как 4-ое пространственное измерение.
   Этому выводу способствует установленный факт, что во время ударной волны со стороны ЗА эфир "твердеет", значительно уве­личивая скорость распространения вихревых волн в более широком спектре с выходом в подпространство физического вакуума. Проф. Смирнов А.П. также утверждает, что с увеличением частоты колебательного процесса эфир становится более жестким. И все же остаются сомнения в отношении согласованного "туннельного" влияния ЗА и других космических объектов на процессы солнечной активности. Посмотрим еще раз на совокупность экспериментальных и наблюдательных фактов с целью поиска альтернатив­ной или уточненной модели взаимодействия космических тел, а также исследуем новые источники энергии Солнца.
   В работе [4] упоминалось о специальных наблюдениях, доказывающих, что существует явление эфирного "дыхания" Земли и Солнца. В планеты и звезды из Космоса втекает плотный тонкоструктурный эфир (квазивещество со своим подпространством), а вытекает отработанный менее энерго­емкий эфир. Интересные результаты приведены в работе [7], где анализируется загадочное направленное в сторону Солнца ускорение космических аппаратов "Пионер-10", "Пионер-11" и "Галилео". На мой эмпирический взгляд, автор делает совершенно пра­вильный вывод о существовании звездного, планетарного и галактическо­го ветров, втягивающих соответствующие подпространства в центры грави­тации. Но в этом исследовании речь идет только о постоянной составляющей "дыхания" космических тел. В действительности на рассматриваемые кос­мические аппараты действует разность силового давления (5-ой физичес­кой силы!) входящего в Солнце и выходящего из него эфирных потоков, хотя и су­щественно различающихся по вихревому спектру.
   Более того, оказывается, что кроме "звездного ветра" существует ритмичное "дыхание" звезд и планет. Для Земли этот процесс много лет исследуют в ИЗМИРАН под руководством Луговенко В.Н. [8]. Изучены количественные характеристи­ки сверхфизического "дыхания" Земли в зависимости от времени суток, ге­ографической широты и т.д. В частности для средней полосы России пери­одичность "дыхания" равна примерно 40 минутам.
   Эфирное "дыхание" Солнца давно привлекало мое внимание. Еще в работе [9] было высказано предположение, что межпланетное магнитное поле Солнца создается потоком эфира, который способен внести организацию в случай­ное поле вихревых нитей, имеющихся в пространстве. В результате чувст­вительные магнитометры регистрируют межпланетное магнитное поле, кото­рое квазипериодически меняет ориентацию на противоположную. Измерения методами высшей физики подтверждают наличие адекватной картины эфирных пото­ков. Полупериод "дыхания" Солнца в среднем равен 7 суткам. Укоренивше­еся представление о 4-х разнонаправленных магнитных лепестках межпла­нетного магнитного поля Солнца отражает лишь тот факт, что наша звез­да делает один оборот за 4 "вдоха" и "выдоха", и это создает иллюзию лепестковой структуры. В действительности в любой точке земной орбиты одновременные измерения магнитного поля должны быть идентичными, что можно проверить с помощью космических аппаратов.
   Информация о "дыхании" космических тел приведена здесь не случайно. Оказывается, наиболее ритмичные удары ЗА (из ЦВ), по каналу БЕШ и другим энергетическим каналам совпадают во времени с моментом смены знака солнечных эфирных потоков, или межпланетного магнитного поля. Чтобы разобраться в изучаемой проблеме и приблизиться к более достоверной модели взаимодействия объектов Вселенной, необходимо сде­лать еще одно отступление.
   Начиная с публикации [5], я постоянно информировал научную обще­ственность о существовании адаптационного энергоинформационного барь­ера, отделяющего наш физический мир от свободного эфира ("жидко-газообразной" фазы единого поля) и нетрадиционных излучений. Например, по классике явление инерции в механи­ке - это закон, не нарушаемый ни при каких условиях. Но при взаимодей­ствии любого физического тела со свободным эфиром закон инерции в кон­кретном опыте теряет силу во времени по экспоненте с постоянной време­ни от долей секунды до нескольких часов. Указанный временной интервал зависит от многих факторов, поэтому сверхфизический закон инерции мож­но назвать "мерцающим". "Мерцают" на Земле и все другие законы высшей физики за счет существования энергоинформационного барьера. По физической сути это хорошо известные фликкер-шумы, до сих пор не понятые в рамках ортодоксальной науки. С этими шумами, т.е. флуктуациями адаптационного барьера стал­киваются ученые всех направлений (в механике, электронике, геофизике, биологии и т.д.) [10].
   В типичных лабораторных условиях при измерении реакции тела на возникший поток эфира (вариант сверхфизической инерции, или пятой физической си­лы) в первом опыте получается нетрадиционный результат, соизмеримый с классической инерцией. Во втором опыте в тех же условиях результат в три раза меньше, а третий проходит на уровне шумов. В отличие от обыч­ной инерции все последующие измерения дают нулевые результаты. Этот вариант я назвал "законом триады" [5].
   Как уже сообщалось [5], физика адаптационного барьера заключает­ся во взаимодействии тела с эфиром через сверхтекучую, квантовую вих­ревую вязкость, которая рано или поздно детерминированный силовой эф­фект сводит к фликкер-шумам, содержащим сравнительно малую постоянную составляющую. Лабораторное оборудование и занимаемое им пространство адаптируются к потоку эфира путем создания вихревой матрицы, существу­ющей до тех пор, пока ее на некоторое время не разрушит создающее неравновесность внешнее воздействие (перенос аппаратуры на новое место и другие нестационарные процессы в эфире). Таким образом, классическая инерция присуща только уровню специфически взаимодействующего с веществом фи­зического вакуума.
   В работе [11] сформулирован принцип физической автономности, утве­рждающий, что всякая пространственно обособленная масса (например, планета) является эфирной системой, к которой применим многомерный принцип относите­льности, отражающий фундаментальное свойство единого поля. Подобная автономная масса уподобляется минивселенной со своими эфирными подпро­странствами, повторяющими основные фазы вселенского вихревого спектра в более узкой (зависит от величины массы) полосе пространственно-вре­менных частот. Так, в местной системе планеты Земля ее эфирное тело во­спроизводит структуру гравитационного поля с энергетическим "дном" в центре массы. В результате такое сферическое тело оказывается энерге­тическим стоком, гравитационной "воронкой" и нагревается изнутри. При этом космическое тело всегда вращается в автоколебательном режиме "сжатие-расширение", сопровождаемом синхронным изменением вращательного момента и процессом эфи­рного "дыхания".
   Принцип автономности с более общих позиций освещает проблему взаимодействия нашего мира с другими уровнями Мироздания (параллельны­ми мирами). Этому принципу подчиняются все "жизнеспособные" системы Вселенной.
   Таким образом, каждая физическая и космическая система имеет свой адаптационный барьер, свою степень автономности. Наблюдения показыва­ют, что земной барьер заметно разрушается во время смены фаз Луны, а еще больше при затмениях Солнца и приближении комет. Сол­нечная система открывает особое "окно" в Космос в моменты изменения направле­ния эфирных потоков собственного "дыхания". Этот процесс можно контролировать по вариациям знака межпланетного магнитного поля и, как обнаружила Шпитальная А.А., по всплескам интенсивности рентге­новского излучения Солнца. Но наиболее информативными остаются нетра­диционные, сверхфизические наблюдения излучения ЦВ [5].
   В моменты смены направления эфирного потока в процессе "дыхания" в масштабах всей Солнечной системы наступает затишье, и эфир "стеклянеет" под "напором" излучения ЦВ. На Земле в это время на больших расстояниях слышны звонкие голо­са детей с подчеркнутыми высокими частотами. Образно говоря, это затишье перед косми­ческой бурей. "Стеклянный" эфир, как и в первой модели, перекидывает мост в другие уровни Мироздания и создает условия для передачи энергии между мирами через "красный" и "фиолетовый" энергетические каскады [6], которыми управляет особый малоизученный адаптационный барьер термодинамической устойчивости Единого Поля Эфира. Это тот случай, когда энергия перемещается по вихревому спектру в фазе "стеклянного" эфира.
   Обобщение и анализ приведенных наблюдательных и экспериментальных результатов позволяют сделать следующие выводы.
   1. Автоколебательный режим вращения Солнца, сопровождающийся изме­нением вращательного момента и процессом эфирного "дыхания" в многомодовом режиме, снабжа­ет нашу звезду энергией из окружающего космического пространства. Поглощенный при "вдохе" тонкоструктурный "жидкий" эфир превращается в га­зообразную фазу, т.е. Солнце, реализуя "красный" энергокаскад с выделением энергии, являет­ся сверхфизическим "ядерным реактором" (см. также о всемирном энергообмене в [11]). Указанные процессы с учетом эффекта гравитационной "воронки" ("звездного ветра") являются главным принципом получения энергии звездой. Кроме рассмот­ренного выше режима, существует 11-летний цикл и другие.
   2. При изменении направления эфирных потоков в процессе "дыхания" Солнечная система открывает "окно" в адаптационном барьере для всех внешних энергетических каналов, получая дополнительную энергию в виде квазипериодической активности Солнца со средним периодом 6 - 7 суток [1,2]. Так как адаптационный барьер выполняет роль "шлюза", то все космические энергетические источники одновременно, но кратковременно (до 3-х суток) воздействуют на Солнце независимо от расстояния до источни­ка и независимо от скорости распространения вихре-волновых возмущений в мировом пространстве-эфире. Внешний энергетический поток всегда стоит перед "шлюзом".
   3. Причиной появления "окна" в адаптационном барьере Солне­чной системы является остановка эфирного потока в моменты смены знака его скорости (задержки "дыхания") с переходом эфира в фазу "стекла". Последний процесс создает термодинамическую неустойчивость в 4-м пространственном измерении и способствует энергообмену уровня физического вакуума с другими подпространствами для всех тел Солнечной системы. Фаза "стекла" продолжается в среднем до одних суток, а неравновесность в автономном эфирном подпространстве появляется еще раньше, с началом переходного процесса. Благодаря инерционности внешнего эфирного потока (инерционности открытия "шлюза") возникает запаздывание до одних суток, и главная энергетическая волна из Центра Вселенной (и по другим каналам) обычно совпадает с концом фазы "стеклянного" эфира. При этом наблюдаются интенсивные хаотические всплески нетрадиционного излучения средней продолжительности до 3-х суток.
   Теоретически проницаемость адаптационного барьера Солнечной системы пропорциональна ускорению эфирного потока при "вдохе" и "выдохе" (производной от скорости потока по времени), которое может иметь по абсолютной величине два максимума на интервале задержки "дыхания" (фазы "стекла"). Эта закономерность лучше просматривается в 11-летнем цикле солнечной активности [3], который характеризуется более выраженным процессом "расширение - сжатие" и также должен сопровождаться эфирным "дыханием".
   4. Поскольку в ряду обычных проникающих через солнечные "окна" ("шлюзы") квазипериодических импульсов из Центра Вселенной наблюдаются редкие сверхмощные ударные возмущения продолжительностью более 3-х суток, то последние следует отнести к вспыш­кам Звезды Абсолюта, которые превышают возможности автономной защиты Солнечной системы и способны создать свои "окна" на более масштабном уровне системной иерархии Вселенной. В этом случае фаза "стеклянного" эфира должна рас­пространяться на межгалактическое пространство. Открытие межгалакти­ческого "шлюза" и всех нижестоящих тем более создает условия для одновременного воздейст­вия на Солнечную систему всех космических энергетических каналов неза­висимо от скорости распространения эфирных возмущений.
   5. Если Солнечная система имеет свою гравитационную "воронку" и набор циклов эфирного "дыхания", то и в нашей Галактике должны наблюдаться подобные циклы. По-видимому, следствием одного из галактических циклов являются ледниковые периоды на Земле. Вселенная в целом также должна вращаться в режиме автоколебаний "расширение - сжатие" с сопутствующим эфирным "дыханием" (периодическим изменением знака эфирного ветра в соответствующем подпространстве).
   Первопричиной вращательного момента всех космических вихревых систем является втекание эфира в гравитационную "воронку" как своеобразную "черную дыру" в едином поле многомерного анизотропного эфира. ("Перетекание" эфира из одного подпространства в другое, а земной аналог - втекание воды в сливное отверстие ванной). В масштабах Вселенной интенсивность эфирных процессов растет с увеличением размера и массы космической системы. Об автоколебательных режимах элементарных частиц писали Родимов Б.Н. и Герловин И.Л.
  
   Итак, получена новая более достоверная модель эфиродинамики Солнца и взаимодействия косми­ческих тел. Указанные в выводах по пунктам 1-4 эфиродинамические процессы отвечают базовым принципам, определяющим энергетику нашей звезды. Вывод по пункту 5 обобщает полу­ченные результаты на Галактику и Вселенную, которые обладают фрактальной автономностью на своих иерархических уровнях.
   Однако теперь нельзя наблюдаемое через узкие солнечные "окна" нетрадиционное излучение Звезды Абсолюта считать ее истинной характеристикой. Необхо­дим большой объем непрерывных наблюдений для получения достоверных статистических выводов, чтобы судить о вариациях реальной активности ЗА. Вместе с тем, вспышки ЗА можно идентифицировать, сравнивая время появления сверхмощных ударных возмущений, наблюдаемых сверхфизическими и астрофизическими методами, с достаточно закономерной периодичностью "дыхания" Солнца. При определении интенсивности космических бурь необходимо учитывать и такие ред­кие явления как затмения Солнца и Луны, парады планет и другие нестандартные ситуации в Космосе. Кстати, околоземный эфир очень сильно "напрягается" во время приближение комет и в меньшей мере астероидов.
  
   Учитывая нетрадиционность обсуждаемых вопросов, приведу дополни­тельные соображения и пояснения, чтобы читатель вместе со мной под ра­зличными ракурсами еще раз обозрел наиболее важные фрагменты трудно воспринимаемой научной концепции.
   Адаптационный энергоинформационный барьер, или принцип автономно­сти, разделяющий физические тела и космические системы в Едином Поле Эфира и ограничивающий взаимодействие с самим эфиром, является фундаментальным законом Природы [11]. Плотность этого барьера в земных условиях флуктуирует в среднем на 4%. Соответственно классический фи­зический мир статистически устойчив на 96 % (на достаточно длительном интервале времени [10]), и с такой же вероятностью открыт для внешнего Космоса в подпространстве физического вакуума че­рез обычные виды излучений.
   Однако существуют выбросы, в частности, локально нарушающие извес­тные физические законы, - это смерчи, аномальные зоны, НЛО, полтергейст и т.д. Такие выбросы физически объясняются появлением геофизических "окон" в адапта­ционном барьере, т.е. "окон" в параллельные миры. В обычной, элементарной физике при­веденные факты сводятся к узкой проблеме фликкер-шумов, и большинство ученых всячески обходят явление редких аномальных выбросов, ограничиваясь изучением спо­койных флуктуаций.
   Мои исследования высшей физики фликкер-шумов привели в простран­ство-эфир 4-х пространственных измерений, где новая "фрактальная" ко­ордината наделяет Единое Поле сверхтекучего Эфира стереодинамической, топологической многомерностью, пространственно-частотные уровни кото­рой (уровни "вибраций") представлены всеми известными в физике фазовыми состояниями (газ - жидкость - кристалл - плазма) [6]. Состояние газа и жидкости - это и есть наиболее важный для космических масштабов свободный эфир, динами­ка которого объясняет подъем энергетического спектра фликкер-шумов в сторону меньших частот (больших длин пространственных волн). При этом с увеличением масштаба динамического процесса жидкими и газообразными становятся все более тонкоструктурные, более глубокие слои Единого Поля Эфира [6]. А "окна" в адаптационном барьере открываются тем шире, чем реже появля­ется причина для их возникновения (например, вторжение в Солнечную систему тела из дальнего Космоса).
   В астрофизике оказалось возможным найти описанные выше явные закономерности появления выбросов фликкер-шумов, т.е. квазирегулярное появление "окон" в адаптационном барьере Солнечной системы. Важность этого результата доказывает преимущества методов высшей физики и эфиродинамического подхода, открывающих новые горизонты в гносеологии, естественных и прикладных науках.
   Иногда задают вопрос: зачем вводить 4-ое пространственное измере­ние, когда обоснованным фундаментом современной физики является трехмерное пространство?
   Действительно, при рассмотрении наиболее близкого к нашей теме турбулентного, вихревого поля в обычной гидродинамике нет необходимости вводить 4-ое пространственное измерение, потому что с изменением размера вих­рей свойства среды не изменяются и на 96 % подчиняются классическим, элементарным законам. Другое дело, единое поле эфира как многомерное физическое пространство, где с изменением размера квантованных вихрей мы переходим на другие уровни (этажи, планы) Мироздания с новыми мировыми константами и изменением качества физических законов. (Например, уровень физического вакуума соответствует размеру электрона, и этим масштабом определяются свойства нашего Мира). Поэто­му 4-ая пространственная координата, пронизывая параллельные миры, от­крывает путь для построения принципиально новых концептуальных основ естествознания.
   Выше говорилось о том, что при отклонении от подпространства физического вакуума в сторону увеличения размера вихрей эфир переходит в "жидкогазовую" фазу. Возмущения такого эфира проникают в наш Мир, и земные законы физики, а особенно геофизики приобретают "мерцающий" характер. Такую картину видит земной "электронный" человек, закрытый адаптационным барьером. Этот наблюдатель (как и мы с вами) хотя и имеет макроскопические размеры, все равно его плотное тело подчиняется законам, отвечающим уровню физического вакуума. Истинных законов других уровней Мироздания он не знает, так как по классическому физическому телу к ним не принадлежит. Ему, имеющему пять органов чувств, достается наблюдать только фликкер-шумы и непонятные редкие явления - выбросы, которые он в рамках элементарной физики называет лженаукой.
   Стандартный "заземленный" ученый, используя электромагнитные волны, ведет астрофизические наблюдения через узкую полоску пространственно-временного вихревого спектра эфира, называемого физическим вакуумом, и не прилагает усилий для построения приборов на принципах высшей физики. Такому ученому неизвестно также, что геофизические процессы только на 50% пересекаются с "электронным" миром (отсюда неточности в метеопрогнозах), а галактики воспринимают наш мир как "белый шум" и живут по своим сверхфизическим законам, т.е. многомерным законам высшей физики. В Большом Космосе главенствуют различные виды невидимого "темного" вещества и протовещества (невозмущенного подпространства) [1,2], что, наконец, вынуждены признать даже ученые академических институтов.
   В одном из выступлений проф. Смирнов А.П. со ссылкой на древние манускрипты сообщил, что любая область пространства характеризуется длиной, шириной, высотой и... "глубиной", т.е. 4-мя пространственными измерениями. В свете сказанного ясно, что эта "глубина" соответствует фрактальному направлению, ведущему в бесчисленные подпространства параллельных миров.
   Как известно из эзотерических источников, разумные миры находятся "слева" от уровня физического вакуума (см. рисунок 1 на стр. 160), т.е. в подпространстве с размерами вихрей-корпускул на много порядков меньше электрона. (Также в "левом" подпространстве находятся микролептоны Охатрина А.Ф. и электрино Базиева Д.Х.).
   Согласно последним данным взаимосвязь с одним из Тонких Миров давно изучается западными учеными и находит экспериментальное подтверждение [12]. Получены сообщения от потусторонних обитателей, что они живут рядом с нами, но по другим физическим законам. Эти факты, когда подтвердится их достоверность, окончательно докажут научную необходимость введения 4-го пространственного измерения.
   Все параллельные миры, действительно, вложены друг в друга в пространственной вихревой иерархии, но часто употребляемое сравнение физического пространства с "матрешкой" не отражает всей реальности. Более наглядно сравнивать Единое Поле Эфира со средой, включающей в себя множество растворенных друг в друге жидкостей с различным размером молекул. Особенность эфира заключается в том, что в общем объеме трехмерного пространства эти "жидкости" (вихревые эфиродинамические структуры и системы) сосуществуют автономно и также независимы, как независим наш физический Мир от других не менее физических параллельных миров. Это последнее свойство Мироздания труднее всего воспринимается традиционным научным сознанием.
   В заключение выражаю глубокую признательность Председателю Между­народного научного конгресса "Фундаментальные проблемы естествознания и техники" профессору Смирнову А.П. и сотруднику ГАО РАН в Пулково Шпитальной А.А., общение с которыми стимулировало написание этой статьи.
  

ЛИТЕРАТУРА

  
      -- Мишин A.M. Основной закон эфиродинамики. В сб. Фундаментальные проблемы естествознания и техники. Серия "Проблемы исследования Вселенной", вып. 26, часть III. - СПб.: Изд-во СПбГУ, 2003, с. 206-218.
      -- Мишин A.M. Получено "темное вещество", решающее космические про­блемы. В сб. Фундаментальные проблемы естествознания и техники. Серия "Проблемы исследования Вселенной", вып. 28. - СПб.: Изд-во "Акционер и К0", 2004, с. 269 - 278.
      -- Шпитальная А.А., Мишин A.M. Космические энергетические каналы и солнечная активность. В сб. Фундаментальные проблемы естествознания и техники. Серия "Проблемы исследования Вселенной", вып.:29" часть II. - СПб.: Изд-во "Осипов", 2005, с. 417 - 431.
      -- Мишин A.M. Эмпирическая модель Вселенной со Звездой Абсолюта в Центре. Там же, с. 178 - 197.
      -- Мишин A.M. Результаты эксперимента по регистрации эфирного ветра. В сб. Новые идеи в естествознании. Серия "Проблемы исследования Вселенной", вып. 18. - СПб.: РАН, 1995, с. 24 - 33.
      -- Мишин A.M. Эфир как единое поле. В сб. Фундаментальные проблемы естествознания и техники. Серия "Проблемы исследования Вселенной", вып. 27. - СПб.: Изд-во "Акционер и К0", 2004, с. 269 - 278.
      -- Бледнов В.А. О "загадочном ускорении" космических аппаратов "Пионер 10", "Пионер 11", "Галилео" на краю Солнечной системы. Там же, с. 91 - 101.
      -- Луговенко В.Н. "Дыхание" Земли. - М.: "Новый век", 2002. - 192 с.
      -- Мишин A.M. О макроскопической механике физического вакуума. В сб. Развитие классических методов исследования в естествознании. Серия "Проблемы исследования Вселенной", вып. 17. - СПб.: РАН, 1994, с. 94 -99.
      -- Шноль С.Э. и др. Дискретные спектры амплитуд (гистограммы) макроскопических флуктуации в процессах различной природы. - Пущино: Б.И., 1985. - 39 с. - (Препринт/ИБФ АН СССР).
      -- Мишин A.M. Фундаментальные свойства эфира. В сб. Фундаментальные проблемы естествознания. Серия "Проблемы исследования Вселенной", вып. 21. - СПб.: РАН, 1999, с. 176 - 178.
      -- Хильдегард Шефер. Мост между мирами. Теория и практика электронного общения с Тонким Миром. - СПб.: "Невская перспектива", 2005. - 352 с.
  

Сверхфизическая взаимосвязь космических тел

  
   Экспериментально обнаружены и изучены узкие энергетические каналы между космическими и другими телами. Доказано, что при наблюдении небесных тел прибором с искусственным биополем регистрируется два сигнала: первый соответствует оптическому изображеню тела, а второй - нетрадиционному ("черному").
  
   Известно, что элементарные частицы при взаимодействии с физическим вакуумом изменяют свои параметры ("лэмбовский сдвиг", "нулевые" колебания полей вакуума) [1]. Вокруг реальных частиц образуется облако, "шуба" из виртуальных частиц. "Нулевые" колебания вакуума с точки зрения нашей модели [2] - это гиперчастотные "фликкер-шумы", вызванные влиянием более тонкого подпространства, включающего эфиродинамические структуры в виде кварков и глюонов.
   Если элементарные частицы притягивают вихри эфира, то это явление должно наблюдаться и в макроскопических телах, включая космические масштабы. Все физические тела втягивают в себя завихренный в широком спектре окружающий эфир, включая вихри, соизмеримые с телом, и приобретают переменную эфиродинамическую "жидкую" массу, составляющую в максимуме до 20% от массы классического вещества, что имеет эмпирическое подтверждение [3,4].
   Ясно, что присоединенная "жидкая" масса макротела - это сверхфизическая виртуальная сущность, проявляющая себя в полной мере в особых условиях, так как ее вихревой спектральный состав, наблюдаемый методом физической сенсорики, лежит за пределами физического вакуума и принадлежит другим подпространствам. Величина сверхфизической массы в обычных условиях флуктуирует по закону фликкер-шумов (полная аналогия с "нулевыми" колебаниями вакуума).
   Космические тела независимо от величины и расстояния объединяют свои "жидкие" массы через уплотненный эфирный канал, соизмеримый по диаметру с размерами тел. Если тела имеют одинаковую массу, то эфир в канале находится в стационарном состоянии. В других случаях внутри канала существует движение "темного" вещества в сторону большего тела. Так образуется сверхфизическая взаимосвязь любых биосистем и физических тел космических, геофизических и техногенных (лабораторных) масштабов. Гравитационное взаимодействие классического вещества реализуется, по-видимому, в подпространстве более тонком, чем физический вакуум, и не имеет склонности к канализации.
   Легко представить межзвездное пространство-эфир, пронизанное по всем направлениям неизмеримым количеством каналов, соединяющих планеты, звезды и другие космические тела. Хотя каждый канал обладает индивидуальным вихревым спектром, в среднем энергетический спектр эфира должен иметь заметный энергетический подъем в вещественной области, включая масштабы элементарных частиц, атомов, молекул и размеры тела. При этом образуется упругая прослойка, выходящая за пределы физического вакуума в сторону брльших масштабов (см. рисунок 1 на стр. 160). Эта прослойка главным образом заполняет экваториальное межпланетное пространство Солнечной системы, межзвездное пространство нашей Галактики и внутреннее пространство Вселенной. Например, направление на Млечный путь отличается особой энергетикой.
   Основой приведенных утверждений послужили эмпирические факты. Нетрадиционные наблюдения, в том числе с использованием приборов с искусственным биополем показали, что эфир в направлении Солнца (внутри энергетического канала), планет, Центра Галактики и даже в направлении летательных аппаратов оказывается значительно плотнее общего фона. Поскольку регистрирующие сверхфизические приборы имеют узкую диаграмму восприимчивости (направленности), то стало возможным определить направления на космические тела [5]. Однако многомерный эфир и в этот вопрос вносит свою специфику.
   На рисунке 1а изображен эфирный канал Луна - Земля в плоскости лунной орбиты.
  


Рисунок 1

  
   Как видим, при наблюдении с Земли направление эфирного канала на Луну не совпадает с ее видимым изображением. При этом "черное" изображение оказывается сдвинутым вправо на ~ 15®. Можно предположить, что канал выгнут под напором орбитального эфирного ветра, как понтонный мост на реке. Но это только первое впечатление. В действительности узкий энергетический канал принадлежит другому подпространству, которое в масштабах лунной орбиты вращается в обратную сторону, компенсируя вращение эфирного тела Земли вместе с гравитационным полем. Это процесс, характеризующий динамику многомерного Единого Поля Эфира.
   Существование узкого изогнутого энергетического канала между Землей и Луной может объяснить, почему классические модели лунных приливных явлений не соответствуют реально наблюдаемой картине в Мировом океане.
   На рисунке 1б изображены эфирные каналы Земля - Солнце, Земля - Луна и Луна - Солнце. При наблюдении с Земли, используя разные приборы, можно увидеть оптическое изображение Солнца и эфирное "черное" Солнце, наблюдаемое слева примерно на 5® по азимутальному углу или по прямому восхождению в экваториальной системе координат. При полнолунии канал Земля - Солнце объединяется с каналом Луна - Солнце, что заметно повышает энергетику эфирного тела Земли.
   Теперь можно наблюдать парные лунные фазы - классические в оптическом диапазоне и эфирные ("черные") на следующие сутки. Солнечные и лунные затмения также должны рассматриваться с учетом многомерных свойств эфира. Интересно, имеют ли отношение рассмотренные сверхфизические явления к понятию "черной" Луны в астрологии?
   Для иллюстрации на рисунке 2 приведены осциллограммы сигналов от Луны, Солнца и Юпитера, полученные с помощью прибора с искусственным биополем в Санкт-Петербурге. На каждой осциллограмме указана дата записи, геодезический азимут ? и декретное московское время в часах (сигнал записывался только в горизонтальной плоскости). Рисунок 2 а
  


Рисунок 2

  
   и б демонстрирует двойное изображение Луны. В нетрадиционном вихревом спектре эфира прибор фиксирует большой сигнал от "черной" Луны и слабый от оптического изображения. Расстояние между изображениями по времени около одного часа, что соответствует азимутальному углу 15®, причем первым прибор наблюдает сигнал от прохождения нетрадиционного энергетического канала.
   На осциллограмме рисунка 2в записан сигнал от Солнца прибором с диаграммой направленности около 1®. Здесь примерно при том же соотношении амплитуд первым приходит сигнал от оптического диска Солнца, так как энергетический канал при наблюдении с Земли выгнут в обратную сторону. Угловое расстояние между сигналами ~ 5®. Меньший по сравнению с лунным угол объясняется многими причинами: другой вихревой спектр солнечного энергетического канала (другое подпространство), другой масштаб системы, различие угловых скоростей.
   Особые условия оказались на планете Юпитер. Сверхфизический канал Юпитер - Земля оказался способным изменять температуру специального регистратора более чем на 1®С, что свидетельствует о большой энергетике этого канала [6]. Как следует из осциллограммы на рисунке 2г, угловое расстояние между сигналами около 6®, но трактовка этой записи неоднозначна. Если судить по результатам наблюдений 19.11.98.г. и 20.11.98 г. [6], Юпитер двигался относительно Земли по часовой стрелке, а соотношение амплитуд двух сигналов такое же, как у Луны, которая вращается против часовой стрелки. По-видимому, на наблюдаемый изгиб энергетического канала Юпитера оказывает влияние его движение по солнечной орбите, а не только движение Земли относительно Юпитера. К сожалению, полная модель формирования межпланетного энергетического канала в настоящее время не создана. Все эти вопросы требуют дополнительных исследований.
   В прикладном плане значительный интерес представляют нетрадиционные сигналы, излучаемые в энергетическом канале летательными аппаратами и морскими судами (подводными лодками). Представляется, что в недалеком будущем будут созданы эфиролокаторы, имеющие свои преимущества перед существующими радиоустройствами аналогичного назначения.
   В заключение следует пояснить, что термин "энергетический канал", использованный в более ранней статье "Космические энергетические каналы и солнечная активность" [7], не предполагал локализации "темной" энергии в узком канале, соизмеримом с размерами взаимодействующих тел. Другими словами, в упомянутой статье не рассматривалось реально существующее сверхфизическое взаимодействие "внутри" гравитационного поля.
   Открытие сверхфизического взаимодействия космических тел требует также уточнения одного момента в работе [8], касающегося объяснения тройного изображения Солнца. Как следует из вышеизложенного, основная энергия нетрадиционного "излучения" нашей звезды, с учетом возможностей использованной наблюдательной техники, принадлежит подпространству, вращающемуся по часовой стрелке, т.е. против вращения Солнца. Поэтому необходимо вносить соответствующие изменения в рисунок 2 на стр. 181 этой книги.
   Приведенные результаты подтверждают вывод, что вихревые космические системы имеют собственные эфирные подпространства, вращающиеся в противоположных направлениях.
  

ЛИТЕРАТУРА

  
      -- Мигдал А.Б. Пустота - эфир - вакуум. В сб. Будущее науки. - М.: Изд-во "Знание", 1986, с. 121-136.
      -- Мишин А.М. Эфир как единое поле. В сб. Фундаментальные проблемы естествознания и техники. Серия "Проблемы исследования Вселенной", вып. 27. - СПб.: Изд-во "Акционер и К®", 2004, с. 313-322.
      -- Мишин А.М. О новых свойствах физического вакуума, гравитационного поля и массы. - МО СССР, 1988. - 44 с.
      -- Мишин А.М. Получено "темное" вещество, решающее космические проблемы. В сб. Фундаментальные проблемы естествознания и техники. Серия "Проблемы исследования Вселенной", вып. 28. - СПб.: Изд-во "Акционер и К®", 2004, с. 269-277.
      -- Мишин А.М. Физическая система с искусственным биополем. В сб. Фундаментальные проблемы естествознания и техники. Серия "Проблемы исследования Вселенной", вып. 23. - СПб.: Изд-во СПбГУ, 2001, с. 258-269.
      -- Мишин А.М. Антигравитация и новые энергетические процессы. Там же, с. 275-283.
      -- Шпитальная А.А., Мишин А.А. Космические энергетические каналы и солнечная активность. В сб. Фундаментальные проблемы естествознания и техники. Серия "Проблемы исследования Вселенной", вып. 29, ч. II. - СПб.: Изд-во "Осипов", 2005, с. 417-431.
      -- Мишин А.М. Эмпирическая модель Вселенной со Звездой Абсолюта в Центре. Там же, с. 178-195.

Многомерная динамика Вселенной, координаты и активность Центра вращения

  
   На основе новых исследований даны уточнения ранее разработанной модели многомерного Единого Поля Эфира. Рассмотрен принцип "жерновов" и введено понятие локализованного фрактального поля эфира. Описана методика определения координат Центра Вселенной (ЦВ) через основной закон эфиродинамики. Приведены диаграммы и осциллограммы, полученные с помощью прибора с искусственным биополем и характеризующие интенсивность нетрадиционного излучения ЦВ - Звезды Абсолюта.
  
   Изложенные ниже результаты получены по новой экспериментальной методологии, более того, на принципах новой эмпирической концепции. Во-первых, в процессе нетрадиционных исследований разработаны и использованы для астрофизических наблюдений лабораторные приборы с искусственным биополем (эфирные роботы) [1-3]. Во-вторых, для независимой оценки достоверности явлений новой физической реальности изобретен специальный метод физической сенсорики, позволяющий дублировать экспериментальные результаты. Основная цель работы - эмпирическое изучение свойств реального пространства-времени и многомерных эфиродинамических процессов как в пределах земной лаборатории, так и в масштабах Вселенной. Результаты многолетних исследований как начал высшей физики даются в обзорном изложении.
  
   1. Единое поле эфира
  
   Реальное пространство является стереодинамически, фрактально многомерным материальным Единым Полем Эфира (ЕПЭ). Время - это мера динамики физических процессов. Сверхтекучее, квантовое вихревое (турбулентное) ЕПЭ удовлетворяет постулату Р. Декарта: "Во Вселенной нет ничего, кроме эфира и его вихрей". Элементарные частицы, атомы и молекулы - это всего лишь наиболее энергичные вихревые системы как устойчивые автоколебательные "выбросы" cложных турбулентных процессов в ЕПЭ. "Направление" изменения размеров вихрей следует считать 4-ой пространственной координатой ("глубиной" пространства), ведущей в параллельные миры. Вихри эфира любой величины и топологии обладают вещественными свойствами (массой) [4-7].
   ЕПЭ в любых масштабах, а для земного наблюдателя и в планетарных масштабах в качественном фазовом отношении делится по размерам вихрей на 4 материальные области - "стихии" (виды эфиров на рисунке 1): 1 - "плазменное" подпространство, или "дно" Мироздания; 2 - тонкоструктурное "твердое" (жидкокристаллическое) подпространство, или фемтомир; 3 - жидкое подпространство, или микромир; 4 - газообразный макро- и мегамир от атомно-молекулярных в сторону больших масштабов [8,9]. Все подпространства занимают один и тот же трехмерный объем, а по 4-й пространственной координате фрактально "растворены" друг в друге без потери индивидуальных фазовых и других свойств. Однако границы фаз изменяются на каждом уровне иерархии обладающих гравитацией вихревых систем, потому что состояние подпространств зависит от масштаба и скорости эфиродинамических процессов, а также определяется фрактальными и квантовыми свойствами эфира [6,7]. Другая особенность ЕПЭ заключается в том, что с ростом масштаба вихря расширяется вихревой спектр образующей его материи в сторону меньших масштабов. Например, вихрь Вселенной "скребет по дну" Мироздания, проникая в плазменное подпространство.
   На графике рисунка 1 средняя энергия ЕПЭ растет влево от лабораторных масштабов с увеличением плотности эфира и угловой скорости ? вихрей, уменьшающихся в размерах. (На эзотерическом языке увеличение "частоты вибраций"). С уменьшением размера вихря ? растет также скорость передачи взаимодействия v, которая равна скорости света С только в подпространстве физического вакуума. Здесь физический вакуум занимает межфазовое нелинейное подпространство между жидкой и газообразной фазами эфира. Минимум энергии наблюдается в лабораторных масштабах, но она растет и вправо за счет увеличения размеров и наполнения тел космических вихрей энергичным веществом, включая классическое. В земных условиях правый подъем энергии соответствует закону фликкер-шумов, который в нашей модели объясняется флуктуациями плотности энергоинформационного, или адаптационного барьера между классической материей и нетрадиционной материей других подпространств ЕПЭ [1-5]. Реальный вид энергетического вихревого спектра земной наблюдатель определить пока не может.
   На рисунке 1 показано только 4-ре вида эфиров по числу известных фаз-"стихий". Вещественные миры рождаются по принципу "жерновов" в межфазовых нелинейных подпространствах таким образом, что чем больше иерархический масштаб вихревой системы, тем более тонкоструктурное и энергоемкое вещество производится и образует ее собственное тело в соответствующем подпространстве. Поэтому размер вихря системы и вихря ее вещества находятся в обратной зависимости.
   По закону иерархии в Мироздании существует не одна Вселенная. Поэтому должно существовать нелинейное межфазовое подпространство для возникновения соответствующих эксавихревых систем. Логика подсказывает, что в этой неизведанной области ЕПЭ плазменная фаза состоит по крайней мере из двух подфаз, на границе которых образуется собственное тело нашей Вселенной в виде плотной плазмы. На рисунке 1 этот момент не отражен.
   Двигаясь по спектру вправо, приходим к выводу, что галактика - это вторая иерархическая система после вихря Вселенной, и ее собственное тело принадлежит нелинейному подпространству на границе эфира-1 и эфира-2. Входящие в состав галактики звезды принадлежат другому уровню иерархии (другому фракталу), т.е. подпространству между эфиром-2 и эфиром-3. Физический вакуум и вещество нашего Мира рождается в звездных вихрях на границе меду эфиром-3 и эфиром-4. На планетарном уровне фазы эфира по принципу автономности превращаются в реальные (в нашем понимании) локализованные в пространстве стихии: огонь - земля - вода - воздух. Пятой фазовой стихией в данном случае является эфирное тело Земли. Всего должно быть 7 видов эфира. Эти вопросы еще будут обсуждаться в дальнейшем.
  


Рисунок 1

  
   Уникальной особенностью ЕПЭ является "квазиядерный" характер переноса энергии по оси ? на рисунке 1, связанный с квантовой трансформацией, синтезом или распадом вихрей любой природы. Это "красный" и "фиолетовый" энергокаскады в ЕПЭ [8,9]. Кроме того, левое крыло спектра жестко подчинено принципу наименьшего возмущения эфира (наименьшего действия), который равносилен "гравитации" по 4-й пространственной координате в сторону "дна" Мироздания. Поэтому в нашем вещественном мире преобладает "фиолетовый" энергокаскад с превращением вихрей эфира в более тонкие структуры и поглощением энергии (энергия турбулентности эфира стремится "осесть на дно"). "Красный" энергокаскад, препятствующий "смерти" Вселенной, сопровождается выделением энергии, но для реализации требует особых условий. (Например, для нашего мира это условия существования звезд). Важно отметить, что сверхтекучие свойства эфира наделяют ЕПЭ виртуальными чертами (по типу виртуализации физического вакуума). В этих условиях возникает энергоинформационный барьер между видами материи, принадлежащими различным подпространствам.
   Есть причины, объясняющие, почему энергия нашего проявленного мира принадлежит вихревым системам физического вакуума, занимающим место на границе между 3 и 4 подпространствами (эфирами) ЕПЭ. Все дело в передаче энергии вращения Вселенной звеньям вихревой иерархической цепи от больших систем меньшим с учетом особой нелинейности изменения плотности ЕПЭ на границах фазовых состояний. Здесь градиент плотности турбулентного эфира рождает особое (виртуальное) гравитационное поле, создавая условия для материализации вихревых систем и развития "красного" энергокаскада, выделяющего энергию.
   Вихрь Вселенной с "темной" для нас Звездой Абсолюта в Центре вращается и по принципу "жерновов" на нелинейной границе раздела между подпространствами 1 и 2 (эфирами на рисунке 1) создает "жидкокристаллическое" галактическое вещество и невидимые вихри-галактики со своими невидимыми "звездами" в центре. (Эти "звезды" современными учеными воспринимаются как "черные дыры"). Каждая галактика активно возбуждает нелинейные границы между 2 и 3 подпространствами, т. е. по нижней границе жидкой фазы. При этом генерируется невидимое "жидкое" звездное вещество и образуются наши звезды, которые на нелинейном участке между подпространствами 3 и 4 производят классическое вещество в спектре таблицы Менделеева [10] и наши электромагнитные волны, воспринимаемые в видимом участке спектра биологическим зрением и телескопами. Делать выводы о физических законах и строении галактик и Вселенной по классическому (электронному) электромагнитному излучению можно только в самом первом приближении.
   Обычные элементарные частицы в нашем подпространстве являются конечным достаточно стабильным продуктом вещественного производства в рамках ЕПЭ. Однако более тонкоструктурное галактическое и звездное вещество (для нас невидимое, "темное" вещество, или квазивещество) должно быть особенно энергоемким. По-видимому, именно эти виды материи, принадлежащие параллельным мирам, создают невидимый удивляющий астрофизиков резерв энергии за пределами традиционного физического восприятия.
   Нетрудно заметить, что рождение нашего мира идет одновременно по "фиолетовому" в макромире и "красному" в тонком мире энергокаскадам с соблюдением энергетического баланса в рамках ЕПЭ. Эти процессы в квазистационарном режиме реализуются только в пространственных масштабах вихря Вселенной. Наблюдаемые редкие стохастические выбросы, воспринимаемые нами как аномальные явления, - это физические феномены, которые наряду с фликкер-шумами доказывают реальность энергетического взаимодействия между материальными подпространствами ЕПЭ. В микромире, т.е. со стороны более тонких подпространств такое взаимодействие называют "нулевыми колебаниями вакуума". Можно сказать, что в наш вещественный Мир "стучатся" с двух сторон.
   В современном естествознании для объяснения наблюдаемых в Космосе явлений используется понятие гипотетической "темной" материи. В нашей модели ЕПЭ подобная межфазная квазиматерия (квазичастицы) и протоматерия в виде первичных тороидальных и нитевидных вихрей (первичная турбулентность), а также другие виды квазивещества естественным образом заполняет все подпространства (см. рисунок 1).
   Известный оптический облик небесного тела - это его сущность, проявленная в физическом вакууме, на верхней границе подпространства 3. В действительности в составе любого вращающегося тела по принципу автономности (фрактальности) скрывается многомерная эфиродинамическая структура, перекрывающая по вихревому спектру несколько подпространств (в своей вихревой полосе) [4-7].
   Есть основания утверждать, что вещество, рожденное по принципу "жерновов" в сверхтекучей среде, имеет спиральность одного знака. Все устойчивые вещественные материальные миры во Вселенной, как и наш проявленный мир, правоспиральные (левоспиральные античастицы появляются в результате вторичных процессов). За спиральность вещества отвечает вращательно-поступательное движение нашей Вселенной.
  
   2. Основной закон эфиродинамики
  
   Каждому уровню системной иерархии Вселенной предназначена своя пространственно-временная ниша в ЕПЭ по принципу фрактальной автономности [4,5]. Последнее подразумевает, что любая подсистема (галактика, звезда) является минивселенной со своим многофазным полем эфира и "дном" в центре гравитации. (Например, "дном" нашей планетарной системы является плазменный объект - Солнце; планета Земля тоже имеет плазменное "дно" в виде раскаленного внутреннего ядра). Это свойство ЕПЭ Вселенной можно назвать принципом полевой системной фрактальности, что дает основание ввести понятие дискретного, локализованного фрактального поля эфира (ФПЭ) конкретного небесного тела (системы). ФПЭ подсистемы имеет центральную симметрию и обладает свойством реальной гравитации, определяемой многомерным градиентом плотности эфира в радиальном направлении.
   Как видим, реальные космические системы имеют дискретные ФПЭ, где некоторые фазы эфирного фрактала могут быть пространственно разобщены (например, фаза классического вещества в масштабах Солнечной системы), и одновременно входят в состав ЕПЭ Вселенной и Мироздания в режиме "растворения". Аналогичное соподчинение можно наблюдать между региональными и федеральными уровнями государственного устройства.
   Описанное в предыдущем разделе образование вещественных форм в межфазовых подпространствах ЕПЭ по принципу "жерновов" во вращающейся Вселенной не является единственным способом в Природе. Динамические процессы нашего мира в нелинейных подпространствах, или гравитационных полях любых подсистем способны генерировать производные формы вещества "сверхфизической" природы, т. е. квазивещества и соответствующих вихревых волн, в том числе типа де Бройля. Напомним, что дуализм волна-частица является фундаментальным свойством вихревого ЕПЭ.
   Таким образом, космические системы, имеющие центр гравитации, являются не только многомерными вихрями эфира, дифференциально вращающимися на определенном участке 4-й фрактальной координаты, но и заполнены собственным квазивеществом с вихревым спектром, зависящим от массы центрального тела. Виды генерируемых в подсистеме вихрей-волн и диаграммы их распространения в пространстве описываются основным законом эфиродинамики, открытом в декабре 1999 г. по результатам эмпирических наблюдений [11,12]. Изучение квазивещественных вихре-волновых структур в рамках ФПЭ на поверхности Земли равносильно изучению фундаментальных свойств ЕПЭ ("как внизу, так и наверху").
   Дадим формулировку основного закона эфиродинамики (гравитационное поле отождествляется с градиентом плотности ФПЭ в радиальном направлении):
   Любой динамический физический процесс, связанный с перемещением массы, возбуждает в нелинейных подпространствах подсистем (в их ФПЭ) 12 типов вихревых волн, в их числе продольные, поперечные и продольно-поперечные, распространяющиеся прямолинейно в виде не расходящихся пучков через каждые 15о в плоскостях перпендикулярной, параллельной и под углом 45о к градиенту гравитационного поля. От вертикальной нулевой плоскости, проходящей через продольную горизонтальную волну, слева от наблюдателя, нормально ориентированного в гравитационном поле лицом в сторону распространения волны, формируются вещественные вихре-волновые потоки, а справа - антивещественные; в вертикальной плоскости вещественные волны направлены вниз, а антивещественные - вверх.
   На рисунке 2 изображена диаграмма распространения волн в лабораторных условиях, где цифрой 9 обозначен груз маятника, колеблющегося в горизонтальной плоскости на пружине, закрепленной в точке 8. (Маятник принадлежит прибору с искусственным биополем [1-3]). Излучение по линии 1 - 1 - это продольные эфирные волны в виде тороидальных вихрей, закрученных только в направлении движения (спиновое число S = 0). В направлении 2 - 2 распространяются поперечные волны в виде дорожки Кармана (S = 1, аналог электромагнитных волн). По линии 3 - 3 формируется продольно-поперечное излучение торов, закрученных в двух направлениях с правовинтовой структурой и шагом винта 45® (S = 0,5, аналог электрона). Это вещественные волны де Бройля в неклассическом подпространстве. В направлении 3Є- 3Є излучается аналогичная антивещественная волна де Бройля (S = - 0,5, аналог позитрона). Остальные волны рассмотрены в [11,12].
  


Рисунок 2

  
   В отличие от метода "жерновов" по основному закону эфиродинамики образуются равные количества вещественной и антивещественной материи. Точно также в физических лабораторных экспериментах создают "незаконнорожденные" классические пары частица-античастица.
   В условиях системной фрактальности "роза" квазивещественного вихре-волнового излучения одновременно возбуждается в геофизическом, солнечном и других гравитационных полях Вселенной, но в каждом ФПЭ со своим качеством. Скорость распространения эфирной волны и угловые скорости вращения вихрей обратно пропорциональны размерам последних, т. е. в каждом ФПЭ своя скорость распространения рассматриваемых волн. По данным Н.А. Козырева и А.Ф. Охатрина скорость распространения нетрадиционных волн на поверхности Земли около 30 км/с (в газообразной фазе ФПЭ Земли).
   Вихревые волны обладают особыми свойствами. Они, во-первых, в неоднородном ФПЭ Земли возбуждаются преимущественно в горизонтальной плоскости, а во-вторых, оставляют после себя стационарное подобие в виде пространственного канала, заполненного соответствующим квазивеществом. Такой "след", кроме излучения механического маятника, создает электронный, лазерный луч и электромагнитные волны более низких частот. При этом квазивещество слабо, но постоянно притягивается землей, а антиквазивещество - отталкивается. Одновременно некоторые составляющие квазивещества в лабораторном помещении сносится за счет вращения Земли в разные стороны по направлению восток-запад.
   Интенсивные нетрадиционные волны по схеме рисунка 2 при орбитальном движении излучают все космические тела (планеты, звезды и др.). Несмотря на отсутствие специального колебательного процесса, в направлении движения излучаются продольная и другие волны. Вид диаграммы и типы излучаемых волн не зависят от состава, формы излучающего тела и массы центра гравитации (звезды, центра галактики, Центра Вселенной). Изменяется только спектр излучения, сдвигающийся в сторону более высоких пространственно-временных частот с ростом орбитальной скорости и массы центрального тела. Поэтому Вселенная по основному закону эфиродинамики, а также по принципу "жерновов" заполнена невидимой материей в очень широком спектре вихревых масштабов.
   В мае 2002 г. был проведен лабораторный эксперимент по взаимодействию эфирных волн с различной винтовой направленностью, т.е. потоков квазивещества и антиквазивещества. Вместо ожидаемого процесса аннигиляции в месте смешения волн низкой частоты обнаружено плотное, энергичное и устойчивое "темное" вещество, обладающее реальной массой и названное эфиронием. По всем критериям это аналог известного позитрония. Удивительно, что в канале из эфирония поддерживается незатухающий процесс "горения" после кратковременного воздействия на него открытым пламенем [13].
   По-видимому, ученые древнего Востока и Египта изучали описанные эфиродинамические структуры и назвали квазивещество сущностью "Ян", антиквазивещество - сущностью "Инь", а эфироний - жизненной энергией "Ци".
  
   3. Определение координат Центра Вселенной
  
   Зная основной закон эфиродинамики и располагая возможностью экспериментальной регистрации нетрадиционных излучений с помощью сверхфизического прибора, можно было начать изучение эфиродинамических процессов в вихревых системах Вселенной с целью определения координат Центра вращения. Кроме того, имелась возможность использовать дублирующий физикосенсорный контроль, дающий совершенно аналогичные результаты.
   Начнем с рассмотрения Солнечной системы. Планета Земля движется по орбитальной траектории вокруг Солнца в подпространстве ФПЭ со скоростью 30 км/с, создавая встречный эфирный ветер Vо. Кроме этого ветра, на Землю действует "вмороженное" в подпространство гравитационное поле Солнца, порождающее попутный эфирный ветер со скоростью Vc © 360 км/с. Эта цифра определяется скоростью вращения Солнца. Наконец, Земля находится в потоке фотонов и элементарных частиц, излучаемых нашей звездой.
   Первые два внешних потока эфира возбуждают в теле Земли вихревые волны, которые распространяются в виде лучей диаметром с планету, условно показанных на рисунке 3. Движение Земли возбуждает в орбитальной плоскости вещественную волну ВВо и антивещественную АВо. Попутный "гравитационный" ветер соответственно возбуждает волны ВВс и АВс. Поскольку по отношению к гравитационному полю Солнца рассматривается вертикальная плоскость, то обе продольно-поперечные волны, направленные в сторону Солнца, по основному закону эфиродинамики являются вещественными. В случае радиального потока от Солнца вторичные волны распространяются также по указанным на рисунке направлениям, вливаясь в узкие энергетические каналы (на рисунке 3 этот момент не отражен).
   По результатам экспериментов во всех случаях более эффективно с Землей взаимодействуют вещественные волны, т. е. ВВо, ВВс, которые пронизывают планету насквозь, не взаимодействуя с АВо и АВс из-за различия в спектральном составе. Вихревые спектры вещественных волн также не перекрываются в связи с большим различием скоростей Vо и Vс. Это позволяет идентифицировать волновые потоки эмпирическими методами. Более родственными к нашему веществу оказываются потоки ПВо, ВВо, что подтверждается специальным анализом суточных вариаций электрического поля Земли.
   Следующая по иерархии вихревая система - это наша Галактика, плоскость которой составляет с экваториальной плоскостью Земли угол 60Њ. На широте Санкт-Петербурга в ночное время Млечный путь оказывается в зените. Поэтому хорошо регистрируется только встречный эфирный ветер (продольная волна) на галактической орбите со стороны созвездия Лебедь и в среднем слабее Центр Галактики [1-3]. Остальные энергетические потоки на галактической орбите идентифицировать достаточно сложно, хотя основной закон эфиродинамики работает и на этом уровне.
   В монографии [14] и в серии публикаций А.А. Ефимова и А.А. Шпитальной описана глобальная анизотропия пространства в направлении "космологического векторного потенциала" с координатами во второй
  


Рисунок 3.

  
   экваториальной системе отсчета: прямое восхождение ? = 270Ђ7® и склонение ? - 34®. Это одно из избранных направлений в межгалактическом пространстве, открытое Ю.А. Бауровым, А.А. Ефимовым и А.А. Шпитальной (анизотропия БЕШ). По моим оценкам это один из вихре-волновых потоков, возбуждаемых в гравитационном поле Вселенной по основному закону эфиродинамики и регистрируемый прибором с искусственным биополем [1-3, 15,16].
   В этой ситуации будем ориентироваться на схему рисунка 3 с заменой Солнца на Центр Вселенной ("как наверху, так и внизу"). По основному закону эфиродинамики получим аналогичную картину при отождествлении потока ВВо с анизотропией БЕШ. Для этого есть все основания, так как в работе [17] определены приблизительные координаты оси вращения Вселенной: ? = 315 Ђ 30® и ? = 0 Ђ 20®. Если от угла ? отнять 45®, то получим для вещественного потока ? = 270®, т. е. прямое восхождение анизотропии БЕШ.
   Прибором с искусственным биополем, имеющем диаграмму направленности шириной менее 3®, были определены более точные координаты анизотропии БЕШ, а при повороте максимума диаграммы прибора на 45® по углу ? против часовой стрелки обнаружена ранее неизвестная активная область в Космосе: прямое восхождение ? = 330 Ђ 3®, склонение ? = =25 Ђ 3®. Эта область была названа Центром Вселенной (ЦВ), или Звездой Абсолюта (ЗА), потому что по основному закону именно здесь должен располагаться гравитационный и плазменный центр вихревой системы. Нетрадиционная энергия и активность ЦВ-ЗА оказались самыми высокими из всех известных космических источников излучения.
   Выше было показано, что по солнечной схеме на рисунке 3, где Земля вращается против часовой стрелки, наиболее эффективными оказались излучения ПВо, ВВо. Эта оценка осталась справедливой и для вихря Вселенной, что подтверждено эмпирическими наблюдениями и анизотропией БЕШ [14]. Таким образом, наша Вселенная, как и Солнечная система на галактической орбите, вращается против часовой стрелки.
   Полная аналогия эфиродинамических процессов в подпространствах Вселенной (в иерархии ФПЭ) позволяет сделать вывод, что наша Вселенная имеет форму, подобную галактическому диску, в Центре которого расположено чрезвычайно активное ядро, или Звезда Абсолюта, принадлежащая другому уровню Мироздания. Однако вещественное тело нашей Вселенной как самого большого из известных вихрей эфира может иметь особенности, потому что в сверхмасштабах на его свойства могут оказывать влияние все известные фазовые состояния и подпространства ЕПЭ.
   Для эмпирического подтверждения дискообразной формы Вселенной необходимо по нетрадиционному излучению или по плотности видимых галактик обнаружить соответствующий "млечный путь", координаты которого предварительно могут быть рассчитаны по имеющимся данным. Эфирный ветер на орбите Вселенной должен иметь специфический плазменный состав, не исключающий топологических гармоник в виде классического ?-излучения.
  
   4. Нетрадиционное излучение Центра Вселенной
  
   Прибором с искусственным биополем и методом физической сенсорики регистрируется мощное нетрадиционное излучение ЦВ-ЗА переменной интенсивности в угловом секторе 5®...10® (в горизонтальной плоскости!). Последнее свидетельствует о том, что в этих же условиях по угловым размерам ЦВ также превышает все известные источники излучения, в том числе и Центр Галактики (ЦГ). Для оценки реальных размеров источника излучения необходимо диаграмму восприимчивости прибора направить на траекторию движения ЗА по небосводу. Ограниченные возможности моей домашней лаборатории не позволяют реализовать такие наблюдения.
   Наряду с чрезвычайной интенсивностью всплесков данное излучение, или энергетический поток (канал) совершенно отличен по спектру от ЦГ, Солнца, планет и Луны. В моменты наибольшей интенсивности излучение приобретает особый дискретный характер, не исключающий появления в его спектре классических составляющих (например, гамма-излучения).
   На рисунке 4 приведены осциллограммы сигналов нетрадиционного "темного" излучения ЦВ (ЗА), зарегистрированные прибором с искусственным биополем в Санкт-Петербурге. Левая запись (а) соответствует спокойному состоянию ЦВ, а правая (б) - резкому всплеску активности.
  


Рисунок 4.

  
   Мало того, что правый график ограничен краем ленты, так еще шкала самописца ЭН-3001-3 загрублена в 4 раза по сравнению с левой записью. Нетрудно заметить, что второй сигнал имеет ярко выраженный импульсный характер.
   Здесь геодезический азимут ? (при пересчете во вторую экваториальную систему отсчета примерно равен прямому восхождению) соответствует направлению максимума диаграммы направленности лабораторного прибора, ориентированного только по этому углу. На горизонтальной оси осциллограммы указано московское декретное время в часах.
   Влияние внешних энергетических потоков на активность Солнца, причины изменения интенсивности излучения ЦВ, регистрируемого на поверхности Земли, и анализ солнечно-земных взаимодействий рассмотрены в работах [18,19,20] и других. Была обнаружена зависимость солнечной активности от интенсивности излучения ЦВ, связь эфирных потоков Солнца с межпланетным магнитным полем и существование квазипериодического солнечного эфирного "дыхания", влияющего на равновесность фрактальных компонент ЕПЭ, как на планетах, так и в масштабах всей Солнечной системы. Установлено, что в околосолнечном пространстве с квазинедельной периодичностью открываются "шлюзы" в энергоинформационном (адаптационном) барьере, и на Солнце с планетами обрушиваются энергопотоки со стороны ЦВ, ЦГ и по каналу БЕШ в виде мощного нетрадиционного излучения ("темной" энергии - пятой физической силы). По наблюдениям с Земли формированию "шлюзов-окон" способствуют фазы Луны (новолуние, полнолуние), прохождение Землей узконаправленных излучений Солнца в гравитационных полях Галактики и Вселенной по основному закону эфиродинамики; одновременное нахождение Земли и Солнца по углу ? в анизотропных космических каналах любого происхождения (направление на ЦВ, ЦГ, БЕШ, созвездие Лебедь, Гидры и др.).
   Для примера на рисунке 5 показана построенная по лабораторным наблюдениям диаграмма "ударов" со стороны ЦВ по календарным дням в июне и июле 2006 г. Всплески интенсивности следуют со средним интервалом около 6 дней. Сигналы увеличиваются вблизи полнолуния (ПЛ), нарушило ритм и дало слабый эффект новолуние (НЛ) и БЕШ. Совершенно нестандартные выбросы наблюдались 11 июня и 27 июля, обусловленные "вспышкой" в ЦВ-ЗА, когда открывается "окно" в масштабах, выходящих за пределы Солнечной системы. 27 июля 2006 г. только в России было сообщено о трех авариях самолетов и аварийном запуске ракеты с космодрома Байконур.
   В работе [21] исследовано влияние нетрадиционного излучения Центра Вселенной на процессы в Солнечной системе и на Земле, основанные на многолетних инструментальных наблюдениях автора [22].
   Всплески космического нетрадиционного излучения влияют также на самочувствие людей. Приборы с искусственным биополем при регистрации мощного излучения ЦВ сами превращаются в генератор подобного излучения, и находится в это время в лаборатории небезопасно.
  


  

Рисунок 5

  
   В заключение выражаю глубокую признательность сотруднику ГАО РАН в Пулково Шпитальной А.А. и канд. техн. наук Кривошей М.И. за исследования, проведенные по данной теме.
  

ЛИТЕРАТУРА

  
      -- Мишин А.М. Физическая система с искусственным биополем. В сб. Фундаментальные проблемы естествознания и техники (Труды Когресса-2000). Серия "Проблемы исследования Вселенной", вып. 23. - СПб.: Изд-во СПбГУ, 2001, с. 258-269.
      -- Mishin A.M. The Physical System of Artificial Biofield // "New Energy Technologies". - SPb: Faraday Lab Ltd, 2001, N 1, p. 45-50.
      -- Мишин А.М. Новые свойства и возможности автоколебательной системы // Физическая мысль России. - 1998, N 1, с. 33-35.
      -- Мишин А.М. Фундаментальные свойства эфира. В сб. Фундаментальные проблемы естествознания. Серия "Проблемы исследования Вселенной", вып. 21. - СПб.: РАН, 1999, с. 176-178.
      -- Mishin A.M. Fundamental Properties of Aether // "New Energy Technologies". - SPd: Faraday Lab Ltd, 2002, N 3(6), p. 35-36.
      -- Мишин А.М. Физика параллельных миров. В сб. Фундаментальные проблемы естествознания и техники. Серия "Проблемы исследования Вселенной", вып. 23. - СПб.: Изд-во СПбГУ, 2001, с. 270-274.
      -- Mishin A.M. Matter, Space and Time in Conception of Aether Field // "New Energy Technologies" - SPb: Faraday Lab Ltd, 2002, N 6, p. 35-36.
      -- Мишин А.М. Эфир как единое поле. В сб. Фундаментальные проблемы естествознания и техники. Серия "Проблемы исследования Вселенной", вып. 27. - СПб.: Изд-во "Акционер и К®", 2004, с. 313-322.
      -- Mishin A.M. Aether as Unified Field // "New Energy Technologies", - SPb: Faraday Lab Ltd, 2003, N 3, p. 52-55.
      -- Ходьков А.Е., Виноградова М.Г. Основы космогонии. О рождении миров, Солнца и Земли. - СПб. "Недра", 2004. - 336 с.
      -- Мишин А.М. Основной закон эфиродинамики. В сб. Фундаментальные проблемы естествознания и техники (Труды Конгресса - 2002). Серия "Проблемы исследования Вселенной", вып. 26, ч. III. - СПб.: Изд-во СПбГУ, 2003, с. 206-218.
      -- Mishin A.M. The Main Principle of Etherodynamics // "New Energy Technologies". - SPb: Faraday Lab Ltd, 2001, N 2, p. 32-36.
      -- Мишин А.М. Получено "темное вещество", решающее космические проблемы. В сб. Фундаментальные проблемы естествознания и техники (Труды Конгресса - 2004). Серия "Проблемы исследования Вселенной", вып. 28. - СПб.: Изд-во "Акционер и К®", 2004, с. 269-277.
      -- Бауров Ю.А. Структура физического пространства и новый способ получения энергии. - М.: Изд-во "Кречет", 1998. - 240 с.
      -- Мишин А.М. Антигравитация и новые энергетические процессы. В сб. Фундаментальные проблемы естествознания и техники. Серия "Проблемы исследования Вселенной", вып. 23. - СПб.: Изд-во СПбГУ, 2001, с. 275-283.
      -- Mishin A.M. Antigravitation and New Energy Processes // "New Energy Technologies". - SPb: Faraday Lab Ltd, 2001, N 2, p. 37-41.
      -- Nodland B., Ralston J.P. Phys. Rev. Lett.(1997), v. 78, p. 3043.
      -- Шпитальная А.А., Мишин А.М. Космические энергетические каналы и солнечная активность. В сб. Фундаментальные проблемы естествознания и техники. Серия "Проблемы исследования Вселенной", вып. 29. - СПБ.: Изд-во "Осипов", 2005, с. 417-431.
      -- Мишин А.М. Эмпирическая модель Вселенной со Звездой Абсолюта в центре. Там же, с. 178-197.
      -- Мишин А.М. Эфиродинамические источники энергии Солнца. В сб. Фундаментальные проблемы естествознания и техники. Серия "Проблемы исследования Вселенной", вып. 30, ч. Ш. - СПб.: Изд-во "Осипов", 2006, с. 98-107.
      -- Кривошей М.И. Влияние открытого Мишиным излучения Центра Вселенной на процессы в Солнечной системе. В сб. Фундаментальные проблемы естествознания и техники. Серия "Проблемы исследования Вселенной", вып. 33, книга 1. - СПб.: Изд-во ООО "Невская жемчужина", 2008, с. 265-271.
      -- Мишин А.М. Многолетние наблюдения нетрадиционного излучения Центра Вселенной. Там же, с. 370-378.

Многолетние наблюдения нетрадиционного ("темного") излучения Центра Вселенной

  
   Координаты Центра Вселенной (ЦВ) определены мной в январе 2001 г. на основе ранее открытого фундаментального закона эфиродинамики [1,2]. Уже с марта указанного года были начаты инструментальные наблюдения нетрадиционного, "темного" излучения ЦВ. Использовался прибор с искусственным биополем (ПИБ) с диаграммой направленности около 3® [3], который вначале включался только в дни максимальной активности ЦВ. Предварительно космическая обстановка оценивалось физикосенсорным методом.
   Многолетняя практика применения ПИБ для изучения различных космических объектов показала, что для оценки интенсивности нетрадиционного излучения достаточно ограничиться регистрацией составляющей, распространяющейся в горизонтальной плоскости, т.е. вдоль земной поверхности [2]; и прибор можно ориентировать только по азимутальному углу. Поэтому ошибочное значение склонения ? (угла места), указанное в работе [1] ? исправленное в [2], не повлияло на результаты наблюдений, в том числе и самых первых.
   Вначале складывалась картина, что ЦВ создает редкие эпизодические вспышки, "удары"; и Шпитальная А.А. определила их четкую корреляцию с солнечной активностью [4]. При этом выяснилось, что ЦВ может одновременно возбуждать канал глобальной анизотропии космического пространства [5] и Центр Галактики. Было установлено также, что малоизученные энергетические каналы формируют дальнюю корону Солнца, придавая ей характерный лепестковый вид, и влияют на циклические процессы пятнообразования и радиоизлучения нашей звезды [6]. Заметим, что в 2001 г. регистрировалась только средняя и максимальная величина излучения.
   В 2002 г. наблюдения стали вестись более регулярно и надежно. ПИБ ориентировался в направлении на ЦВ (во второй экваториальной системе координат прямое восхождение ? - 330®, склонение ? - 25®) и включался по возможности ежедневно два раза в сутки. На основе накопленной информации был сделан вывод, что в ЦВ расположена огромная Звезда Абсолюта (ЗА), оказавшаяся самым мощным первичным источником "темного" излучения и "темной" материи в Космосе [7]. В дни максимальной активности излучение в горизонтальной плоскости регистрируется в угле 5®...10®.
   Когда к исследованиям в этом направлении подключилась к.т.н. Кривошей М.И., ей потребовалась более корректная, количественная оценка интенсивности наблюдаемого излучения. Тогда была введена 5-бальная градация величины регистрируемых ПИБ сигналов (относительные уровни), распространенная на все предыдущие измерения. Используя мои данные, Шпитальная А.А. и Кривошей М.И. получили обобщенные закономерности влияния "темного" излучения ЦВ-ЗА (пятой физической силы) на физические процессы в Солнечной системе [6,8,9]. В первую очередь имеется в виду само Солнце и Земля.
   В приведенной ниже таблице 1 содержатся результаты инструментальных наблюдений интенсивности "темного" излучения только ЦВ-ЗА за 2001-2008 г.г. с точностью Ђ 0,5 балла, определяемой возможностями моего "эфирного робота" - ПИБ и его модификаций. Для сокращения цифрового объема дни, когда излучение ЦВ было близко к нулю, не приведены. В таблице для каждого года в колонке 1 указаны месяцы, в колонке 2 - значения числовых строк, а в колонке 3 - дни месяца и под ними балл излучения ЦВ. В конце каждой строки приведена сумма баллов за месяц - N. Многоточие, например, 16...22 обозначает отсутствие измерений в указанном интервале.
  
   Таблица 1

2001 г.

1

2

3

   Янв.
   Дата
   Балл
   1...31
   Февр.
   Дата
   Балл
   1...28
   Март
   Дата
   Балл
   5 6 22 23 24 25
   5 5 4 5 5 4 N = 28
   Апр.
   Дата
   Балл
   3 2 5 6 7 13 14 25
   5 5 5 4 4 5 5 5 N = 38
   Май
   Дата
   Балл
   6 7 13
   5 4 5 N = 14
   Июнь
   Дата
   Балл
   2 3 4 5 6 13 14 26 27 28 29 30
   4 5 5 4 4 3 3 4 5 5 5 4 N = 51
   Июль
   Дата
   Балл
   14 15 28 16...22 29 30 31
   5 5 5 5 4 3 N = 27
   Авг.
   Дата
   Балл
   23 24 25 26 27...31
   5 5 4 3 N = 17
   Сент.
   Дата
   Балл
   2 3 4 10 11 12 30
   3 3 3 5 5 5 3 N = 27
   Окт.
   Дата
   Балл
   1 2 3 4 19 20 21 22 24 25 26 27 28 29
   4 5 5 4 3 5 5 3 4 5 5 4 3 3 N = 58
   Нояб.
   Дата
   Балл
   5 6 7 8 9 14 15 16 17 24 25 26 27
   5 3 3 3 3 4 5 5 3 5 5 3 3 N = 50
   Дек.
   Дата
   Балл
   2 3 4 5 9 10 11 13 14 15 16 20 22 24 29 30 31
   3 4 5 4 4 5 4 3 4 5 4 5 4 5 3 5 5 N = 72
  

2002 г.

1

2

3

   Янв.
   Дата
   Балл
   3 4 9 10 11 18 19 20 21 29 30 31
   3 3 3 2 3 3 3 2 3 5 5 5 N = 38
   Февр.
   Дата
   Балл
   1 2 5 6 7 8 9 16 17 26 27 28
   4 4 3 3 3 3 3 3 3 4 4 3 N = 40
   Март
   Дата
   Балл
   4 5 6 17 18 19 20 21 22 31
   4 3 3 4 4 3 2 2 2 3 N = 30
   Апр.
   Дата
   Балл
   2 3 6 7 8 10 11 18 26 27 28 29 30
   4 4 5 3 2 3 3 4 4 2 2 2 2 N = 40
   Май
   Дата
   Балл
   6 10 11 12 13 27 28 29
   4 4 3 4 3 4 3 4 N = 39
   Июнь
   Дата
   Балл
   3 4 5 6 7 15 16 17 18 22 23 24 25 27
   2 2 4 4 3 4 4 4 3 2 2 3 4 4 N = 45
   Июль
   Дата
   Балл
   1 5 6 7 8 13 14 17 18 19 20
   4 4 4 3 3 2 3 3 2 2 3 N = 33
   Авг.
   Дата
   Балл
   2 3 6 7 8 10 16 18 19 21 22 23 24 25 31
   3 3 3 3 4 4 4 4 4 4 4 4 2 4 4 N = 54
   Сент.
   Дата
   Балл
   1 2 8 9 10 14 16 17 18 19 27 28 29 30
   3 3 4 5 4 4 4 3 5 5 3 3 3 2 N = 51
   Окт.
   Дата
   Балл
   7 8 9 10 11 17 18 23 24 25 27
   3 3 3 3 3 5 3 3 3 3 3 N = 35
   Нояб.
   Дата
   Балл
   1 2 8 9 15 16 17 24 27 28 29
   3 3 3 5 2 2 3 3 5 4 3 N = 36
   Дек.
   Дата
   Балл
   3 4 5 7 10 11 12 16 17 19 23 24 30 31
   3 3 3 3 3 4 4 3 4 4 3 3 3 3 N = 46
  

2003 г.

1

2

3

   Янв.
   Дата
   Балл
   1 2 5 6 7 9 10 11 12 13 19 20 21 22 23 24 26 27
   3 2 3 3 3 2 3 5 4 4 2 3 5 5 5 3 3 2 N = 60
   Февр.
   Дата
   Балл
   1 2 3 4 5 10 14 16 17 18 19 20
   2 2 3 4 4 4 3 4 5 4 4 3 N = 42
   Март
   Дата
   Балл
   3 4 5 11 12 13 14 17 18 19 23 24 25 26 27 30 31
   4 4 4 5 5 5 4 4 5 4 3 3 3 4 4 3 2 N = 66
   Апр.
   Дата
   Балл
   9 10 11 12 13 14 16 17 18 19 20 21 22 23 24 28 29 30
   3 4 4 4 3 3 4 3 4 3 4 3 4 3 3 4 3 3 N = 62
   Май
   Дата
   Балл
   2 9 10 22 23 24 25 26 27 28 31
   2 3 4 5 3 4 5 4 4 4 5 N = 43
   Июнь
   Дата
   Балл
   1 2 3 10 11 12 18 19 20 21 28 29
   5 5 4 5 4 3 4 4 5 5 5 4 N = 53
   Июль
   Дата
   Балл
   1...20 21 23 29 30
   4 4 4 4 N = 16?
   Авг.
   Дата
   Балл
   1 12 13 14 19 20 21 24 27 28 29 30
   3 4 4 4 4 5 5 3 3 4 4 3 N = 46
   Сент.
   Дата
   Балл
   1 7 8 19 20 23 24...30
   3 3 4 4 4 4 N = 22?
   Окт.
   Дата
   Балл
   1...13 14 15 16 17 19 23 24 29 30 31
   4 5 5 4 4 3 4 5 5 5 N = 44?
   Нояб.
   Дата
   Балл
   3 4 11 14 16 20 25 26 27 28
   5 4 5 3 5 4 3 5 5 3 N = 42
   Дек.
   Дата
   Балл
   8 13 15 21 23 29 30 31
   4 5 4 5 4 4 5 5 N = 36
  

2004 г.

1

2

3

   Янв.
   Дата
   Балл
   1 2 9 10 17 18 19 25 26 27 31
   3 2 5 5 5 3 3 4 5 3 3 N = 41
   Февр.
   Дата
   Балл
   1 4 5 6 13 14 15 25 26 27 28
   3 3 5 5 5 5 3 3 3 5 5 N = 45
   Март
   Дата
   Балл
   11 15 20 27 30 31
   5 4 5 5 4 3 N = 26
   Апр.
   Дата
   Балл
   3 8 12 21 22 29
   4 5 5 3 4 5 N = 26
   Май
   Дата
   Балл
   1...31
   Июнь
   Дата
   Балл
   6 7 8...30
   4 5
   Июль
   Дата
   Балл
   1...29 30
   5
   Авг.
   Дата
   Балл
   4 5 13 14 15 16 18 19 24
   5 4 5 5 4 3 3 3 3 N = 35
   Сент.
   Дата
   Балл
   1 2 13 17 21 27 28...30
   4 5 5 5 5 3 N = 29?
   Окт.
   Дата
   Балл
   3 4 14 15 21 22...31
   5 5 4 3 3 N = 20?
   Нояб.
   Дата
   Балл
   1...11 12 21 22 29 30
   5 3 3 3 3 N = 17?
   Дек.
   Дата
   Балл
   6 12 13 14 18 20 21...31
   5 3 3 3 3 4 N = 21?
  

2005 г.

1

2

3

   Янв.
   Дата
   Балл
   2 17 22 23 24...31
   3 5 3 4
   Февр.
   Дата
   Балл
   1...30
   Март
   Дата
   Балл
   5 6 7 10 11 16 20 21 24 25 26 28
   5 5 4 3 4 5 4 5 4 5 4 4 N = 52
   Апр.
   Дата
   Балл
   10 11 12 13 21 26 30
   4 5 4 4 5 5 5 N = 32
   Май
   Дата
   Балл
   3 6 24 25 26 27
   4 3 4 5 4 3 N = 23
   Июнь
   Дата
   Балл
   1 2 5 9 11 12 14 22 27 30
   4 4 4 5 5 5 3 4 3 5 N = 42
   Июль
   Дата
   Балл
   1 2 7 9 22 24
   3 5 3 5 3 5 N = 24
   Авг.
   Дата
   Балл
   3 4 5...18 25 28
   3 4 4 5 N = 16?
   Сент.
   Дата
   Балл
   1...30
   Окт.
   Дата
   Балл
   1...24 25 28
   4 5
   Нояб.
   Дата
   Балл
   1...30
   Дек.
   Дата
   Балл
   1...31
  

2006 г.

1

2

3

   Янв.
   Дата
   Балл
   1 2 7 8 9 16 18 19 22 23 24 28
   3 3 5 4 3 2 3 4 5 4 4 5 N = 45
   Февр.
   Дата
   Балл
   5 10 14 15 19 20 21 25 26 28
   5 4 2 3 3 2 2 3 2 4 N = 30
   Март
   Дата
   Балл
   4 6 7 8 10 11 12 15 17 18 22 23 24 28 29
   3 5 4 3 5 3 5 3 4 4 3 4 3 5 5 N = 59
   Апр.
   Дата
   Балл
   1 2 4 5 6 9 10 15 19 20 24 25 26
   3 3 4 4 5 3 5 3 5 3 2 2 2 N = 44
   Май
   Дата
   Балл
   1 2 3 6 7 19 20 24 25 26 27 29 30
   3 3 3 2 4 5 4 5 4 4 4 4 4 N = 49
   Июнь
   Дата
   Балл
   4 5 10 11 15 16 17 21 22 25 26 28 29
   5 5 5 4 5 5 4 3 4 3 3 5 4 N = 55
   Июль
   Дата
   Балл
   3 4 5 6 7 9 10 11 12 13 14 17 18 19 20 22 27 29 31
   3 5 4 2 3 3 5 5 3 4 3 5 5 4 4 4 5 3 5   N = 75
   Авг.
   Дата
   Балл
   4 5 10 11 17 18 22 23 24 26 28 29 30 31
   3 5 5 4 5 4 4 5 5 5 4 5 4 4 N = 62
   Сент.
   Дата
   Балл
   1...30
   Окт.
   Дата
   Балл
   1 3 4...12 13 14 17 18 19 20 24 25 26 29 30 31
   5 3 4 2 2 4 2 4 4 4 4 5 3 2
     N = 48?
   Нояб.
   Дата
   Балл
   4 7 9 10 11 14 15 16 17 22 25 26 30
   3 4 5 4 4 2 2 5 3 4 5 4 5 N = 50
   Дек.
   Дата
   Балл
   1 3 4 8 9 10 13 14 15 18 19 20 23 24 26 27
   4 5 4 4 4 5 4 5 5 2 4 2 5 3 4 5 N = 65
  

2007 г.

1

2

3

   Янв.
   Дата
   Балл
   2 3 4 8 9 11 13 14 15 16 17 19 20 23 24 27 28 30
   4 5 4 3 4 3 4 5 5 4 3 4 4 5 4 3 5 5
   N = 74
   Февр.
   Дата
   Балл
   3 4 10 11 12 16 17 18 20 22 23 27 28
   3 5 4 4 5 5 5 4 4 4 5 3 4 N = 55
   Март
   Дата
   Балл
   2 3 9 10 11 12 14 15 16 17 18 19 20 21 22 23 24 26 27 28
   4 3 4 5 4 3 5 5 4 3 3 3 2 2 3 5 4 2 3 5
  
   29 30
   4 5 N = 81
   Апр.
   Дата
   Балл
   1 2 3 4 5 6 7 8 9 11 12 13 15 18...24 25 26 27 28
   4 4 4 5 5 4 2 4 4 5 4 2 4 5 5 3 2
   N = 66?
   Май
   Дата
   Балл
   1 2 3 5 6 7 8 10 13 14 15 16 18 19 21 22 23 27 28 29
   3 3 5 5 4 4 4 3 2 5 3 4 2 2 2 4 3 5 4 2
   N = 69
   Июнь
   Дата
   Балл
   2 3 4 7 8 9 10 13 14 17 18 19 21 22 23 24 25 26 29 30
   4 3 5 4 4 4 4 4 2 3 3 4 3 4 4 3 5 5 5 4
   N = 77
   Июль
   Дата
   Балл
   2 3 4 5 6...17 18 19 20 25 26 27 30 31
   2 4 4 5 5 5 3 4 4 4 2 4 N = 46?
   Авг.
   Дата
   Балл
   2 3 4 5 6 8 9 10 11 12 14 15 16 17 19 21 22 23 24 25 26 27 28
   3 5 5 4 4 5 4 4 4 3 3 5 5 4 4 3 4 4 2 2 3 3 4
  
   29 30 31
   4 3 2 N = 96
   Сент.
   Дата
   Балл
   1 2 3 5 8 9 10 11 12 13 14 16 17 18 19 20 22 23 25 26 27 28
   3 3 3 5 2 3 2 2 3 3 2 4 4 4 2 3 3 4 2 3 2 3
  
   29 30
   4 5 N = 74
   Окт.
   Дата
   Балл
   1 2 3 5 6 7 8 9 10 11 12 17 18 19 23 24 25 26 28
   5 3 3 3 4 3 5 4 3 4 2 4 4 2 3 5 5 4 3 N = 69
   Нояб.
   Дата
   Балл
   2 3 4 5 6 7 9 10 11 13 17 18 19 20 21 22 23 24 25 29 30
   2 4 5 3 3 2 3 4 4 2 3 3 3 4 2 2 2 5 5 2 3
   N = 66
   Дек.
   Дата
   Балл
   1 2 3 7 8 9 10 13 14 15 16 17 18 19 20 23 24 25 26 27 28
   3 4 3 4 5 4 2 3 4 5 3 2 3 4 4 2 3 5 5 4 2
  
   30 31
   5 5 N = 84

2008 г.

1

2

3

   Янв.
   Дата
   Балл
   1 3 4 5 6 7 8 9 13 14 15 19 20 21 22 23 26 27 28
   3 5 5 3 4 3 4 3 4 5 4 3 2 4 4 3 3 5 3
  
   29 31
   4 2 N = 76
   Февр.
   Дата
   Балл
   1 2 3 4 5 6 7 8 9 10 11 13 14 15 16 17 20 21 22
   3 4 4 3 3 4 3 3 4 4 2 4 4 3 3 4 4 3 3
  
   23 24 25 27 28 29
   4 2 3 5 4 4 N = 87
   Март
   Дата
   Балл
   1 2 3 4 5 6 7 10 11 12 13 15 16 17 18 19 20 21
   2 2 3 5 5 5 2 4 4 2 2 3 4 4 2 3 2 4
  
   22 23 24 25 26 27 31
   3 2 5 5 4 3 2 N = 82
   Апр.
   Дата
   Балл
   1 2 3 4 5 6 7 8 9 10 14 15 16 17 21 22 23 25 27
   5 4 3 3 3 2 4 5 5 2 3 4 3 2 5 4 2 4 2
  
   28 29 30
   3 2 3 N = 73
   Май
   Дата
   Балл
   1 3 5 6 7 8 9 11 12 13 14 15 16 18 20 21 22 23 24
   3 3 3 2 3 3 4 2 3 4 4 3 2 3 4 3 3 3 4
  
   26 27 28 31
   5 4 4 2 N = 74
   Июнь
   Дата
   Балл
   1 2 3 7 8 9 13 15 17 18 19 21 22 23 24 25 27 28 29 30
   3 2 2 2 2 2 3 3 2 3 2 2 4 5 4 2 2 3 2 2
   N = 52
   Июль
   Дата
   Балл
   1 2 3 4 5 6 7 8 9 10 12 13 14 15 16 17 18 19 21
   2 3 4 3 5 5 4 4 3 3 2 4 5 3 2 3 3 2 3
  
   22 23 24 25 26 27
   2 3 4 2 4 3 N = 81
   Авг.
   Дата
   Балл
   1 2 3 4 5 6 7 8 9 10 11 13 14 15 16 17 18 19 20
   2 2 3 5 4 3 3 2 3 3 2 2 3 4 5 4 2 2 2
  
   21 22 23 24 25 26 28 29 30 31
   4 3 4 5 2 2 5 4 3 4 N = 92
   Сент.
   Дата
   Балл
   1 2 3 4 5 6 7 8 9 10 12 13 14 15 16 17 18 19 20
   2 3 5 3 2 2 3 4 4 1 3 4 4 4 3 3 3 3 4
  
   21 22 23 24 27 28 29 30
   3 5 4 3 4 4 3 3 N = 98
   Окт.
   Дата
   Балл
   1 2 3 4 5 6 7 8 9 10 11 12 13 14 15 17 18 19 20
   4 4 3 3 3 5 3 2 3 4 4 3 3 3 3 2 5 4 4
  
   21 22 23 24 25 26 27 30 31
   2 4 5 4 4 2 4 3 4 N = 97
  
  
   Приведенная в таблице достаточно обширная статистика по флуктуациям интенсивности неклассического излучения ЦВ-ЗА и сам факт существования в Космосе локализованного в пространстве мощнейшего источника "темного" потока материи, удовлетворяющего логике предложенных моделей Единого Поля Эфира и Вселенной [2], послужили основанием для формирования новых научных направлений в астрофизике, геофизике и биофизике. Результаты исследований по этим направлениям содержатся в докладах Шпитальной А.А. и Кривошей М.И., прочитанных на Конгрессе-2008 "Фундаментальные проблемы естествознания и техники" (Санкт-Петербург) [8,9], а также в более ранних публикациях этих авторов [4-6, 10 и др.].
   Первая попытка качественного спектрального анализа табличных данных была предпринята мной в работе [7]. Если построить полный ряд результатов ежедневных наблюдений, не пропуская малых значений, то без специальной обработки видно, что на месячных и годовых интервалах времени четко прослеживается близкий к недельному период выбросов интенсивности излучения ЦВ-ЗА.
   На рисунке 1 приведены два графика, построенных по результатам регистрации ПИБ в 2007 г. Как видим, на кривой а) в июле - августе наблюдается 6 максимальных уровней со средним расстоянием по календарным дням между ними Тср = 7 суток. На графике б) в ноябре месяце видно 6 максимумов со значением Тср = 6 суток.
  
  


  


Рисунок 1

  
   В работе [11] отмечалось, что указанные вариации излучения коррелированны с изменением направления одной из компонент солнечного эфирного ветра (эфирного "дыхания" Солнца) и изменением знака межпланетного магнитного поля. Это то, что я называю квазинедельным циклом образования "окон" в адаптационном барьере, через которые на Солнечную систему обрушивается поток "темной" энергии из ЦВ-ЗА.
   Действительно, ЦВ-ЗА наблюдается с нижних уровней (с Земли) через "мерцающий экран" адаптационного энергоинформационного барьера, закрывающего по закону фрактальной иерархии сначала Солнечную систему в целом, а затем как подсистему Землю с Луной. Таким образом, Солнце и Земля по-разному воспринимают излучение ЦВ-ЗА. В любом случае Солнце более восприимчиво к внешним нетрадиционным воздействиям как более нестационарный плазменный объект. Следует особо подчеркнуть, что в таблице и на графиках рисунка 1 представлена главнейшая, ведущая компонента фликкер-шумов, наблюдаемых в нашем земном Мире.
   При рассмотрении более протяженных во времени реализаций, возможно, будут выявлены другие периоды изменения интенсивности "темного" излучения ЦВ-ЗА. Дело в том, что сама ЗА является системой со вспышечной активностью. В этом случае ее взрывные потоки "темной" энергии преодолевают все нижестоящие барьеры и фиксируются в виде "ударов", значительно превышающих среднестатистические пики в 5 баллов. К счастью, такие всплески излучения ЗА принадлежат не нашему пространству-времени, и до нас доходит лишь ничтожная часть их энергии. Случаются они достаточно редко (не каждый год) и подтверждают существование еще неизученной вспышечной активности Звезды Абсолюта. В работе [7] рассматривался аномальный выброс "темного" излучения, который наблюдался 27 июля 2006 г.
   Для более обстоятельного анализа изучаемых явлений и проведения других исследований, посвященных влиянию нового вида излучения на процессы в Солнечной системе и за ее пределами, потребуется привлечение свежих научных сил и более современной техники.
  

ЛИТЕРАТУРА

  
      -- Mishin A.M. The Main Principle of Etherodynamics // "New Energy Technologies". - SPb: Faraday Lab Ltd, 2001, N 2, p. 32-36.
      -- Мишин А.М. Эмпирическая модель Вселенной со Звездой Абсолюта в Центре. В сб. Фундаментальные проблемы естествознания и техники. Серия "Проблемы исследования Вселенной", вып. 29, ч. II. - СПб.: Изд-во "Осипов", 2005, с. 178-195.
      -- Мишин А.М Физическая система с искусственным биополем. В сб. Фундаментальные проблемы естествознания и техники (Труды Конгресса- 2000). Серия "Проблемы исследования Вселенной", выл. 23. - СПб.: Изд-во СПбГУ, 2001, с. 258-269.
      -- Shpitalnaya A.A. Mishin A.M. Pulkovsky Radio-Teleskope Receives the Signals from the Center of the Universe // "New Energy Technologies" - SPb: Faraday Lab Ltd, 2002, N 1(4), p. 37.
      -- Ефимов А.А., Шпитальная А.А., Заколдаев Ю.А. Эруптивные протуберанцы и землетрясения с точки зрения глобальной анизотропии пространства. В сб. Новые идеи в естествознании. Серия "Проблемы исследования Вселенной", вып. 19, ч. П. - СПб.: РАН, 1996, с. 403-413.
      -- Шпитальная А.А., Мишин А.М. Космические энергетические каналы и солнечная активность. В сб. Фундаментальные проблемы естествознания и техники. Серия "Проблемы исследования Вселенной", вып. 29, ч. П. - СПб.: Изд-во "Осипов", 2005, с. 417-431.
      -- Мишин А.М. Многомерная динамика Вселенной и координаты активного центра вращения. В сб. Фундаментальные проблемы естествознания и техники. Серия "Проблемы исследования Вселенной", вып. 32. - СПб.: Изд-во "Осипов", 2007, с. 211-223.
      -- Шпитальная А.А. О свойствах Центра Вселенной, открытого А.М. Мишиным. Тезисы доклада на Конгрессе-2008 "Фундаментальные проблемы естествознания и техники", Санкт-Петербург 5-9 августа 2008 г. - СПб.: Изд-во "Невская жемчужина",2008, с. 45-46.
      -- Кривошей М.И. Влияние открытого Мишиным излучения Центра Вселенной на процессы в Солнечной системе. В сб. Фундаментальные проблемы естествознания. Серия "Проблемы исследования Вселенной", вып. 33, книга 1. - СПб.: Изд-во "Невская жемчужина", 2008, 265-271.
      -- Кривошей М.И. Влияние солнечной активности и галактических космических лучей на катастрофы. В сб. Фундаментальные проблемы естествознания и техники. Серия "Проблемы исследования Вселенной", вып. 32 - СПб.: Изд-во "Осипов", 2007, с. 146-166.
      -- Мишин А.М. Эфиродинамические источники энергии Солнца. В сб. Фундаментальные проблемы естествознания и техники. Серия "Проблемы исследования Вселенной", вып. 30, ч. Ш. - СПб.: Изд-во "Осипов", 2006, с. 98-107.

Проблема регистрации нетрадиционных излучений

  
   Под нетрадиционным излучением подразумеваются вихре-волновые про­цессы типа дебройлевских, электромагнитных и др., принадлежащих другим этажам, уровням мироздания, т.е. параллельным мирам [1]. Тонкая стру­ктура и спектральный состав подобных излучений недостаточно изучены, поэтому на данном эта­пе ставится задача регистрации, детектирования только их относительной интенсивно­сти ("мощности").
   Параллельные миры постоянно "стучатся" в двери наших физических ла­бораторий, порождая всем известные фликкер-шумы. С этими низкочаетотными флуктуациями, модулирующими сигналы и параметры физических процессов, сталкиваются ученые всех направлений. Однако фликкер-шумы слишком общее явление, не указывающее на существование конкретного ис­точника их происхождения. Как упоминалось ранее, в другие двери с другой стороны стучатся "нулевые колебания вакуума".
   Только в научной группе С.Э. Шноля стали говорить о влиянии на земные процессы космо-физических факторов [2]. Эти "факторы" более детально, а главное, с новых научных позиций изучены в работах [I,3-8]. Было установлено, что наиболее мощными космическими ис­точниками нетрадиционного излучения являются Центр Вселенной (ЦВ), Центр Галактики (ЦГ), анизотропия Баурова-Ефимова-Шпитальной (БЕШ), звезды и планеты .
   Главная проблема регистрации нетрадиционного излучения заключает­ся в том, что в каждом новом лабораторном эксперименте время вза­имодействия физического прибора с вихре-волновым процессом другого ми­ра оказывается конечным. Объясняется это сверхтекучими свойствами эфи­ра и неустойчивостью квазивещества, в результате чего исследователь "упирается" в энергоииформационный, адаптационный барьер, исключающий детерминированное взаимодействие между мирами. Три опыта, три часа, три дня могут быть успешными, затем на неопределенный срок наступает затишье. С этим барьером сталкиваются все технологии, использующие специфические нетрадиционные сигналы, в том числе биополевое взаимо­действие.
   Однако есть исключения. Во-первых, созданы типы лабораторных гене­раторов нетрадиционного излучения, которые работают длительно и на­дежно, - генерировать "темное" излучение проще, чем регистрировать. Биополе также существует постоянно. Во-вторых, известны способы разрушения местного адаптационного барьера, обеспечивающие длительную работоспособность регистрирующего прибора. Но в этом случае создаваемое регистратором искусственное биополе наносит вред здоровью экспериментатора [7]. В-третьих, установлено, что большие системы с расположением части аппаратуры вне здания адаптационным барьером не закрываются. Это было доказано А.А. Шпитальной на Большом пулковском радиотелескопе [8] при регистрации сигналов из ЦВ.
   Если до сих пор нетрадиционное излучение космических источников ре­гистрировалось на самописец в домашней лаборатории с помощью приборов [4,5], то теперь после изучения "эфирной экологии" длительные записи (больше двух часов) недопустимы по правилам техники безопасности. Поэтому вариант безвредной для персонала регистрации, проверенный в Пулковской ГАО РАН, оказывается наиболее перспективным для космических излучений.
   Поскольку радиотелескоп регистрирует импульсное излучение ЦВ независимо от положения диаграммы направленности, то может быть создан упрощенный вариант приемной аппаратуры только для регистрации нетради­ционных сигналов. Знать направление прихода излучения теперь не важно, так как мы априори знаем, что наиболее мощные сигналы приходят из ЦВ-ЗА, координаты которого определены. Для построения специальной радиосистемы необходимо продолжить исследования на Большом Пулковском радиотелескопе, что, к сожалению, запрещено руководством обсерватории.
   Есть и другие идеи и методы, но для их реализации требуется трудоемкая научная и опытно-конструкторская работа.
  

ЛИТЕРАТУРА

  
      -- Мишин А.М. Эмпирическая модель Вселенной со Звездой Абсолюта в Центре. В сб. Фундаментальные проблемы естествознания и техники. Серия "Проблемы исследования Вселенной", вып. 29, ч. II. - СПб.: Изд-во "Осипов", 2005, с. 179-195.
      -- Шноль С.Э. и др. Дискретные спектры амплитуд (гистограммы) макроско­пических флуктуаций в процессах различной природы. - Пущино: Б.И., 1985. - 39 с, - Препринт (ИБФ АН СССР).
      -- Шпитальная А.А., Мишин А.А. Космические энергетические каналы и сол­нечная активность. Серия "Проблемы исследования Вселенной", вып. 29, часть П. - СПб.: Изд-во "Осипов", 2005, с. 417-431.
      -- Мишин А.М. Физическая система с искусственным биополем. Фундаментальные проблемы естествознания и техники. Серия "Проб­лемы исследования Вселенной", вып. 23. - СПб.: Изд-во СПбГУ, 2001, с. 258-269.
      -- Мишин А.М. Антигравитация и новые энергетические процессы. Там же, с. 275 - 283,
      -- Ефимов А.А., ШпитальнаяА.А. К вопросу о движении Солнечной системы относительно фонового излучения Вселенной. В сб. Проявление космических факторов на Земле и звездах. Серия "Проблемы исследования Вселенной", вып. 9. - М-Л.: АН СССР, 1980, с. 67-75.
      -- Мишин А.М. Получено "темное" вещество, решающее космические проблемы. В сб. Фундаментальные проблемы естествознания и техники. Серия "Проблемы исследования Вселенной", вып. 28. - СПб.: Изд-во "Акционер и К®", 2004, с. 269-277.
      -- Shpitalnay A.A., Mishin A.M. Pulkovsky Radio-Telescope Receives the Signals from the Center of the Universe // "New Energy Technologies". - SPb: Faraday Lab Ltd, 2002, N 1(4), p. 37.
  

Принцип билокального действия

  
   В публикации [1] упоминалось об изобретении вихревой ячейки, способной устойчиво регистрировать сигналы сверхфизической природы, но не было сказано об особом режиме работы этого устройства. Особый режим - это принцип билокального триггерного действия, демонстрирующий достижения высшей физики.
   Известно, что любая физическая система со временем перестает закономерно реагировать на внешнее возмущение (нетрадиционное излучение) свободного сверхтекучего эфира. Постоянное флуктуационное взаимодействие существует только на уровне фликкер-шумов в макромире и "нулевых" колебаний физического вакуума в микромире. Проблема энергоинформационного барьера, отделяющего наш мир от других уровней Мироздания, лежит в основе создания генераторов свободной энергии, новых видов информационной связи и других нетрадиционных технологий.
   Физическая суть энергоинформационного барьера заключается в адаптации обычной регистрирующей системы к вихре-волновым возмущениям сверхтекучего многомерного эфира (за пределами физического вакуума) путем образования в системе и прилегающем пространстве вихре-волновой антиматрицы. (Некоторые исследователи называют это состояние "зарядом"). Таким образом, физическая система (тело) в отношении конкретного эфирного воздействия приобретает новые свойства в виде "вмороженной" в нее антиматрицы как самостоятельно существующего объекта высшей физики.
   Например, выключенный компьютер содержит сложнейшую эфирную антиматрицу, которая при его включении превращает эту электронно-механическую систему в оптимально пассивный по отношению к окружающему эфиру объект. Поэтому и выключенный компьютер - это уже не тот прибор, который ни разу не включался. Проработавший достаточно длительное время электрический или электронный (электронно-механический) прибор искажает окружающее пространство даже в выключенном состоянии. Описанные явления распространяются на все технические (физические) устройства, использующие динамические процессы.
   Если две любые аналогичные слабо связанные активные системы, адаптированные к конкретному эфирному воздействию и разнесенные в пространстве, включать поочередно, то "голодная" антиматрица выключенной в данный момент системы примет участие в процессе адаптации включенной родственной системы. При этом работающая антиматрица окажется в неравновесном состоянии, и ее система приобретет дополнительную восприимчивость к заданному эфирному воздействию.
   Итак, более "жизнеспособной" в эфирном плане является система, состоящая из двух разнесенных в пространстве одинаковых слабо связанных подсистем, находящихся в активном (включенном) состоянии поочередно. Это и есть сверхфизический принцип билокального триггерного действия.
   По-видимому, наиболее вероятно найти использование этого принципа в биологических системах, у которых часто встречаются парные органы. В технике надо по-новому посмотреть на эффективность двухтактных процессов. Не менее интересно провести параллели между принципом билокального действия и широко распространенном в природе и технике принципом автоколебаний (принципом квантового осциллятора [2]).
  

ЛИТЕРАТУРА

  
      -- Мишин А.М. Эмпирическая модель Вселенной со Звездой Абсолюта в Центре. В сб. Фундаментальные проблемы естествознания и техники. Серия "Проблемы исследования Вселенной", вып. 29, ч. II. - СПб.: Изд-во "Осипов", 2005, с. 178-195.
      -- Сунден О. Пространственно-временной осциллятор как скрытый механизм в основании физики. - СПб.: Изд-во СПбГУ, 1999. - 154 с.
  
  
  
  
  
  
  
  
  
  
  
  
  
  
  
  
  
  
  
  
  

Эфирные проблемы экологии

  
   Загрязнение окружающей среды побочными продуктами техногенных процессов (заводами, фабриками, транспортом и др.), а также бытовыми отходами - это всеми наблюдаемый факт. Менее наглядно электромагнитное "загрязнение", называемое в Японии электронным "смогом", который человеком чувственно не воспринимается. Однако электромагнитный и радиационный фон легко контролируется современными приборами из арсенала классической физики.
   Как показывает практика, несмотря на очевидность проблемы и возможность контроля параметров загрязнения, улучшение экологии по указанным направлениям (уменьшение вредных отходов всех видов производств с учетом электромагнитной и радиационной компонент, утилизацию уже произведенных отходов) не имеет кардинальных решений в рамках современной научной концепции. Только этим можно объяснить постоянное ухудшение экологической обстановки во всех регионах страны, включая курортные зоны.
   Положение осложняется тем, что кроме указанных проблем есть еще нетрадиционный, выходящий за пределы классической науки аспект экологии - это проблема контроля и уменьшения вредного воздействия на человека материальных образований ("темных" эфиродинамических структур), возникающих при возбуждении пространства-эфира. В настоящее время доказано, что помимо невидимого электронного "смога", существует в природе и воздействует на нас "эфирный смог", воспринимаемый шестым экстрасенсорным чувством и неизвестными широкой научной общественности "эфирными роботами" [1].
   Нетрадиционная проблема экологии требует для своего решения разработки новой фундаментальной физической теории и новой экспериментальной методологии. Конкретные шаги в этом направлении предприняты автором в работах [1,2,3].
   "Великие истины слишком важны, чтобы быть новыми" (Э. Моэм). Поэтому ясно, что сверхфизическими проблемами определенная часть человечества занималась с доисторических времен. Как известно, параллельно с доминирующим классическим направлением науки развивались метафизика, алхимия и прочие эзотерические воззрения, на борьбу с которыми не жалели сил лучшие представители материализма. Они руководствовались научной концепцией, не выходящей за пределы привычного мира, воспринимаемого 5-тью органами чувств, отрицая материальность и стереодинамическую многомерность пространства.
   Но в реальном пространстве-эфире существуют неизвестные классической физике виды вещества и излучений. Лучшим доказательством этой истины служат многочисленные сверхестественные, а следовательно, и сверхфизические явления. В настоящее время изучением таких явлений занимаются многочисленные научные коллективы во всем мире.
   Сказанное выше подразумевает естественные и непреднамеренные техногенные нетрадиционные процессы, но прорыв в новую физическую реальность дает возможность принципиально иными методами решать все экологические проблемы. Энергия параллельных миров на несколько порядков превышает энергию нашего видимого мира, поэтому нетрадиционные методы имеют потенциал невообразимой эффективности. Например, доказано, что доисторические цивилизации имели транспорт, не требующий сжигания углеводородного топлива, а следовательно, экологически чистый. Они не нуждались в ядерной энергетике и владели способами управления гравитацией.
   Сегодня в нашем обществе установлена связь времен.
   Разрабатывается не только теория фрактально многомерного пространства, но и ведутся широкие исследования прикладного плана. Созданы различные типы "вечных" двигателей, не требующих органического топлива, "вечный" источник света Кушелева. Ученый из Санкт-Петербурга Андреев Е.И. 25 июля 2001 г. успешно испытал режим движения автомобиля ВАЗ-2106 с использованием в качестве горючего обычного воздуха [4].
   Таким образом, есть все основания утверждать, что в третьем тысячелетии будет реализована программа создания "бестопливных" источников энергии любой мощности. А это меняет весь техногенный облик нашей цивилизации и решает одну из важнейших проблем классической экологии в масштабах всей планеты.
   Однако при этом ждет своего решения проблема нетрадиционной, эфирной экологии, связанная с искусственным "эфирным смогом" и новыми видами излучений. Такие процессы, сопровождаемые изменением свойств пространства, являются постоянными спутниками любых "вечных" генераторов энергии. (Достаточно вспомнить нашумевшие на весь мир эксперименты Н. Тесла).
   Новые проблемы экологии как экологии нетрадиционных технологий находятся на этапе становления и нуждаются в дальнейших исследованиях наряду с разработкой и внедрением самих нетрадиционных технологий.
  
   ЛИТЕРАТУРА
  
   1. Мишин А.М. Физическая система с искусственным биополем. В сб. Фундаментальные проблемы естествознания и техники (Труды конгресса- 2000). Серия "Проблемы исследования Вселенной", вып. 23. - СПб.: Изд-во СПбГУ, 2001, с. 258-269.
   2. Мишин А.М. Антигравитация и новые энергетические процессы.
   Там же, с. 275-283.
   3. Мишин А.М. Эфир как единое поле. В сб. Фундаментальные проблемы естествознания и техники (Труды конгресса-2002). Серия "Проблемы исследования Вселенной, вып. 27. - СПб.: Изд-во "Акционер и К®", 2004, с. 313-322.
   4. Андреев Е.И. Основы естественной энергетики. - СПб.: Изд-во "Невская жемчужина",2004. - 584 с.
  
  
  
  
  
  
  
  
  
  
  
  
  
  
  
  
  
  
  
  
  
  
  
  
  
  
  
  
  
  
  
  
  
   "То, что в одном веке считается
   мистикой, в другом веке становится
   научным знанием"
  
   Парацельс
  

Послесловие

  
   Оглядываясь назад и просматривая полученные за 25 лет результаты, я осознаю, что Высшие Силы показали мне только вершину айсберга. Моих интеллектуальных и физических возможностей, как я ни старался, нехватило на изучение реального многообразия эфиродинамических явлений и процессов в масштабах пространственно четырехмерного Единого Поля Эфира. "Не обнять необъятное", как справедливо заметил классик.
   Тем не менее, в итоге проведенных исследований сделаны явные концептуальные прорывы. По новой экспериментальной методологии открыты неизвестные ранее явления и законы, не имеющие аналогов в нашем "плоском" естествознании. Кроме того, предложенная качественная модель Единого Поля Эфира оказалась настолько конструктивной, что позволила обозреть с многомерных позиций и наполнить новым физическим содержанием известные в нашем мире явление инерции, принцип наименьшего действия и принцип относительности. В заключение сфокусирую внимание на наиболее важных моментах полученных научных результатов.
   Изученные экспериментально в лаборатории движения эфира в виде потоков и локальных областей неравновесных вихревых структур, названных квазивеществом (иногда "темным" веществом), относятся к макроскопической, правой части вихревого спектра, т.е. к вихрям более крупным по сравнению с классическими элементарными частицами. Этот свободный эфир в режиме низкочастотных возмущений ведет себя как сверхтекучая, можно сказать, "гидродинамическая" турбулентная среда. Создаваемое в лаборатории маломощными генераторами квазивещество - это всего лишь "поверхностные" вихре-волновые возмущения эфира, "живущие" несколько часов. Потому оно и названо "квази", что принадлежит другому подпространству (в гравитационном поле Земли) и имеет свои вещественные характеристики. Совершенно другой более тонкоструктурный и энергичный поток "темного" вещества создается в природных условиях Центром Вселенной и другими активными космическими системами. Тем не менее, мои опыты с искусственным биополем и эфиронием являются серьезным основанием для расширения традиционного физического кругозора.
   Важно подчеркнуть, что результаты лабораторного инструментального изучения характеристик нетрадиционных процессов качественно и количественно с точностью 10...20% совпадают с оценками по методу физический сенсорики. Это ничем не отличается от обычной глазомерной оценки размеров окружающих нас предметов или угловых величин.
   Микроскопический мир элементарных частиц на вихревом спектре Единого Поля Эфира образует мощнейший с традиционной точки зрения энергетический выброс. Все формы классического вещества, взаимодействуя между собой через энергетические каналы на микро- и макроуровнях, возбуждают эфир и создают "прослойку", подпространство между макромиром и фемтомиром, отождествляемое с понятием физического вакуума. (Здесь под фемтомиром понимается подпространство, примыкающее к миру элементарных частиц со стороны более тонких вихревых структур). Такая прослойка в целом с учетом принципа "жерновов" обладает особыми вещественными свойствами, отвечающими в частности за явление обычной инерции. В то же время инерционное взаимодействие квазивещества с обычными телами в лабораторных условиях крайне неустойчиво. Особые свойства подпространства физического вакуума отвечают за все детерминированные законы нашего Мира, обеспечивая также формирование и распространение электромагнитных волн.
   Классическая материя и поля взаимодействуют и с фемтомиром, и с макромиром; и именно этот сверхфизический вид взаимодействия не находит объяснения в "одномерной" элементарной физике. Объяснение отсутствует не по тривиальной причине, а потому что миры оказались разделенными адаптационным энергоинформационным барьером, величина которого для неосведомленного наблюдателя изменяется непредсказуемым образом, - для макромира по закону фликкер-шумов, для микромира по закону "нулевых колебаний". Среднее значение флуктуаций этих барьеров как пятая физическая сила выходит за рамки принципа относительности, так как в обычном смысле этот принцип отражает только свойства подпространства физического вакуума.
   Когда мы говорим о вихревом спектре мирового эфира, то вроде бы ясно, что речь идет о пространственно-временных частотных характеристиках трехмерного турбулентного поля материи и праматерии. Но это поле обладает еще и квантовыми свойствами. Теоретически квантовые, или "топогармонические" сечения вихревого спектра образуют множество подпространств - потенциальных и реальных параллельных миров. Каждый вихрь эфира (тороидальный, нитевидный, солитон) состоит из более мелких вихрей и увлекает их в своем вращении. Именно квантовые свойства сверхтекучей среды создают условия для обособленности конкретного вихревого движения среди множества подобных движений. Масштаб квантования, изменение размера вихря соответствует 4-ой пространственной координате Единого Поля Эфира. Только такой идейный прорыв способен привести к физическому пониманию многомерности и особой фрактальности реального пространства, в котором есть место для многих сверхфизических вещественных миров.
   Единое Поле Эфира одновременно пребывает в 5-ти фазовых состояниях с учетом фазы свободного эфира. Эти же состояния (стихии) можно проследить в радиальном строении нашей планеты Земля, включая ее эфирное тело. Общность свойств локализованных космических систем и Единого Поля можно понять, если учесть, что в каждой точке мирового пространства действует специфическая "сила гравитации", направленная по 4-ой пространственной координате, или по "фиолетовому" энергокаскаду на вихревом спектре. Это сопровождается перемещением энергии на "дно" Единого Поля через вихревые бифуркации (квазиядерный характер этих процессов подтвержден экспериментально, как и все другие утверждения). Такое же "падение" энергии направлено к центру Земли (звезды, галактики), которая является автономной эфиродинамической подсистемой, копирующей свойства Единого Поля Вселенной ("как наверху, так и внизу"). В классической физике распределенная в пространстве "гравитация" известна под названием принципа наименьшего действия как частное проявление описанного сверхпринципа.
   Тяготение энергии в сторону уменьшения размеров вихрей создает структуру Единого Поля с энергетическими ступеньками на вихревом спектре, т. е. участками с резким изменением градиента плотности эфира на границах фазовых состояний. Именно на таких участках, характеризующихся определенным размером вихрей, за счет энергии вращательно-поступательного движения Вселенной по принципу "жерновов" образуются реальные правоспиральные вещественные миры. Можно назвать вещественный мир галактик, звезд, планет, элементарных частиц и непознанные пока другие тонкие миры. Эти миры различаются размером эфирных вихрей. Собственное тело галактики (звезды) является совершенно неизученным тонкоструктурным веществом сверхвысоких вибраций. Но даже для продвинутого современного астрофизика это всего лишь гипотетическая "темная материя".
   Следует особо отметить, что устойчивые локализованные вихревые системы, включая элементарные частицы вещества, в отличие от обычной турбулентности используют автоколебательный принцип, обеспечивающий их "жизнеспособность" и более длительное существование за счет эфирного многомерного энергообмена и реализации "красного" энергетического каскада. При этом мелкие вихри эфира трансформируются в более крупные с выделением энергии, но без излучения потоков нейтрино, сопровождающих классические ядерные процессы. (Слабый нейтринный поток характерен и для нашего Солнца).
   Физические тела различных размеров имеют отношение к общим свойствам Единого Поля Эфира только при наличии собственной вихревой сущности в масштабах тела, что соответствует его вращению. Нетрудно заметить, что на все параметры космических эфиродинамических макросистем наложена некая случайная составляющая (различие видов галактик, типов звезд и т. д.). Поэтому закономерности образования таких вихревых систем и связанных с ними физических процессов выполняется только в среднем. Если мир элементарных микрочастиц оказывается более однородным, то это доказывает брльшую организованность самого подпространства физического вакуума, возможно, за счет влияния на него Разума (разумных существ).
   В сборнике обсуждается модель нашей Вселенной в виде обособленного и в моем восприятии достаточно плоского вихря, вращательно-поступательное движение которого определяет спиральность вещественных миров. Не видно никаких ограничений для существования других вселенных и антивселенных. Имеет смысл оценить спектр эфирного излучения удаленных вселенных и попытаться зарегистрировать соответствующие сигналы. Возможно, открытые дискретные источники мощного ?-излучения - это и есть Звезды Абсолюта других вселенных?
   Просматривается и "млечный путь" нашей Вселенной. Эфирный ветер, возникающий при орбитальном движении Земли вокруг Центра Вселенной, фиксируется прибором с искусственным биополем и методом физической сенсорики. Спектр такого ветра в основном состоит из плазменных сверхвысокочастотных составляющих, проникающих в наш Мир в виде непонятных и неизвестных физикам излучений. Это пока единственный проверенный мною способ доказательного экспериментального проникновения в аттомир.
   Единое турбулентное Поле сверхтекучего Эфира, включающее в себя классическую материю и множество материальных образований в других подпространствах, является сложнейшим физическим объектом, неимоверно упрощенном, доведенным до примитива в представлении подавляющего большинства современных ученых. Первейшей задачей моих исследований было снятие идейных "шор" с мировоззрения элитарных физических школ, чтобы ортодоксы не навязывали новому поколению свои "прокрустовы" догмы. Окружающий нас Мир велик и прекрасен, очень сложен и в чем-то непознаваем. Но не надо его грубо искажать и опускать до уровня "тоталитарного" материализма.
   Идейный кризис современного естествознания требует пересмотра внедреных в практику методов познания физической реальности. Совершенно очевидно, что на первом этапе следует отдать предпочтение индуктивным методам Ньютона и других классиков-естествоиспытателей, т.е. поменьше гипотез и побольше объективных эмпирических результатов на уровне фундаментальных открытий. Не следует пренебрегать и древними научными знаниями Египта и Востока. Для освоения принципиально новых областей естествознания нужна соответствующая экспериментальная методология, разработке которой уделено достаточно внимания в настоящей книге. В теоретическом плане целесообразно взять за основу мою модель Единого пространственно 4-хмерного Поля Эфира, обладающего стереодинамической, фрактальной многомерностью и пребывающего одновременно в 5-ти фазовых состояниях. (Существуют и другие состояния, которые основательно изучить не удалось). Сотни моих наблюдений и опытов не нашли отражения в докладах и статьях, но этот информационный массив наряду с опубликованными материалами подтверждает истинность полученных научных результатов. Мне всегда было ясно чтр искать, где искать и как искать.
   Я сформулировал сверхфизические научные проблемы, указал способы эмпирического изучения малоизученных явлений и получил первые достоверные прикладные результаты. Это прежде всего экспериментальный принцип искусственного биополя, основной закон эфиродинамики, определение координат и активности Центра Вселенной - Звезды Абсолюта, энергокаскады в ЕПЭ, принципы автономности, билокального действия и многое другое. Сделанные открытия раздвинули идейный горизонт и позволили получить важные научные результаты в изучении активности Солнца, обусловленной внешними энергетическими воздействиями, главным образом из Центра Вселенной. Наконец, наполнилась новым физическим содержанием проблема солнечно-земных связей и прямого влияния космических нетрадиционных излучений на геофизические и техногенные процессы.
   При поиске и изучении объектов новой физической реальности всегда возникают проблемы с терминологией. Известно, что неклассические виды материи издревле изучались эзотерическими науками, но их терминология слишком далека от понятийной базы современной физики. Используя термины "квазивещество" или "протовещество", я объяснял по ходу изложения, что эти материальные эфиродинамические образования принадлежат сечениям вихревого спектра вне пределов физического электрон-позитронного и протон-антипротонного вакуума, т.е. принадлежат другим подпространствам, или параллельным мирам.
   Термины "паранаука", "паранормальные явления" я считаю крайне неудачными, потому что "пара" переводится с греческого как "около", "возле", что подразумевает непреодолимый барьер между "настоящей" физикой и физикой сверхестественных явлений, или высшей физикой. Очевидно, для формирования устойчивой адекватной терминологии требуется время.
   Конечно, в сборнике трудов, посвященном одной теме, не избежать повторного описания основных положений создаваемой модели Единого Поля Эфира. Тут важно не упустить нить творческого поиска, отмеченного введением новых понятий, терминов и трактовок, не упустить последовательность в стремлении автора к получению принципиально новых, а главное, достоверных научных результов.
   Мои исследования, как следует из изложенного, ограничиваются разработкой только начал высшей физики, на уровне эмпирически обоснованного фундамента для очередного витка научного познания.
   В этой книге нет статей с описанием свойств фемтомира, следующего за микромиром, и более тонких миров. На эти подпространства делается ставка при разработке способов получения "свободной" энергии и вечного движения ( Базиев Д.Х., Андреев Е.И., Фролов А.В. и др.). Не удалось углубиться и в другие не менее важные темы. Многие ученые сегодня убедились в том, что пространство-эфир при некоторых условиях, а точнее в полевых структурах биосистем обладают "голографическими" и особыми фрактальными свойствами. Есть данные, что такие же свойства присущи определенным составляющим гравитационных полей. Наконец, известны феномены мгновенного перемещения физических тел в пространстве и времени, факты разумной жизни в сверхтонких, сверхвысокочастотных мирах и множество других сверхестественных, а, следовательно, и сверхфизических явлений.
   Как все это понять и осмыслить? Какие интересные задачи стоят перед молодыми учеными! Для изучения явления эфирных "голограмм" и четырехмерных фракталов, а также законов сверхтонких миров требуется доработка и дальнейшее развитие моей доказавшей свою эффективность эмпирической методологии.
   На данном этапе развития науки в первую очередь необходимо признать, что большая и очень важная теоретическая и экспериментальная работа, называемая "физикой Базиева", также принадлежит Единому Полю Эфира и имеет отношение к высшей физике. Классические элементарные частицы вещества естественно состоят из более мелких вихрей эфира, получивших имя "электрино". При этом Базиев Д.Х., судя по его выступлению на Международном научном Конгрессе - 2002 "Фундаментальные проблемы естествознания и техники" (Санкт-Петербург), существование эфира отрицает. Но корпускулярная концепция при любом наборе элементарных частиц конечных размеров допускает существование пустоты (абсолютного вакуума), т.е. нематериальной сущности, что хуже любой мистики. Тем более что нематериальное пространство исключает всякое взаимодействие между вещественными объектами, включая электрино, гравитоны и другие частицы.
   Сейчас доказано, что существует ритмичное эфирное "дыхание" Земли и Солнца. По принципу "как наверху, так и внизу" долгоживущие элементарные частицы и атомы также должны "дышать" в своем ритме. Следовательно, "стационарная" модель атома Базиева - это очередной и не последний шаг приближения к реальности, имеющий, однако, очень важное практическое значение (Андреев Е.И.).
   Оказалось, что нетрадиционные физические эксперименты небезопасны. Никто не считал, сколько погибло изобретателей, по неопытности и незнанию прорубивших "окно" в параллельный мир слишком большое или не в том месте. Я призывал взяться за науку под названием "эфирная экология". Без прочных знаний в этой области браться за масштабную разработку нетрадиционных технологий неразумно. Мы не должны забывать о печальной судьбе гениальных открытий Николы Тесла.
   Сегодня у меня много единомышленников во всем мире. Но это единомыслие в большинстве случаев имеет общефилософскую направленность. Природа человеческого ума так субъективна, что каждый ученый-физик строит свою модель материи и пространства, являющуюся продуктом его индивидуального мировосприятия, но, как правило, без собственного эмпирического опыта. А это создает такую разноголосицу в методах и терминологии, в оценке чужих результатов. Тем более к ищущим физикам примкнули представители истинно эзотерических направлений. Все так запутались в противоречиях и разнообразии теорий, что это дало основание РАН принять постановление по борьбе с лженаукой. Разумеется, это не сила, а слабость РАН, доказавшей этим постановлением свою неспособность отделить зерна от плевел, нежелание взять на себя руководство научной работой в направлении новых фундаментальных открытий и становлении высшей физики. (Замечу, что современные нанотехнологии являются специфическим разделом высшей физики).
   Надеюсь, что приведенные в сборнике научные материалы помогут молодым ученым ориентироваться в дебрях бесплодных теорий. Известный отечественный ученый Лев Ландау утверждал, что физическую идею любой сложности можно объяснить на пальцах. Удалось ли это мне в отношении новой эмпирической концепции и предложенной модели материи и пространства? Судить Вам, уважаемый читатель.
  
   Когда эта книга была закончена, Провидение открыло мне путь в Интернет и указало на книги Дэвида Уилкока: "Сдвиг эпох", "Наука единства" и "Божественный Космос". Оказалось, у меня есть не только настоящий единомышленник, но и ученый, владеющий энциклопедической информацией по волнующим меня проблемам. Сравнение двух независимых мировоззрений, конечно, рождает вопросы и формирует новые направления исследований... Но пусть этим займутся мои потомки.

Приложение 1

О влиянии вращательного движения на диффузионные процессы в жидких средах

  
   Вращательное движение, образующее иеииерциальную систему отсче­та, до настоящего времени изучено не полностью. Это подтверждается фактическим материалом, накопленным в геофизике и астрофизике. По­пытки объяснить наблюдаемые физические явления на основе идей и методов класси­ческой гидромеханики не приносят успеха. Например, до сих пор не на­ходят убедительного объяснения явление суперротации в атмосфере пла­неты Венера, вековое замедление вращательного движения планет и звезд, теллурические токи и т.д.
   Наиболее серьезные попытки решить затронутую проблему были пред­приняты В. Старром, Дж. Ветчелором и П. Райнсом [1, 2]. Результаты этих работ, не выходящих за рамки устоявшихся физических представле­ний, были, тем не менее, настороженно встречены нашими специалистами, хотя сегодня есть все основания для уточнения основ механики враща­тельного движения. Например, экспериментальные и теоретические иссле­дования Э. Лейтуэла и Г.В. Талалаевского указывают на связь вращательного движения с характеристиками гравитационного поля. Правомочность исследований в этом направлении подтверждает известный опыт Эйнштейна - де Гааза, установивший влияние вращения физического тела на его микроскопические характеристики. Подобные закономерности де­монстрируют также нерегулярное изменение скорости вращения сверхте­кучих жидкостей в лабораторных опытах и поведение пульсаров.
   С другой стороны, согласно теореме Э. Нетер классические законы физики, включая законы сохранения, меняют свой вид в зависимости от типа симметрии пространства [3]. Известные нам законы соответствуют однородному пространству-времени. Кажется очевидным, что в системе координат, вращающейся вместе с механической системой, пространство в принципе не может быть изотропным. Этот факт нашел отражение в геофизике в виде так называемого ?-эффекта и может служить основани­ем для введения поправок в известные "изотропные" законы.
   Отмеченные выше и другие факты (например, эффект Ранка) наводят на мысль о более глубоком, чем это принято в физике и гидромеханике, принципиальном различии прямолинейного и криволинейного движений. Именно эти различия придают актуальность исследованиям процессов во вращающихся системах, в том числе и диффузионных.
   Как известно, через материки и океаны Земли текут теллурические токи переменной интенсивности. Хотя основная причина этого явления неизвестна, логично предположить, что эти токи порождаются анизо­тропной (в меридиональном направлении) диффузией ионов солей под воз­действием суточного вращения Земли.
   Для проверки данной гипотезы были поставлены специальные экспери­менты по следующей схеме. Цилиндрический сосуд, диаметром Д = 25 см, наполненный водой комнатной температуры и закрытый прозрачной крыш­кой, помещался в центре металлического прямоугольного экрана из фер­ромагнитного материала толщиной 5 мм и размером 0,6х0,5х1,7 м вдали от окон и радиаторов отопления. Предполагалось, что такой экран позволит исключить влияние на результаты опыта электромагнит­ных и неоднородных тепловых полей. Сосуд горизонтировался по уровню с точностью 0,2® и через 15 минут (время, необходимое для успоко­ения системы) точно над центром дна высыпались кристаллы КМnО4. В отдельных опытах использовалась также черная тушь.
   Дня получения демонстрационных диаграмм дно сосуда застилалось немелованной белой бумагой, прижимаемой небольшими грузиками. На та­кой бумаге под воздействием растекающейся соли остается хорошо заме­тный темнокоричневый след. Время выдержки составляло от 1 до 3 часов. Изотропная молекулярная диффузия протекает значительно медленнее (в течение суток и более).
   В результате длительных (в течение нескольких лет) экспериментов установлено.
   а). Диффузия тяжелых солей в цилиндрическом сосуде с водой первые 5 часов определяется специфическими внутренними течени­ями в жидкости. В результате марганцевокислый калий сносится по дну и во всем объеме жидкости в среднем на восток. Характерные диаграммы диффузии приведены на рисунке 1. Близкое к этому направление имеют теллурические токи в Баренцевом море [4]. В отличие от тяжелых солей взвеси (черная тушь) имеет тенденцию распро­страняться на запад. Такая же закономерность замечена в реальных оке­анах и морях [5].
   б). На направление диффузии оказывает влияние ориентация в гори­зонтальной плоскости прямоугольного экранирующего основания. Приведенные выше диаг­раммы получены при расположении длинной стороны экрана в направлении запад-восток. При повороте экрана на 90® эффект анизотропии не наблю­дается. Так как коаксиально симметричные круглые экраны менее эффективны, то необходимо сделать вывод, что протяженное металлическое основание под сосудом по неизве­стной покапричине увеличивает чувствительность экспериментальной установки.
  

 []

Рисунок 1

  
   в). Интенсивность и направление анизотропной диффузии испытывают значительные флуктуации от опыта к опыту. При неизменных лаборатор­ных условиях в отдельных редких случаях наблюдается изотроп­ная и даже обратная турбулентная диффузия.
   г). На характер изучаемых процессов не оказывают заметного влия­ния естественные и создаваемые искусственно электромагнитные поля. В то же время на поведение солей и взвесей влияют сосредоточенные источники света (электрические лампы накаливания), а также неоднородности гори­зонтального гравитационного поля (влияние стен помещения) и поля температур в окрестности испытываемого прибора.
   Совокупность приведенных результатов, а такие другие исследова­ния автора [6], позволяют отождествить статистические характеристики анизотропной диффузии с обнаруженными С.Э. Шнолем [7] флуктуациями физических процессов, обусловленными влиянием космофизических факторов. Если вспомнить о западном дрейфе электрического и магнитного по­лей Земли, то вырисовывается модель малоизученного случайного простра­нственно-временного поля, представляющего собой слабые возмущения ва­куума, постоянно смещающиеся на запад в условиях вращающейся Земли.
   Полученные результаты, на наш взгляд, дают основание для предпо­ложения, что большая соленость восточной части протяженного по дол­готе озера Балхаш (но сравнению о западной) обусловлена вращением Земли, хотя специалисты объясняют это только неравномерным расположе­нием источников соли.
   Анизотропная диффузия взвесей и солей в течение первых часов на­блюдается также в узких стеклянных трубках и каналах, свидетельствуя о том, что данное явление проявляет себя независимо от формы и масш­таба сосуда. В связи с этим оказалось заманчивым проверить наличие и интенсивность аналогичных процессов в объектах растительного мира. Для проверки лучше подходили долгоживущие растения - деревья мягких пород.
   Под Зеленогорском (г. Ленинград) на свежей просеке были изучены годовые кольца 38 спиленных сосен. Среднестатистический срез ствола показал, что вопреки распространенному мнению о более интенсивном росте годовых колец в южном направлении, в густом однородном лесу на равнинной местности максимум роста колец идет примерно на 30® к севе­ру от восточного направления (рисунок 2), т.е. совпадает с направлением анизотро­пной диффузии солей в лабораторных условиях. (Аналогичные результаты получены при обследовании спиленных в черте города старых тополей).
  


Рисунок 2

  
   Наблюдения показывают, что и ветви деревьев некоторых пород ис­пытывают влияние анизотропной диффузии. Например, кроны старых топо­лей в совершенно безветренную погоду несут на себе отпечаток запад­ного "ветра", а стволы деревьев в Северном полушарии скручены против часовой стрелки (рисунок 3). Замечено, что деревья твердых пород на враще­ние Земли практически не реагируют.
  

З
В

Рисунок 3

  
   Из изложенного следует, что причиной анизотропной диффузии явля­ется вращение Земли и связанные с этим сверхмедленные потоки внутри жидкости. Как постулировано в предыдущей работе автора [6], внутрен­няя неустойчивость вращающейся жидкости вызывается силой роторного торможения, обусловленной взаимодействием системы с реальным физиче­ским вакуумом. Таким образом, рассмотренное явление - это одно из проявлений новой фундаментальной характеристики вращательного движе­ния.
   Представляет значительный интерес изучение явления диффузии и других анизотропных явлений в условиях невесомости и при больших, чем в случае Земли, угловых скоростях, т.е. в условиях космического ко­рабля. Целесообразно проведение и натурного эксперимента в большом водном бассейне с наблюдением из космоса.
  

ЛИТЕРАТУРА

  
      -- Старр В. Физика явлений с отрицательной вязкостью. М.: "Мир", 1971.
      -- Rhines P. Waves and turbulence on a ?-plane. "I. Fluid Mech.", 69, 1975, p. 417-443.
      -- Барашенков В.С. Проблемы субатомного пространства и времени. -М.: Атомиздат, 1979.
      -- Шулейкин В.В. Физика моря. - М.: "Наука", 1963.
      -- Монин А.С, Озмидов Р.В. Океанская турбулентность. - Л.: Гидрометеоиздат, 1961.
      -- Мишин А.М. Феноменологическая модель неустойчивости в геофизи­ческой гидродинамике. - Деп. в ЦИВТИ МО СССР, N Д7380, Д7381. -Опубл. в УПИМ ЦИВТИ МО, 1985, вып. N 3, сер. Б. - 29 с.
      -- Шноль С.Э. и др. Дискретные спектры амплитуд (гистограммы) ма­кроскопических флуктуаций в процессах различной природы. - Пущино (препринт/ИБФ АН СССР): Б.Л., 1985. - 39 с.
  

Приложение 2

Список опубликованных автором трудов

  
      -- Мишин А.М. Индуктивный пробник // Радио, 1961, N 8, с. 51.
      -- Мишин А.М. Сверхрегенератор с повышенной чувствительностью // Радио, 1962, N 5, с. 15-16.
      -- Мишин А.М. Применение полупроводниковых диодов в качестве элемента хронирующего звена // Радиотехника, 1962, т. 17, N 6,
    с. 54-59.
      -- Мишин А.М. Стабилизирующее действие диодов в зарядно-разрядных цепях // Радио, 1963, N 10, с. 7-9.
      -- Мишин А.М. Способ получения релейного эффекта. Авторское свидетельство СССР на изобретение N 174723 от 5.08.64 г.
      -- Мишин А.М. Нелинейное формирование на плоскостных диодах // Радиотехника, 1964, т. 19, N 8, с. 53-58.
      -- Мишин А.М. Свойства ограничителей, использующих эффект насыщения p-n перехода // Радиотехника, 1964, т. 19, N 10, с. 56-62.
      -- Мишин А.М. Ошибки доплеровской системы в измерении угловой скорости за счет интерференционных помех // Военная радиоэлектроника, 1964, N 12, с. 23-27.
      -- Мишин А.М. К анализу ошибок в измерении угловой скорости (метод кратных узлов) // Военная радиоэлектроника, 1965, N 5,
    с. 15-19
      -- Мишин А.М. Исследование точности многоканальных доплеровских систем на основе опыта полигонных испытаний. Кандидатская диссертация. - МО СССР, 1965. - 232 с.
      -- Мишин А.М. Погрешности за счет дискретных помех при измерении частоты фазовым методом // Радиотехника, 1966, т. 21, N 7, с. 60-65.
      -- Мишин А.М., Закурнаев М.С. Помехи от преобразователей частоты в многоканальной доплеровской системе // Военная радиоэлектроника, 1966, N 10, с. 29-33.
      -- Мишин А.М. Эффект кажущегося углового смещения источника радиоволн, размещенного на ракете, при выключении ракетного двигателя // Военная радиоэлектроника, 1967, N 14, с. 11-15.
      -- Мишин А.М. Влияние пространственных неоднородностей, образующихся при работе ТРД, на точность интерферометрической системы. Труды НТК ЛВИКА им. А.Ф. Можайского 4- 7 мая, 1967, N 184525.
      -- Мишин А.М. Фазо-частотные искажения сигнала изменяющейся частоты при последовательном прохождении через нелинейную и широкополосную линейную системы // Радиотехника, 1968, т. 23, N 2, с. 7-13.
      -- Мишин А.М. Оценка нелинейных искажений при помощи измерителя частотных характеристик // Измерительная техника, 1969, N 6, с. 90.
      -- Мишин А.М. Амплитудно-фазовые соотношения в устройстве преобразования u(t) ? ?(t) // Радиотехника, 1969, т. 24, N 10, с. 95-97.
      -- Мишин А.М. О восстановлении огибающей биений, заданных дискретно с шагом, большим периода несущей // Радиотехника, 1970, т. 25, N 10, с. 92-94.
      -- Мишин А.М. Комбинационные помехи при преобразовании сигналов с изменяющимися частотами // Радиотехника, 1971, т. 26, N 2, с. 83-86.
      -- Мишин А.М. Анализ погрешностей в измерении угловых скоростей по результатам испытаний интерферометрической радиосистемы. Труды НТК ЛВИКА им. А.Ф. Можайского 26-28 октября, 1971, N 204931.
      -- Мишин А.М. Цифровой измеритель частоты как фильтр //Автометрия, 1972, N 2, с. 55-62.
      -- Мишин А.М. Погрешности фазовой угломерной радиосистемы, вызванные влиянием турбулентной атмосферы. Труды 55-ой НТК ВА им. Ф.Э. Дзержинского 15-16 ноября, 1973, N 224575.
      -- Мишин А.М. Оценка параметров гармонической помехи по реакции цифрового фильтра // Радиотехника, 1974, т. 29, N 4, с. 24-29.
      -- Мишин А.М. Флуктуации разности фаз и ее производной при распространении радиоволн в турбулентной атмосфере // Радиотехника, 1977, т. 32, с. 31-36.
      -- Мишин А.М., Калиновская Н.С., Келин В.И. Учебный прибор по оптике. Авторское свидетельство СССР на изобретение, N 3801895 от 29.07.85.
      -- Мишин А.М. Феноменологическая модель неустойчивости в геофизической гидродинамике. Деп. в ЦИВТИ МО СССР, N Д7380, Д7381. - Опубл. В УПИМ ЦИВТИ МО, 1985, вып. N 3, сер. Б. -
    29 с.
      -- Мишин А.М. О влиянии вращательного движения на диффузионные процессы в жидких средах. Труды 18-х Гагаринских чтений 4-8 апреля ИПМ АН СССР, 1988.
      -- Мишин А.М. Гипотеза о всемирном "самоторможении" вращающихся гидродинамических систем. Деп. рукопись. - Л.: ВИКИ им. А.Ф. Можайского, 1988, N 255967. - 44 с.
      -- Мишин А.М. О новых свойствах физического вакуума, гравитационного поля и массы. - МО СССР, 1988. - 44 с.
      -- Мишин А.М. О макроскопической механике физического вакуума. В сб. Развитие классических методов исследования в естествознании. Серия "Проблемы исследования Вселенной", вып. 17. - СПб.: РАН, 1994, с. 94-99.
      -- Мишин А.М. Результаты эксперимента по регистрации эфирного ветра.В сб. Новые идеи в естествознании. Серия "Проблемы исследования Вселенной", вып. 18. - СПб.: РАН, 1995, с. 24-33.
      -- Mishin А.М. The Ether Model as Result of the New Empirical Conception Part 1 "Physical". - St.-Petersburg: RAS, 1996, p. 95-104.. New Ideas in Natural Sciences. (On Materials International Conference).
      -- Мишин А.М. Многомерные физические системы. В сб. Инициатива. - СПб.: Изд-во "Механобр", 1997, N 3, с. 7-20.
      -- Мишин А.М. Новые свойства и возможности автоколебательной системы // Физическая мысль России, 1998, N 1, с. 33-55.
      -- Мишин А.М. Фундаментальные свойства эфира. В сб. Фундаментальные проблемы естествознания. Серия "Проблемы исследования Вселенной", вып. 21,-СПб.: РАН, 1999, с. 176-178.
      -- Мишин А.М. Концептуальные основы психофизики // Парапсихология и психофизика (специальный выпуск), 1999, N 2 (28),
    с. 21-22.
      -- Мишин А.М. Экспериментальные доказательства гидродинамических свойств эфира. Вестник "Международная Академия".- СПб.: МАИСУ, 2000, N 1-4с, с. 9-17.
      -- Мишин А.М. Таинственный многоликий эфир // "МОСТ". - СПб.: Изд-во "ОВИЗО", 2000. N 2, с. 54-56.
      -- Mishin А.М. The Physical System of Artificial Biofield // "New Energy Technologies". - SPb: Faraday Lab Ltd, 2001, N1, p.45-50.
      -- Мишин А.М. Физическая система с искусственным биополем. В сб. Фундаментальные проблемы естествознания и техники (Труды Конгресса-2000). Серия "Проблемы исследования Вселенной", вып. 23. - СПб.: Изд-во СПбГУ, 2001. с. 258-269.
      -- Мишин А.М. Физика параллельных миров. Там же, с. 270-274.
      -- Мишин А.М. Антигравитация и новые энергетические процессы. Там же, с. 275-283.
      -- Mishin А.М. The Main Principle of Etherodynamics // "New Energy Technologies". - SPb: Faraday Lab Ltd, 2001, N2, p.32-36.
      -- Мishin А.М. Antigravitation and New Energy Processes // "New Energy Technologies". - SPb: Faraday Lab Ltd, 2001, N2, p.37-41.
      -- Shpitalnaya A.A., Mishin А.М. Pulkovsky Radio-Telescope Receives the Signals from the Center of the Universe // "New Energy Technologies". - SPb: Faraday Lab Ltd, 2002, N1(4), p.37.
      -- Мishin А.М. Longitudinal Thermomagnetic Effect // "New Energy Technologies". - SPb: Faraday Lab Ltd, 2002, N2 (5), p.38-41.
      -- Mishin А.М. Fundamental Properties of Aether // "New Energy Technologies". - SPb: Faraday Lab Ltd, 2002, N3 (6), p.36-37.
      -- Мishin А.М. Matter, Space and Time in Conception of Aether Field // "New Energy Technologies". - SPb: Faraday Lab Ltd, 2002, N6,
    p.35-36.
      -- Мишин А.М. "Многоэтажные" мысли. Газета "Аномалия", 2002, N 11-12 (263-264), с.2-5.
      -- Mishin А.М. Aether as Unified Field // "New Energy Technologies". - SPb: Faraday Lab Ltd, 2003, N3, p.52-55.
      -- Мишин А.М. Основной закон эфиродинамики. В сб. Фундаментальные проблемы естествознания и техники (Труды Конгресса-2002). Серия "Проблемы исследования Вселенной", вып. 26, ч. III. - СПб.: Изд-во СПбГУ, 2003, с. 206-218.
      -- Мишин А.М. Продольный термомагнитный эффект. Там же,
    с. 219-228.
      -- Мишин А.М. Эфир как единое поле. В сб. Фундаментальные проблемы ес­тествознания и техники. Серия "Проблемы исследования Вселенной", вып. 27. - СПб.: Изд-во "Акционер и К®", 2004,
    с. 313-322.
      -- Мишин А.М. Получено "темное вещество", решающее космические проблемы. В сб. Фундаментальные проблемы естествознания и техники (Труды Конгресса-2004). Серия "Проблемы исследования Вселенной", вып. 28. - СПб.: Изд-во "Акционер и К®", 2004, с. 269-277.
      -- Мишин А.М. Эмпирическая модель Вселенной со Звездой Абсолюта в Центре. В сб. Фундаментальные проблемы естествознания и техники. Се рия "Проблемы исследования Вселенной", вып. 29, ч. II. - СПб.: Изд-во "Осипов", 2005, с. 178-195.
      -- Шпитальная А.А., Мишин А.М. Космические энергетические каналы и солнечная активность. Там же, с. 417-431.
      -- Мишин А.М. Эфиродинамические источники энергии Солнца. В сб. Фундаментальные проблемы естествознания и техники. Серия "Проблемы исследования Вселенной", вып. 30. - СПб.: Изд-во "Осипов", 2006, с. 98-107.
      -- Мишин А.М. Парафизическая взаимосвязь космических тел. Тезисы докладов Конгресса-2006 "Фундаментальные проблемы естествознания и техники". - СПб.: Изд-во "Осипов", 2006, с. 46-47.
      -- Мишин А.М. Многомерная динамика Вселенной и координаты активного центра вращения. В сб. Фундаментальные проблемы естествознания и техники. Серия "Проблемы исследования Вселенной", вып. 32. - СПб.: Изд-во "Осипов", 2007, с. 211-223.
      -- Мишин А.М. Многолетние наблюдения нетрадиционного излучения Центра Вселенной. Фундаментальные проблемы естествознания и техники. Серия "Проблемы исследования Вселенной", вып. 33, книга 1. - СПб.: Изд-во "Невская жемчужина", 2008, с. 370-378.
      -- Мишин А.М. Принцип билокального действия. Тезисы докладов Конгресса-2008 "Фундаментальные проблемы естествознания и техники", Санкт-Петербург, 5-9 августа. - СПб.: Изд-во "Невская жемчужина", 2008, с. 34-35.
   62. Мишин А.М. Нетрадиционные проблемы экологии. ХХХVII кон-
   ференция "Математическое моделирование в проблемах рациона-
   льного природопользования". - Ростов-на Дону: Изд-во ЮФУ,
   2009, с. 121-122.
  

Приложение 3

Публикации об открытии Мишиным А.М. Центра Вселенной

  
      -- Efimov A. A., Shpitalnaya A.A. Comments on the Works by dr. Mishin // "New Energy Technologies". - SPb: Faraday Lab Ltd, 2001, N 2, p. 36.
      -- On the Center of the Universe // "New Energy Technologies". - SPb: Farаday Lab Ltd, 2001, N3, p.5.
      -- Frolov A.V. The Center of the Universe, which Controls Activity of the Sun and the Earth, has been Discovered // "New Energy Technologies". - SPb: Faraday Lab Ltd, 2002, N2 (5), p.13.
      -- Cырченко Т.М. Впервые об открытии! Обнаружен "центр", управляющий активностью Солнца. - Газета "Аномалия", 2002, N 4(256), с. 2.
      -- Александров М. Центр Вселенной сообщает...// Свет. Природа и человек, 2004, N 3, с. 23.
      -- Шпитальная А.А. О свойствах Центра Вселенной, открытого А.М. Мишиным. Тезисы докладов Конгресса-2008 "Фундаментальные проблемы естествознания и техники", Санкт-Петербург, 5-9 августа. - СПб.: Изд-во "Невская жемчужина", 2008, с. 45-46.
      -- Кривошей М.И. Влияние открытого Мишиным излучения Центра Вселенной на процессы в Солнечной системе. В сб. Фундаментальные проблемы естествознания и техники. Серия "Проблемы исследования Вселенной", книга 1, вып. 33. - СПб.: Изд-во "Невская жемчужина", 2008, с. 265-271.
      -- Кривошей М.И. Влияние солнечной активности и галактических космических лучей на катастрофы. В сб. Фундаментальные пробдемы естествознания и техники. Серия "Проблемы исследования Вселенной", вып. 32. - СПб.: Изд-во "Невская жемчужина", 2007, с. 146-166.
  
  
  
  
  
  
  
  
  
  
  
  
  
  
  
  
  
  
  
  
   Мишин Александр Михайлович
   E-mail: [email protected]
  
   НАЧАЛА ВЫСШЕЙ ФИЗИКИ
   Сборник статей
  
   ISBN 978-5-98905-011-6
  
  
   Литературный редактор: Мишин А.М.
   Компьютерная верстка: Мишин С.А.
  
  
  
  
  
  
  
   Подписано в печать 09.01.09. Формат 60в90 1/16
   Гарнитура Таймс. Печать офсет.
   Усл. печ. л. 16,9 Бум. Офсетная
   Тираж 100 экз. Заказ 01/09.
  
  
  
  
   Малая оперативная полиграфия
   Автономной некоммерческой организации
   Научно-технический центр имени Л.Т. Тучкова
  
  
  
  
  
  
  
  
   Этот термин используется в моих первых публикациях вместо "эфира" исключительно под цензурным давлением.
   Эта модель требует пересмотра после открытия основного закона эфиродинамики.
   ? Напомним, что гравитационные волны, изучаемые в современной теории, в нашу концепцию не входят.
   Из дальнейшего изложения станет ясно, что юго-западный эфирный ветер образуется по основному закону эфиродинамики.
   Потенциальный мир - это подпространство с виртуальной материальностью, т.е. с результирующим нулевым моментом импульса и нулевой спиральностью. В квазивещественном параллельном мире эти характеристики имеют конкретные значения.
  
   * После открытия узких каналов энергоемкого эфира между космическими телами трактовка зарегистрированных сигналов должна быть пересмотрена
    Контакты отдельных представителей человечества с Высшим Разумом, безусловно, существуют (ченнелинг, НЛО и др.), но отсутствуют ясные представления о физической природе источника информации и других редких феноменах. Есть предположения, что инопланетяне избегают общения с нами по Высшим мотивам.
  
   Соавтор А.А. Шпитальная.
   Конструкторам следует учитывать, что "блин комом" может получиться не только на кухне, но и при первом испытании любых технических систем и приборов.
   См. статью "Сверхфизическая взаимосвязь космических тел"
  
    Соавтор А.А. Шпитальная, исследовавшая влияние космических нетрадиционных излучений на Солнце и другие объекты Вселенной.
   Доклад автора на 18-х Гагаринских чтениях в ИПМ АН СССР, апрель 1988 г.
  
  
  
  
  
  
  
  
  
  
   274
  
  
  
  
  
   1
  
  
  
  
   274
  
  
  
  
  
  
  
  

а)

  
  
  

б)

  
  
   а)
  
   б)
  
   Рисунок 5
  
  
   Рисунок 7
  
  
  

Оценка: 4.86*15  Ваша оценка:

Связаться с программистом сайта.

Новые книги авторов СИ, вышедшие из печати:
О.Болдырева "Крадуш. Чужие души" М.Николаев "Вторжение на Землю"

Как попасть в этoт список

Кожевенное мастерство | Сайт "Художники" | Доска об'явлений "Книги"